вконтакте

Контактный телефон: +7 (981) 121-46-93, +7 (800) 200-90-76 , Email: parts-katalog@yandex.ru, где купить

 
 

  Логин:

Пароль:

Регистрация

www.partskatalog.ru Все каталоги Запчасти Mercury Запчасти Suzuki Запчасти Tohatsu Запчасти Honda Контакты


Все разделы каталога запчастей на этот двигатель

назад Раздел:   вперёд

вернуться к списку узлов и деталей

ДЕТАЛИРОВКА ДЛЯ МОДЕЛИ: EVINRUDE TE40ELEIA 1991

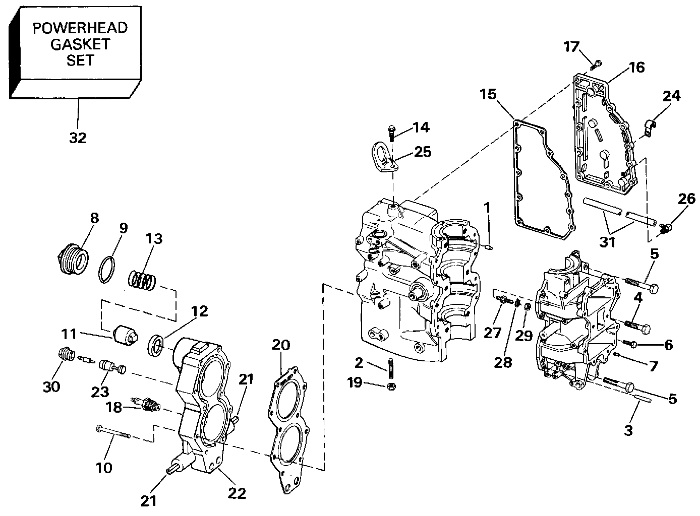
ЦИЛИНДР & КАРТЕР ДВИГАТЕЛЯ | CYLINDER & CRANKCASE;


Лодочный подвесной мотор Эвинруд TE40ELEIA 1991  - linder & Crankcase / linder & Картер двигателя

Номер на
рисунке
АртикулНаименованиеКол-во
на складе
Цена
0398872 0398872

Цилиндр & CCASE в сборе.. Not Shown All 40 Models (CYLINDER & CCASE ASSY.. Not Shown All 40 Models)

нет в наличии, поставок нет
0398872 0434587

   (последний код) CYL.&C/CASE-AY

нет в наличии, поставок нет
0397517 0397517

Цилиндр & CCASE в сборе.. Not Shown All 50 Models (CYLINDER & CCASE ASSY.. Not Shown All 50 Models)

нет в наличии, поставок нет
1 0304178

Шпонка, Подшипник (DOWEL PIN, Bearing)

нет в наличии, поставок нет
2 0314616

Шпилька, Cyl. to Адаптер (STUD, Cyl. to adaptor)

нет в наличии, поставок нет
2 0324811

   (последний код) STUD-CYL

нет в наличии, поставок нет
3 0305070

конус Штифт (TAPER PIN)

нет в наличии, поставок нет
4 0308747

Винт, Ccase to cy. (SCREW, Ccase to cy.)

нет в наличии, поставок нет
5 0308752

Винт, Main brg. верх и низ (SCREW, Main brg. upper & lower)

нет в наличии, поставок нет
6 0308742

Винт, Ccase to cyl (SCREW, Ccase to cyl)

нет в наличии, поставок нет
6 3852080

   (последний код) SCREW

нет в наличии, поставок нет
7 0321164

Заглушка, Pulse hole, Шнур start (PLUG, Pulse hole, rope start)

нет в наличии, поставок нет
7 0307544

   (последний код) PLUG

нет в наличии, поставок нет
8 0332944

Заглушка, Термостат (PLUG, Thermostat)

нет в наличии, поставок нет
9 0331188

Уплотнительное кольцо крышки термостата (O-RING, Thermostat cover)

5 шт370 руб.
10 0322323

Винт, Головка блока цилиндра (SCREW, Cylinder head)

нет в наличии, поставок нет
11 0433379

Термостат в сборе. (THERMOSTAT ASSY.)

нет в наличии, поставок нет
11 0432759

   (последний код) THERMO.&SEAT

нет в наличии, поставок нет
12 0334742

Прокладка, Термостат (GASKET, Thermostat)

нет в наличии, поставок нет
13 0331186

Пружина давления relief (SPRING, Pressure relief)

нет в наличии, поставок нет
14 0314515

Винт, Lift Кронштейн (SCREW, Lift bracket)

нет в наличии, поставок нет
15 0325211

Прокладка, Water passage (GASKET, Water passage)

нет в наличии, поставок нет
16 0433561

Крышка, Water passage (COVER, Water passage)

нет в наличии, поставок нет
16 0437506

   (последний код) COVER & PLUG AY

нет в наличии, поставок нет
17 0302288

Винт, Крышка (SCREW, Cover)

нет в наличии, поставок нет
17 3852043

   (последний код) SCREW

нет в наличии, поставок нет
18 0432981

Свеча зажигания, Champion, QL78C (SPARK PLUG, Champion, QL78C)

нет в наличии, поставок нет
18 0502179

   (последний код) Champion SPARK PLUG QL78C MAR4

нет в наличии, поставок нет
19 0315204

Гайка, Шпилька (NUT, Stud)

нет в наличии, поставок нет
19 0316355

   (последний код) NUT

нет в наличии, поставок нет
20 0335359

Прокладка головки блока цилиндра (GASKET, Cylinder head)

нет в наличии, поставок нет
20 0327795

   (последний код) CYL HD GASKET

нет в наличии, поставок нет
21 0332406

Штифт, Roll, Крепление (PIN, Roll, mount)

нет в наличии, поставок нет
22 0432618

Головка блока цилиндра. All 40 Models (CYLINDER HEAD. All 40 Models)

нет в наличии, поставок нет
22 0432619

Головка блока цилиндра. All 50 Models (CYLINDER HEAD. All 50 Models)

нет в наличии, поставок нет
23 0583441

температура Переключатель (TEMPERATURE SWITCH)

нет в наличии, поставок нет
23 0584592

   (последний код) SWITCH,TEMP-TAN

нет в наличии, поставок нет
24 0330151

Струбцина, Шланг (CLAMP, Hose)

нет в наличии, поставок нет
24 3852199

   (последний код) CLAMP,"J"

нет в наличии, поставок нет
25 0326023

LIFT Кольцо (LIFT RING)

нет в наличии, поставок нет
26 0331894

ELBOW, Индикатор (ELBOW, Indicator)

нет в наличии, поставок нет
27 0330143

Шпилька, Double ended (STUD, Double ended)

нет в наличии, поставок нет
27 0311328

   (последний код) BOLT

нет в наличии, поставок нет
28 0328701

Шайба, Шпилька (WASHER, Stud)

нет в наличии, поставок нет
28 3852182

   (последний код) WASHER,LOCK

нет в наличии, поставок нет
29 0328740

Гайка (NUT)

нет в наличии, поставок нет
29 0306375

   (последний код) NUT

нет в наличии, поставок нет
30 0329562

Крышка, Temp. Переключатель (COVER, Temp. switch)

нет в наличии, поставок нет
31 0

Шланг, Overboard Индикатор, 28". сокращёная длина from 310828 - 100ft. (76m) Roll, 1 / 4 дюйм I.D (HOSE, Overboard indicator, 28". Cut to Length from 310828 - 100ft.(76m) Roll, 1/4 in. I.D)

нет в наличии, поставок нет
32 0393433

POWERHEAD Комплект прокладок (POWERHEAD GASKET SET)

нет в наличии, поставок нет
32 0439083

   (последний код) GASKET SET, PWHD

нет в наличии, поставок нет
evinrude

Время выполнения запроса 0.90096116065979 сек.


 
 

данный сайт носит информационный характер и не является публичной офертой

склад запчастей для водомоторной техники