вконтакте

Контактный телефон: +7 (981) 121-46-93, +7 (800) 200-90-76 , Email: parts-katalog@yandex.ru, где купить

 
 

  Логин:

Пароль:

Регистрация

www.partskatalog.ru Все каталоги Запчасти Mercury Запчасти Suzuki Запчасти Tohatsu Запчасти Honda Контакты


Все разделы каталога запчастей на этот двигатель

назад Раздел:   вперёд

вернуться к списку узлов и деталей

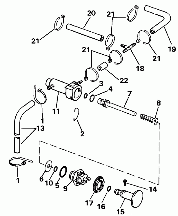
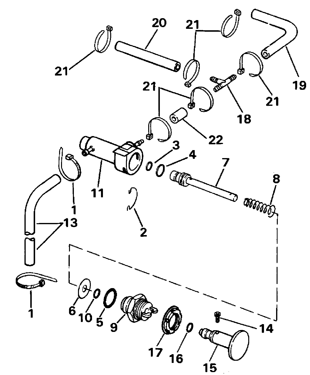
ДЕТАЛИРОВКА ДЛЯ МОДЕЛИ: EVINRUDE E35RLEIC 1991

PRIMER SYSTEM | PRIMER SYSTEM;


Лодочный мотор Эвинруд E35RLEIC 1991  - imer System / imer System

Номер на
рисунке
АртикулНаименованиеКол-во
на складе
Цена
1 0320107

Крепёжный хомут, Шланг, carb. to primer (TIE STRAP, Hose, carb. to primer)

нет в наличии, поставок нет
1 5035626

   (последний код) BAND,REM CON

нет в наличии, поставок нет
0432142 0432142

Топливная груша.. Not Shown (PRIMER PUMP ASSY.. Not Shown)

нет в наличии, поставок нет
2 0326338

Фиксатор (RETAINER)

нет в наличии, поставок нет
3 0331365

Уплотнительное кольцо (O-RING)

нет в наличии, поставок нет
3 0326721

   (последний код) O-RING

нет в наличии, поставок нет
4 0331364

Кольцо, Quad (RING, Quad)

нет в наличии, поставок нет
4 0326346

   (последний код) O-RING

нет в наличии, поставок нет
5 0331366

Уплотнительное кольцо (O-RING)

нет в наличии, поставок нет
6 0326334

Шайба, Уплотнительное кольцо Фиксатор (WASHER, O-ring retainer)

нет в наличии, поставок нет
7 0432143

Плунжер & Клапан в сборе. (PLUNGER & VALVE ASSY.)

нет в наличии, поставок нет
7 0396816

   (последний код) PLUNGER&VALV

нет в наличии, поставок нет
8 0333540

Пружина (SPRING)

нет в наличии, поставок нет
8 0326336

   (последний код) SPRING

нет в наличии, поставок нет
9 0432145

END Колпачок в сборе (END CAP ASSY.)

нет в наличии, поставок нет
9 0398869

   (последний код) END-CAP&O-RI

нет в наличии, поставок нет
10 0333639

Уплотнительное кольцо (O-RING)

нет в наличии, поставок нет
11 0394337

Корпус & Ниппель в сборе. (HOUSING & NIPPLE ASSY.)

нет в наличии, поставок нет
13 0331674

Шланг, Carb. to primer (HOSE, Carb. to primer)

нет в наличии, поставок нет
13 0332117

   (последний код) HOSE-PRIMER

нет в наличии, поставок нет
13 0

Шланг, Carb. to primer 7 1 / 2 дюйм (190 мм), 25 - 30. сокращёная длина From 327228 - 5 / 32 дюйм I.D., 25 фут (7, 6m) Roll (HOSE, Carb. to primer 7 1/2 in. (190mm), 25 - 30. Cut to Length From 327228 - 5/32 in. I.D., 25 ft. (7,6m) Roll)

нет в наличии, поставок нет
14 0329054

Винт, Primer Ручка (SCREW, Primer knob)

нет в наличии, поставок нет
15 0334365

Ручка, Топливная груша. (KNOB, Primer pump assy.)

нет в наличии, поставок нет
16 0330992

Уплотнительное кольцо, Primer Ручка (O-RING, Primer knob)

нет в наличии, поставок нет
17 0335573

Гайка, Primer Помпа (NUT, Primer pump)

нет в наличии, поставок нет
18 0325569

TEE, Primer Шланг (TEE, Primer hose)

нет в наличии, поставок нет
19 0

Шланг, Tee to carb., 4 дюйм (102 мм), 20. сокращёная длина From 327229 - 0.0575 дюйм I.D., 25 фут (7, 6m) Roll (HOSE, Tee to carb., 4 in. (102mm), 20. Cut to Length From 327229 - 0.0575 in. I.D., 25 ft. (7,6m) Roll)

нет в наличии, поставок нет
19 0

Шланг, Tee to carb. 8 дюйм (203 мм), 25 - 30. сокращёная длина From 327229 - 0.0575 дюйм I.D., 25 фут (7, 6m) Roll (HOSE, Tee to carb. 8 in. (203mm), 25 - 30. Cut to Length From 327229 - 0.0575 in. I.D., 25 ft. (7,6m) Roll)

нет в наличии, поставок нет
20 0

Шланг, Tee to Коллектор 2 1 / 4 дюйм (57 мм) сокращёная длина From 327229 - 0.0575 дюйм I.D., 25 фут (7, 6m) Roll (HOSE, Tee to manifold 2 1/4 in. (57mm). Cut to Length From 327229 - 0.0575 in. I.D., 25 ft. (7,6m) Roll)

нет в наличии, поставок нет
21 0317893

Крепёжный хомут (TIE STRAP)

нет в наличии, поставок нет
21 3852149

   (последний код) TIE-STRAP

нет в наличии, поставок нет
22 0

Шланг, Primer to tee 4 дюйм (102 мм) сокращёная длина From 327229 - 0.0575 дюйм I.D., 25 фут (7, 6m) Roll (HOSE, Primer to tee 4 in. (102mm). Cut to Length From 327229 - 0.0575 in. I.D., 25 ft. (7,6m) Roll)

нет в наличии, поставок нет
evinrude

Время выполнения запроса 0.47304701805115 сек.


 
 

данный сайт носит информационный характер и не является публичной офертой

склад запчастей для водомоторной техники