вконтакте

Контактный телефон: +7 (981) 121-46-93, +7 (800) 200-90-76 , Email: parts-katalog@yandex.ru, где купить

 
 

  Логин:

Пароль:

Регистрация

www.partskatalog.ru Все каталоги Запчасти Mercury Запчасти Suzuki Запчасти Tohatsu Запчасти Honda Контакты


Все разделы каталога запчастей на этот двигатель

назад Раздел:   вперёд

вернуться к списку узлов и деталей

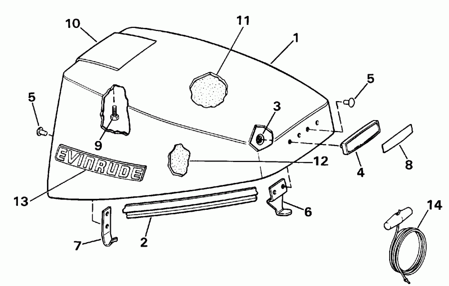
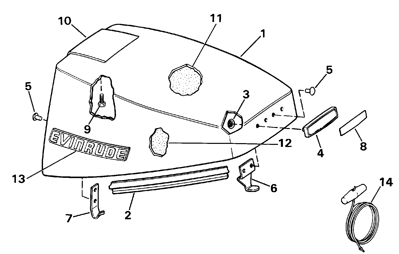
ДЕТАЛИРОВКА ДЛЯ МОДЕЛИ: EVINRUDE E15REIA 1991

КРЫШКА ДВИГАТЕЛЯ (КАПОТ) - EVINRUDE | ENGINE COVER - EVINRUDE;


Подвесной лодочный мотор EVINRUDE E15REIA 1991  - Evinrude

Номер на
рисунке
АртикулНаименованиеКол-во
на складе
Цена
1 0283541

Крышка двигателя (капот) в сборе.. 9.9 Models (ENGINE COVER ASSY.. 9.9 Models)

нет в наличии, поставок нет
1 0283643

   (последний код) MOTOR-COVER

нет в наличии, поставок нет
1 0283543

Крышка двигателя (капот) в сборе.. 10SEL Models (ENGINE COVER ASSY.. 10SEL Models)

нет в наличии, поставок нет
1 0283541

   (последний код) COVER AY,MOTOR-

нет в наличии, поставок нет
1 0283906

Крышка двигателя (капот) в сборе.. 15 Models (ENGINE COVER ASSY.. 15 Models)

нет в наличии, поставок нет
1 0283739

   (последний код) MTR-CVR-15HP

нет в наличии, поставок нет
1 0284057

Крышка двигателя (капот) в сборе.. TE Models (ENGINE COVER ASSY.. TE Models)

нет в наличии, поставок нет
1 0283835

   (последний код) COVER AY,MOTOR-UPR

нет в наличии, поставок нет
2 0331867

Резинка капота двигателя (SEAL, Engine cover)

нет в наличии, поставок нет
2 0332823

   (последний код) SEAL,MOTOR COVER

нет в наличии, поставок нет
3 0317223

Гайка, Push-on (NUT, Push-on)

нет в наличии, поставок нет
4 0211163

Рама, Front (FRAME, Front)

нет в наличии, поставок нет
4 0334864

Рама, Front. TE Models (FRAME, Front. TE Models)

нет в наличии, поставок нет
5 0318836

Заклёпка, Крючок to Крышка (RIVET, Hook to cover)

нет в наличии, поставок нет
6 0396886

Крючок спереди (Includes № 5) (HOOK, Front (Includes No. 5))

нет в наличии, поставок нет
7 0391124

Крючок, Rear (Includes № 5) (HOOK, Rear (Includes No. 5))

нет в наличии, поставок нет
7 0318881

   (последний код) HOOK

нет в наличии, поставок нет
8 0211159

Пластина, Рама, front (PLATE, Frame, front)

нет в наличии, поставок нет
8 0211422

Пластина, Рама, front. TE Models (PLATE, Frame, front. TE Models)

нет в наличии, поставок нет
9 0330838

Винт (SCREW)

нет в наличии, поставок нет
9 0329268

   (последний код) SCREW

нет в наличии, поставок нет
10 0331134

Рукоятка наклона (TILT HANDLE)

нет в наличии, поставок нет
11 0335597

SOUND BLANKET, Top (SOUND BLANKET, Top)

нет в наличии, поставок нет
12 0335598

SOUND BLANKET, Side (SOUND BLANKET, Side)

нет в наличии, поставок нет
14 0433824

Шнур стартера. TE Models (STARTER ROPE. TE Models)

нет в наличии, поставок нет
0211625 0211625

OWNERS ручной, Ev.. Not Shown 4-Language ручной (English, Spanish, French, Portuguese) (OWNERS MANUAL, Ev.. Not Shown 4-Language Manual (English, Spanish, French, Portuguese))

нет в наличии, поставок нет
0211625 8021890

   (последний код) OM10/15 211625

нет в наличии, поставок нет
0211626 0211626

OWNERS ручной, Ev.. Not Shown 7-Language ручной (German, Italian, Swedish, Dutch, Danish, Norwegian, Finnish) (OWNERS MANUAL, Ev.. Not Shown 7-Language Manual (German, Italian, Swedish, Dutch, Danish, Norwegian, Finnish))

нет в наличии, поставок нет
0211626 8021845

   (последний код) OM10/157L211465

нет в наличии, поставок нет
0211627 0211627

OWNERS ручной, Ev.. Not Shown 4-Language ручной (English, Spanish, French, Portuguese) TE Models (OWNERS MANUAL, Ev.. Not Shown 4-Language Manual (English, Spanish, French, Portuguese) TE Models)

нет в наличии, поставок нет
0211627 8021888

   (последний код) OM10/15RE211627

нет в наличии, поставок нет
0211628 0211628

OWNERS ручной, Ev.. Not Shown 7-Language ручной (German, Italian, Swedish, Dutch, Danish, Norwegian, Finnish) TE Models (OWNERS MANUAL, Ev.. Not Shown 7-Language Manual (German, Italian, Swedish, Dutch, Danish, Norwegian, Finnish) TE Models)

нет в наличии, поставок нет
0283751 0283751

Комплект наклеек. Not Shown 9.9 Models (DECAL SET. Not Shown 9.9 Models)

нет в наличии, поставок нет
0283752 0283752

Комплект наклеек. Not Shown 10SEL Models (DECAL SET. Not Shown 10SEL Models)

нет в наличии, поставок нет
0283753 0283753

Комплект наклеек. Not Shown 15 Models (DECAL SET. Not Shown 15 Models)

нет в наличии, поставок нет
0284089 0284089

Комплект наклеек. Not Shown TE Models (DECAL SET. Not Shown TE Models)

нет в наличии, поставок нет
0284089 0283969

   (последний код) DECAL AY,SET

нет в наличии, поставок нет
evinrude

Время выполнения запроса 1.2511651515961 сек.


 
 

данный сайт носит информационный характер и не является публичной офертой

склад запчастей для водомоторной техники