| |
Все разделы каталога запчастей на этот двигатель
вернуться к списку узлов и деталей ДЕТАЛИРОВКА ДЛЯ МОДЕЛИ: EVINRUDE VE225TXESS 1990
КРЫШКА ДВИГАТЕЛЯ (КАПОТ) - EVINRUDE - 200 STL VE200SL MODELS | ENGINE COVER - EVINRUDE - 200 STL VE200SL MODELS &NB;
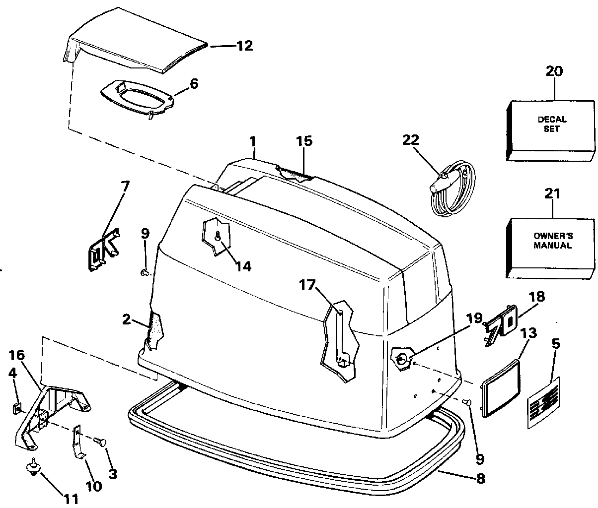
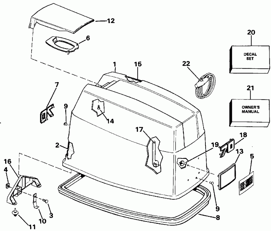
Номер на рисунке | Артикул | Наименование | Кол-во на складе | Цена |
| 0283669 | 0283669 | Крышка двигателя (капот) в сборе., 200STL VE200SL. Not Shown (ENGINE COVER ASSY., 200STL VE200SL. Not Shown) | нет в наличии, поставок нет |
| 1 | 0328703 | Шайба, Винт (WASHER, Screw) | нет в наличии, поставок нет |
| 1 | 3852184 | (последний код) WASHER | нет в наличии, поставок нет |
| 2 | 0210305 | APPLIQUE, Port & stbd. (APPLIQUE, Port & stbd.) | нет в наличии, поставок нет |
| 3 | 0331944 | Рукоятка наклона (TILT HANDLE) | нет в наличии, поставок нет |
| 4 | 0912032 | Резинка капота двигателя (SEAL, Engine cover) | нет в наличии, поставок нет |
| 4 | 0330731 | (последний код) SEAL,MOTOR COVER | нет в наличии, поставок нет |
| 5 | 0329762 | LOCATING BRKT., Front (LOCATING BRKT., Front) | нет в наличии, поставок нет |
| 6 | 0394976 | LOCATING BRKT., Rear (LOCATING BRKT., Rear) | нет в наличии, поставок нет |
| 6 | 0389972 | (последний код) BRKT & BUMPR AY | нет в наличии, поставок нет |
| 7 | 0324898 | Бампер, Locating Кронштейнs (BUMPER, Locating brackets) | нет в наличии, поставок нет |
| 8 | 0330823 | Винт, Louver to Крышка (SCREW, Louver to cover) | нет в наличии, поставок нет |
| 8 | 0325838 | (последний код) SCREW | нет в наличии, поставок нет |
| 9 | 0329866 | Кронштейн, Креплениеing (BRACKET, Mounting) | нет в наличии, поставок нет |
| 10 | 0317223 | Защелка, Applique, front (FASTENER, Applique, front) | нет в наличии, поставок нет |
| 11 | 0329737 | BAFFLE, Louver (BAFFLE, Louver) | нет в наличии, поставок нет |
| 12 | 0210499 | APPLIQUE, Rear & front (APPLIQUE, Rear & front) | нет в наличии, поставок нет |
| 13 | 0211263 | Пластина, Applique, front (PLATE, Applique, front) | нет в наличии, поставок нет |
| 14 | 0319137 | Винт, Крючок (SCREW, Hook) | нет в наличии, поставок нет |
| 15 | 0332191 | Винт, Рукоятка наклона (SCREW, Tilt handle) | нет в наличии, поставок нет |
| 16 | 0211261 | LOUVER, Starboard (LOUVER, Starboard) | нет в наличии, поставок нет |
| 17 | 0326948 | Заклёпка, Locating Кронштейн (RIVET, Locating bracket) | нет в наличии, поставок нет |
| 17 | 0331881 | (последний код) RIVET | нет в наличии, поставок нет |
| 18 | 0331945 | BAFFLE, Рукоятка наклона (BAFFLE, Tilt handle) | нет в наличии, поставок нет |
| 19 | 0211262 | LOUVER, Port (LOUVER, Port) | нет в наличии, поставок нет |
| 20 | 0323176 | Крючок, верхний rear (HOOK, Upper rear) | нет в наличии, поставок нет |
| 20 | 0315191 | (последний код) HOOK | нет в наличии, поставок нет |
| 0283797 | 0283797 | Комплект наклеек, 200. Not Shown (DECAL SET, 200. Not Shown) | нет в наличии, поставок нет |
| 0211475 | 0211475 | OWNERS ручной, 200. Not Shown (OWNERS MANUAL, 200. Not Shown) | нет в наличии, поставок нет |

Время выполнения запроса 0.81959104537964 сек.
|
|