вконтакте

Контактный телефон: +7 (981) 121-46-93, +7 (800) 200-90-76 , Email: parts-katalog@yandex.ru, где купить

 
 

  Логин:

Пароль:

Регистрация

www.partskatalog.ru Все каталоги Запчасти Mercury Запчасти Suzuki Запчасти Tohatsu Запчасти Honda Контакты


Все разделы каталога запчастей на этот двигатель

назад Раздел:  

вернуться к списку узлов и деталей

ДЕТАЛИРОВКА ДЛЯ МОДЕЛИ: EVINRUDE E100WTLESM 1990

VRO2 ПОМПА | VRO2 PUMP;


Лодочный мотор EVINRUDE E100WTLESM 1990  - o2 Помпа - o2 Pump

Номер на
рисунке
АртикулНаименованиеКол-во
на складе
Цена
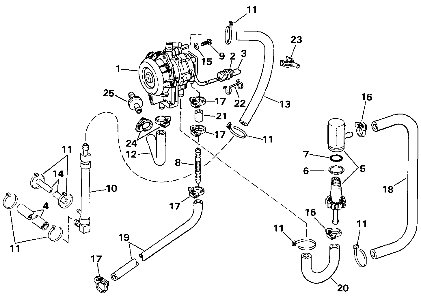
1 0174877

Помпа в сборе, VRO2 (PUMP ASSY, VRO2)

нет в наличии, поставок нет
1 5007423

   (последний код) KIT AY,F PUMP&LMTR

нет в наличии, поставок нет
2 0512747

Коннектор (CONNECTOR)

нет в наличии, поставок нет
2 3852239

   (последний код) CONN,3-SKT-P

нет в наличии, поставок нет
3 0581656

SOCKET (SOCKET)

нет в наличии, поставок нет
3 3852257

   (последний код) TERMINAL AY,SCKT

нет в наличии, поставок нет
4 0

Топливный шланг Коллектор to carb., 4 1 / 2" (114 мм) Cut Length from 333341 - 25 фут (7, 6m) Roll, 5 / 16 дюйм I.D. (HOSE, Fuel manifold to carb., 4 1/2" (114mm). Cut Length from 333341 - 25 ft. (7,6m) Roll, 5/16 in. I.D.)

нет в наличии, поставок нет
5 0398541

Топливный фильтр в сборе. (FUEL FILTER ASSY.)

нет в наличии, поставок нет
5 0394395

   (последний код) FUEL-FILTER

нет в наличии, поставок нет
6 0327270

Прокладка (GASKET)

нет в наличии, поставок нет
6 0329716

   (последний код) GASKET

нет в наличии, поставок нет
7 0124369

Уплотнительное кольцо (O-RING)

нет в наличии, поставок нет
8 0331623

SIGHT Трубка (SIGHT TUBE)

нет в наличии, поставок нет
9 0329169

Винт, Топливный насос to Крепление (SCREW, Fuel pump to mount)

нет в наличии, поставок нет
9 0330217

   (последний код) SCREW

нет в наличии, поставок нет
10 0394312

FUEL Коллектор в сборе. (FUEL MANIFOLD ASSY.)

нет в наличии, поставок нет
11 0320107

Струбцина Хомут (CLAMP STRAP)

нет в наличии, поставок нет
11 5035626

   (последний код) BAND,REM CON

нет в наличии, поставок нет
12 0332851

PULSE Шланг (PULSE HOSE)

нет в наличии, поставок нет
12 0331138

   (последний код) HOSE

нет в наличии, поставок нет
13 0332851

Шланг, Помпа to Коллектор (HOSE, Pump to manifold)

нет в наличии, поставок нет
13 0331138

   (последний код) HOSE

нет в наличии, поставок нет
14 0

Шланг, Manf. to primer, 13" (330 мм) сокращёная длина from 327228 - 25 фут (7, 6m) Roll, 5 / 32 дюйм I.D. (HOSE, Manf. to primer, 13" (330mm). Cut to Length from 327228 - 25 ft. (7,6m) Roll, 5/32 in. I.D.)

нет в наличии, поставок нет
15 0328735

Шайба, Монтажный кронштейн (WASHER, Mount bracket)

нет в наличии, поставок нет
15 3852188

   (последний код) WASHER

нет в наличии, поставок нет
16 0322652

Струбцина топливного фильтра (CLAMP, Fuel filter)

нет в наличии, поставок нет
16 3852170

   (последний код) CLAMP,SNAP

нет в наличии, поставок нет
17 0322654

Струбцина фильтра & Коннектор (CLAMP, Filter & connector)

нет в наличии, поставок нет
17 3852172

   (последний код) CLAMP,SNAP

нет в наличии, поставок нет
18 0

Шланг, Коннектор to Фильтр, 11 1 / 2" (292 мм) Cut Length from 333341 - 25 фут (7, 6m) Roll, 5 / 16 дюйм I.D. (HOSE, Connector to filter, 11 1/2" (292mm). Cut Length from 333341 - 25 ft. (7,6m) Roll, 5/16 in. I.D.)

нет в наличии, поставок нет
19 0

Топливный шланг Коннектор to sight Трубка, 14" (356 мм) сокращёная длина from 333485 - 25 фут (7, 6m) Roll, 1 / 4 дюйм I.D. (HOSE, Fuel connector to sight tube, 14" (356mm). Cut to Length from 333485 - 25 ft. (7,6m) Roll, 1/4 in. I.D.)

нет в наличии, поставок нет
20 0334131

Шланг, Фильтр to Топливный насос (HOSE, Filter to fuel pump)

нет в наличии, поставок нет
21 0

Шланг, Sight Трубка to Помпа, 1 1 / 2" (38 мм) сокращёная длина from 333485 - 25 фут (7, 6m) Roll, 1 / 4 дюйм I.D. (HOSE, Sight tube to pump, 1 1/2" (38mm). Cut to Length from 333485 - 25 ft. (7,6m) Roll, 1/4 in. I.D.)

нет в наличии, поставок нет
22 0512742

Фиксатор (RETAINER)

нет в наличии, поставок нет
22 3852237

   (последний код) RETAINER,CON

нет в наличии, поставок нет
23 0329661

Держатель, Заглушка (HOLDER, Plug)

нет в наличии, поставок нет
24 0322652

Струбцина, Pulse Шланг (CLAMP, Pulse hose)

нет в наличии, поставок нет
24 3852170

   (последний код) CLAMP,SNAP

нет в наличии, поставок нет
25 0174404

PULSE LIMITER (PULSE LIMITER)

нет в наличии, поставок нет
25 0435009

   (последний код) PULSE LMTR-W/THRDS

нет в наличии, поставок нет
evinrude

Время выполнения запроса 0.92446398735046 сек.


 
 

данный сайт носит информационный характер и не является публичной офертой

склад запчастей для водомоторной техники