вконтакте

Контактный телефон: +7 (981) 121-46-93, +7 (800) 200-90-76 , Email: parts-katalog@yandex.ru, где купить

 
 

  Логин:

Пароль:

Регистрация

www.partskatalog.ru Все каталоги Запчасти Mercury Запчасти Suzuki Запчасти Tohatsu Запчасти Honda Контакты


Все разделы каталога запчастей на этот двигатель

назад Раздел:   вперёд

вернуться к списку узлов и деталей

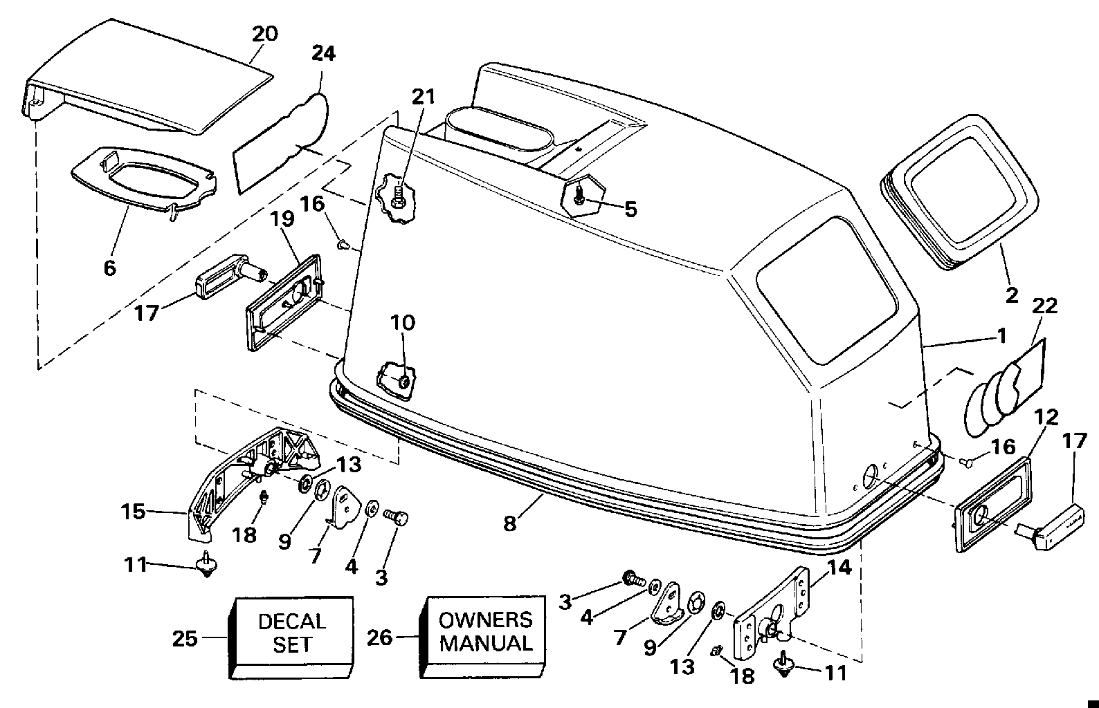
ДЕТАЛИРОВКА ДЛЯ МОДЕЛИ: EVINRUDE E45RCESR 1990

КРЫШКА ДВИГАТЕЛЯ (КАПОТ) - EVINRUDE ШНУР START ONLY | ENGINE COVER - EVINRUDE ROPE START ONLY;


Лодочный подвесной мотор Evinrude E45RCESR 1990  - Evinrude Шнур Start Only - Evinrude Rope Start Only

Номер на
рисунке
АртикулНаименованиеКол-во
на складе
Цена
1 0283427

Крышка двигателя (капот) в сборе., Evinrude. Use 283428 plus 211024 Per Dean Devore (ENGINE COVER ASSY., Evinrude. Use 283428 plus 211024 Per Dean Devore)

нет в наличии, поставок нет
1 0283428

Крышка двигателя (капот) в сборе., Evinrude. 55 Models Only (ENGINE COVER ASSY., Evinrude. 55 Models Only)

нет в наличии, поставок нет
2 0332025

Сальник, Крышка Кронштейн (SEAL, Cover bracket)

нет в наличии, поставок нет
2 0330790

   (последний код) 2277B5034

нет в наличии, поставок нет
3 0912127

Винт, Крючок (SCREW, Hook)

нет в наличии, поставок нет
4 0328703

Шайба, Винт Крючок (WASHER, Screw hook)

нет в наличии, поставок нет
4 3852184

   (последний код) WASHER

нет в наличии, поставок нет
5 0323229

Винт, Рукоятка наклона, front (SCREW, Tilt handle, front)

нет в наличии, поставок нет
6 0210296

BAFFLE, Рукоятка наклона (BAFFLE, Tilt handle)

нет в наличии, поставок нет
7 0330252

Крючок спереди и rear Крышка (HOOK, Front and rear cover)

нет в наличии, поставок нет
7 0323236

   (последний код) HOOK-MTR-CVR

нет в наличии, поставок нет
8 0332241

Сальник, Крышка, верхний (SEAL, Cover, upper)

нет в наличии, поставок нет
8 0325322

   (последний код) SEAL,MOTOR COVER

нет в наличии, поставок нет
9 0553766

BOW Шайба (BOW WASHER)

нет в наличии, поставок нет
9 0123886

   (последний код) SPRING-WASHE

нет в наличии, поставок нет
10 0317223

ЗащелкаS (FASTENERS)

нет в наличии, поставок нет
11 0315159

Бампер, Locating Кронштейнs (BUMPER, Locating brackets)

нет в наличии, поставок нет
12 0334066

APPLIQUE, Front (APPLIQUE, Front)

нет в наличии, поставок нет
12 0211022

   (последний код) FRAME

нет в наличии, поставок нет
13 0321863

Шайба, Latch (WASHER, Latch)

нет в наличии, поставок нет
14 0396703

LOCATING BRKT., Front (LOCATING BRKT., Front)

нет в наличии, поставок нет
15 0396704

LOCATING BRKT., Rear (LOCATING BRKT., Rear)

нет в наличии, поставок нет
15 0391641

   (последний код) LOCATING BRKT-REAR

нет в наличии, поставок нет
16 0326948

Заклёпка, Locating Кронштейнs (RIVET, Locating brackets)

нет в наличии, поставок нет
16 0331881

   (последний код) RIVET

нет в наличии, поставок нет
17 0396611

LATCH, Handle (LATCH, Handle)

нет в наличии, поставок нет
17 0432321

   (последний код) HDL&SFT-AY

нет в наличии, поставок нет
18 0313607

LUBE FITTING (LUBE FITTING)

нет в наличии, поставок нет
18 3852121

   (последний код) FITTING,LUB

нет в наличии, поставок нет
19 0334065

APPLIQUE, Rear (APPLIQUE, Rear)

нет в наличии, поставок нет
19 0334134

   (последний код) FRAME

нет в наличии, поставок нет
20 0333090

Рукоятка наклона (TILT HANDLE)

нет в наличии, поставок нет
21 0323228

Винт, Рукоятка наклона, rear (SCREW, Tilt handle, rear)

нет в наличии, поставок нет
22 0211023

APPLIQUE Front (APPLIQUE Front)

нет в наличии, поставок нет
24 0211008

APPLIQUE, Rear (APPLIQUE, Rear)

нет в наличии, поставок нет
25 0283486

Комплект наклеек, Evinrude (DECAL SET, Evinrude)

нет в наличии, поставок нет
26 0211438

OWNERS ручной, Evinrude. 4-Language ручной (English, French, Spanish, Portuguese) (OWNERS MANUAL, Evinrude. 4-Language Manual (English, French, Spanish,Portuguese))

нет в наличии, поставок нет
26 0211583

   (последний код) 90 O/M EV 45,55

нет в наличии, поставок нет
26 0211583

OWNERS ручной, Evinrude. English Only ручной (OWNERS MANUAL, Evinrude. English Only Manual)

нет в наличии, поставок нет
26 0211438

   (последний код) OM45/55--4L90

нет в наличии, поставок нет
evinrude

Время выполнения запроса 1.1963841915131 сек.


 
 

данный сайт носит информационный характер и не является публичной офертой

склад запчастей для водомоторной техники