вконтакте

Контактный телефон: +7 (981) 121-46-93, +7 (800) 200-90-76 , Email: parts-katalog@yandex.ru, где купить

 
 

  Логин:

Пароль:

Регистрация

www.partskatalog.ru Все каталоги Запчасти Mercury Запчасти Suzuki Запчасти Tohatsu Запчасти Honda Контакты


Все разделы каталога запчастей на этот двигатель

назад Раздел:  

вернуться к списку узлов и деталей

ДЕТАЛИРОВКА ДЛЯ МОДЕЛИ: EVINRUDE E35RESS 1990

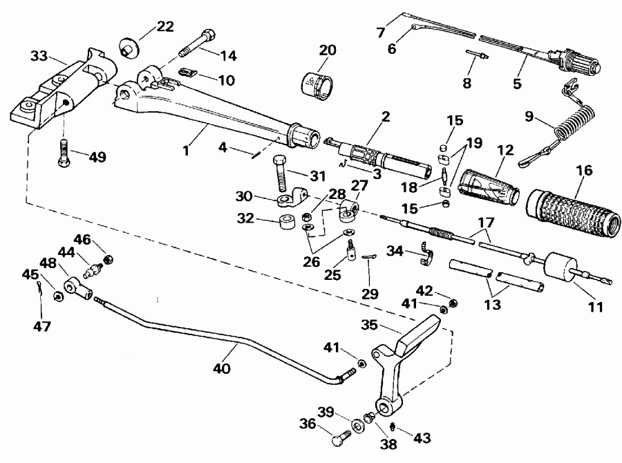
РУЛЕВАЯ СИСТЕМА И ПЕРЕКЛЮЧАТЕЛЬ HANDLE | STEERING AND SHIFT HANDLE;


Двигатель Эвинруд E35RESS 1990  - eering And Shift Handle - eeКольцо и Переключатель Handle

Номер на
рисунке
АртикулНаименованиеКол-во
на складе
Цена
0433404 0433404

Румпель в сборе. COMP.. Not Shown (STEERING HANDLE ASSY. COMP.. Not Shown)

нет в наличии, поставок нет
1 0433406

Румпель в сборе. (STEERING HANDLE ASSY.)

нет в наличии, поставок нет
1 0434094

   (последний код) HANDLE AY,STEERING

нет в наличии, поставок нет
2 0397001

HANDLE & Фиксатор (HANDLE & RETAINER)

нет в наличии, поставок нет
3 0332089

Фиксатор Зажим (RETAINER CLIP)

нет в наличии, поставок нет
4 0334960

SPIRAL Штифт (SPIRAL PIN)

нет в наличии, поставок нет
4 0330841

   (последний код) SPIRAL PIN

нет в наличии, поставок нет
5 0583974

IDLE Выключатель двигателя в сборе. (IDLE STOP SWITCH ASSY.)

нет в наличии, поставок нет
5 0398692

   (последний код) KIT-IDLE-STOP

нет в наличии, поставок нет
6 0510818

Клемма, Кольцо (TERMINAL, Ring)

нет в наличии, поставок нет
6 3854243

   (последний код) TERMINAL,RIN

нет в наличии, поставок нет
7 0581656

Клемма, Socket (TERMINAL, Socket)

нет в наличии, поставок нет
7 3852257

   (последний код) TERMINAL AY,SCKT

нет в наличии, поставок нет
8 0511469

Клемма, Штифт (TERMINAL, Pin)

нет в наличии, поставок нет
8 3852229

   (последний код) TERMINAL,PIN

нет в наличии, поставок нет
9 0398602

Зажим & LANYARD в сборе. (CLIP & LANYARD ASSY.)

нет в наличии, поставок нет
10 0333499

Зажим, Restart (CLIP, Restart)

нет в наличии, поставок нет
11 0329063

Сальник, Румпель (SEAL, Steering handle)

нет в наличии, поставок нет
12 0329882

HELIX, Twist Рукоятка (HELIX, Twist grip)

нет в наличии, поставок нет
12 0436275

   (последний код) GRIP&HELIX-A

нет в наличии, поставок нет
13 0335619

Гильза, Тросик дросселя (SLEEVE, Throttle cable)

нет в наличии, поставок нет
14 0324602

Винт, Brkt. (SCREW, Brkt.)

нет в наличии, поставок нет
15 0329881

Ролик, Helix to Кабели (ROLLER, Helix to cable)

нет в наличии, поставок нет
16 0433657

TWIST Рукоятка & Гильза (TWIST GRIP & SLEEVE)

нет в наличии, поставок нет
16 0436275

   (последний код) GRIP&HELIX-A

нет в наличии, поставок нет
17 0398243

Тросик дросселя в сборе. (THROTTLE CABLE ASSY.)

нет в наличии, поставок нет
17 0433159

   (последний код) CABLE AY,THROTTLE

нет в наличии, поставок нет
18 0329880

Штифт, Направляющая to Роликs (PIN, Guide to rollers)

нет в наличии, поставок нет
19 0329879

Направляющая (GUIDE)

нет в наличии, поставок нет
20 0327944

Пластина, Управление дросселем (PLATE, Throttle control)

нет в наличии, поставок нет
20 0324771

   (последний код) PLATE

нет в наличии, поставок нет
22 0335426

Втулка, Румпель to brkt. (BUSHING, Steering handle to brkt.)

нет в наличии, поставок нет
22 0324594

   (последний код) BUSHING-STR

нет в наличии, поставок нет
25 0335327

Винт, Коннектор (SCREW, Connector)

нет в наличии, поставок нет
25 0344597

   (последний код) SCREW,PIVOT

нет в наличии, поставок нет
26 0306439

Шайба, Винт, Коннектор (WASHER, Screw, connector)

нет в наличии, поставок нет
26 0200158

   (последний код) WASHER

нет в наличии, поставок нет
27 0324685

Коннектор, Тросик дросселя (CONNECTOR, Throttle cable)

нет в наличии, поставок нет
28 0309485

Гайка (NUT)

нет в наличии, поставок нет
28 0132520

   (последний код) NUT

нет в наличии, поставок нет
29 0303049

Штифт, Винт, conn. (PIN, Screw, conn.)

нет в наличии, поставок нет
30 0325715

Коннектор, Тросик дросселя to нижний motor Крышка (CONNECTOR, Throttle cable to lower motor cover)

нет в наличии, поставок нет
31 0335329

Винт, Коннектор, Тросик дросселя (SCREW, Connector, throttle cable)

нет в наличии, поставок нет
32 0335328

Проставка, Коннектор (SPACER, Connector)

нет в наличии, поставок нет
33 0335380

Кронштейн (BRACKET)

нет в наличии, поставок нет
33 5000759

   (последний код) BRKT AY,STRG&SHIFT

нет в наличии, поставок нет
34 0320107

Крепёжный хомут, Тросик дросселя Трубопровод. (TIE STRAP, Throttle cable tubing.)

нет в наличии, поставок нет
34 5035626

   (последний код) BAND,REM CON

нет в наличии, поставок нет
35 0335282

Рычаг переключения (SHIFT LEVER)

нет в наличии, поставок нет
36 0316109

Винт, Рычаг to brkt. (SCREW, Lever to brkt.)

нет в наличии, поставок нет
38 0335605

Втулка (BUSHING)

нет в наличии, поставок нет
39 0309543

Шайба, Рычаг to brkt. (WASHER, Lever to brkt.)

нет в наличии, поставок нет
40 0335283

Переключающая тяга (SHIFT ROD)

нет в наличии, поставок нет
41 0329241

Шайба, Переключающая тяга to t-handle (WASHER, Shift rod to t-handle)

нет в наличии, поставок нет
41 3852193

   (последний код) WASHER

нет в наличии, поставок нет
42 0313022

LOCKГайка, Переключающая тяга to Рычаг (LOCKNUT, Shift rod to lever)

нет в наличии, поставок нет
42 3852118

   (последний код) NUT,LOCK

нет в наличии, поставок нет
43 0313607

LUBRICATION FITTING (LUBRICATION FITTING)

нет в наличии, поставок нет
43 3852121

   (последний код) FITTING,LUB

нет в наличии, поставок нет
44 0335683

Винт, Шаровое соединение (SCREW, Ball joint)

нет в наличии, поставок нет
45 0303715

Шайба (WASHER)

нет в наличии, поставок нет
46 0309485

Гайка (NUT)

нет в наличии, поставок нет
46 0132520

   (последний код) NUT

нет в наличии, поставок нет
47 0306376

Штифт, Переключающая тяга (PIN, Shift rod)

нет в наличии, поставок нет
47 0306370

   (последний код) COTTER PIN

нет в наличии, поставок нет
48 0332947

SHELL (SHELL)

нет в наличии, поставок нет
48 0396037

   (последний код) BALL-JOINT-ASSY

нет в наличии, поставок нет
49 0328333

Винт, Brkt. to Рулевая система Рычаг. (SCREW, Brkt. to steering arm.)

нет в наличии, поставок нет
evinrude

Время выполнения запроса 2.9404020309448 сек.


 
 

данный сайт носит информационный характер и не является публичной офертой

склад запчастей для водомоторной техники