вконтакте

Контактный телефон: +7 (981) 121-46-93, +7 (800) 200-90-76 , Email: parts-katalog@yandex.ru, где купить

 
 

  Логин:

Пароль:

Регистрация

www.partskatalog.ru Все каталоги Запчасти Mercury Запчасти Suzuki Запчасти Tohatsu Запчасти Honda Контакты



УВАЖАЕМЫЕ КЛИЕНТЫ!
C 31 ОКТЯБРЯ 2025 ПО 10 НОЯБРЯ 2025 ГОДА РАБОТАТЬ НЕ БУДЕМ



назад Раздел:   вперёд

Модификация Вашего двигателя:   Honda BF2D2 SCHC
Модели с серийным номером двигателя от BEBF-1000001 до BEBF-1999999
Модели с серийным номером рамы от BZBF-1300001 до BZBF-1399999

Вернуться к выбору узлов мотора

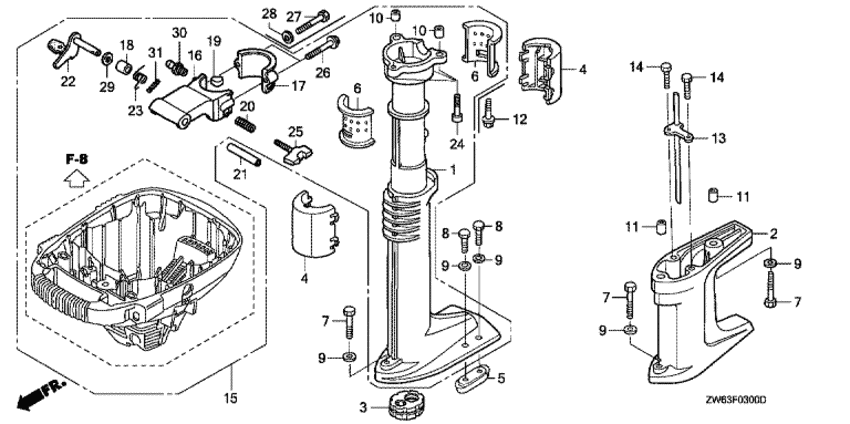
   Удлинение корпуса
Extension Case      


ДЕТАЛИРОВКА ДЛЯ МОДЕЛИ: HONDA BF2D2

Подвесной лодочный четырёх-тактный двигатель Honda BF2D2 - Extension Case - Удлинение корпуса
Номер на
рисунке
АртикулНаименованиеКол-во
на складе
Цена
340210-ZW6-000

Втулка вертикального вала (s) (Bush comp., vertical shaft (s))

под заказ4730 руб. 
340210-ZVA-000

(последний код) BUSH COMP., VERTICAL SHAF

под заказ4730 руб. 
440218-ZW6-000

Protector, extension (Protector, extension)

под заказ1270 руб. 
440218-ZVA-000

(последний код) PROTECTOR, EXTENSION

под заказ1270 руб. 
541106-ZV4-650

Металлический анод (Metal, anode)

под заказ1610 руб. 
541106-ZVA-000

(последний код) METAL, ANODE

под заказ1300 руб. 
650211-ZV0-000

Гильза поворотного корпуса (Liner, swivel case)

под заказ1710 руб. 
790113-ZV0-000

Болт под шестигранник., 6x35 (Bolt, hex., 6x35)

под заказ560 руб. 
890127-ZV4-000

Болт под шестигранник., 6x16 (Bolt, hex., 6x16)

под заказ340 руб. 
990506-ZV4-000

Плоская шайба, 6 мм (Washer, plain, 6mm)

4 шт380 руб. 
1094301-08100

Шпонка (Dowel pin)

под заказ240 руб. 
1290102-ZW6-000

Фланцевый болт, 6x25 (Bolt, flange, 6x25)

под заказпо запросу 
1650201-ZW6-000ZA

Поворотный корпус *nh246 * (Case, swivel *nh246 *)

под заказ14320 руб. 
1750203-ZW6-000ZA

Крышка поворотного корпуса *nh246 * (Cap, swivel case *nh246 *)

под заказ3210 руб. 
1850204-ZV0-000

Воротник поворотного корпуса (Collar, swivel case)

под заказ610 руб. 
1850204-ZVA-000

(последний код) COLLAR, SWIVEL CASE

под заказ610 руб. 
1950212-ZW6-305

Фрикционный блок (Block, friction)

под заказ1110 руб. 
2050233-ZV0-000

Пружина регулировки трения (Spring, friction adjusting)

1 шт400 руб. 
2150337-ZV0-000

Промежуточный воротник (Collar, distance)

под заказ2180 руб. 
2250511-ZV0-010

Рукоятка фиксатора наклона (Arm comp., tilt lock)

под заказ2970 руб. 
2250511-ZVA-000

(последний код) ARM COMP., TILT LOCK

под заказ2970 руб. 
2350516-ZV0-000

Пружина фиксатора наклона (Spring, tilt lock)

под заказ360 руб. 
2350516-ZVA-000

(последний код) SPRING, TILT LOCK

под заказ360 руб. 
2590106-ZV0-000

Винт поворотного корпуса (Bolt, swivel case)

1 шт810 руб. 
2790116-881-000

Болт под шестигранник., 8x40 (Bolt, hex., 8x40)

под заказ560 руб. 
2890507-ZV4-000

Плоская шайба, 8 мм (Washer, plain, 8mm)

под заказ360 руб. 
2990518-921-000

Плоская шайба, 8 мм (Washer, plain, 8mm)

под заказ150 руб. 
3090901-ZV4-000

Ниппель смазки (Nipple, grease)

под заказ320 руб. 
3190752-ZW6-000

Стопор пружины, 2.5x20 (Pin, spring, 2.5x20)

под заказ220 руб. 
1504402-ZW6-010ZA

Case kit, extension *nh246* (Case kit, extension *nh246*)

1 шт53550 руб. 

Время выполнения запроса 2.0181279182434 сек.

 
 

данный сайт носит информационный характер и не является публичной офертой

склад запчастей для водомоторной техники