вконтакте

Контактный телефон: +7 (981) 121-46-93, +7 (800) 200-90-76 , Email: parts-katalog@yandex.ru, где купить

 
 

  Логин:

Пароль:

Регистрация

www.partskatalog.ru Все каталоги Запчасти Mercury Запчасти Suzuki Запчасти Tohatsu Запчасти Honda Контакты



УВАЖАЕМЫЕ КЛИЕНТЫ!
C 31 ОКТЯБРЯ 2025 ПО 10 НОЯБРЯ 2025 ГОДА РАБОТАТЬ НЕ БУДЕМ



назад Раздел:   вперёд

Модификация Вашего двигателя:   Honda BF2D2 SU
Модели с серийным номером двигателя от BEBF-1000001 до BEBF-1999999
Модели с серийным номером рамы от BZBK-1300001 до BZBK-1999999

Вернуться к выбору узлов мотора

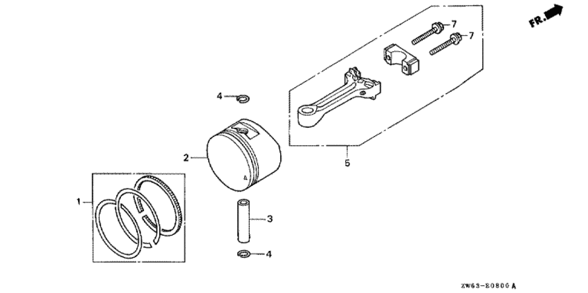
   Поршень
Piston      


ДЕТАЛИРОВКА ДЛЯ МОДЕЛИ: HONDA BF2D2

Лодочный  мотор BF2D2 - Поршень
Номер на
рисунке
АртикулНаименованиеКол-во
на складе
Цена
113010-ZW6-000

Поршневые кольца (std.) (Ring set, piston (std.))

2 шт2580 руб. 
213101-ZW6-000

Поршень (Piston)

под заказ3040 руб. 
213101-ZDH-000

(последний код) PISTON (STD.)

1 шт4250 руб. 
213101-ZW6-010

Поршень (Piston)

под заказ5400 руб. 
313111-122-000

Поршневой палец, 10x33 (Pin, piston, 10x33)

2 шт560 руб. 
313111-GS7-000

Поршневой палец (Pin, piston)

под заказ590 руб. 
413115-147-000

Зажим поршневого пальца, 10 мм (Clip, piston pin, 10mm)

3 шт150 руб. 
513200-ZN4-000

Шатун в сборе (Rod assy., connecting)

под заказ9070 руб. 
513200-ZN4-010

(последний код) ROD ASSY., CONNECTING

3 шт10190 руб. 
790001-ZM7-000

Болт шатуна (Bolt, connecting rod)

4 шт360 руб. 

Время выполнения запроса 1.3422241210938 сек.

 
 

данный сайт носит информационный характер и не является публичной офертой

склад запчастей для водомоторной техники