вконтакте

Контактный телефон: +7 (981) 121-46-93, +7 (800) 200-90-76 , Email: parts-katalog@yandex.ru, где купить

 
 

  Логин:

Пароль:

Регистрация

www.partskatalog.ru Все каталоги Запчасти Mercury Запчасти Suzuki Запчасти Tohatsu Запчасти Honda Контакты



УВАЖАЕМЫЕ КЛИЕНТЫ!
C 31 ОКТЯБРЯ 2025 ПО 10 НОЯБРЯ 2025 ГОДА РАБОТАТЬ НЕ БУДЕМ



назад Раздел:   вперёд

Модификация Вашего двигателя:   Honda BF5AM SD
Модели с серийным номером двигателя от BADE-1200001 до BADE-1399999
Модели с серийным номером рамы от BADS-1200001 до BADS-1399999

Вернуться к выбору узлов мотора

   Дистанционное управление
Remote Control      


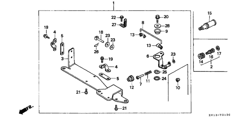
ДЕТАЛИРОВКА ДЛЯ МОДЕЛИ: HONDA BF5AM

Подвесной четырёхтактный мотор BF5AM - Remote Control / Дистанционное управление
Номер на
рисунке
АртикулНаименованиеКол-во
на складе
Цена
106170-ZV1-810

Комплект для установки дистанционного управления (Control kit, remote)

под заказ11540 руб. 
106170-ZV1-812

(последний код) CONTROL KIT, REMOTE

1 шт14390 руб. 
317851-ZV1-810

Кронштейн рулевого управления (Bracket, steering)

под заказ13680 руб. 
417855-ZV1-810

Зажим кабеля (Clamp, cable)

под заказ1600 руб. 
517856-ZV1-810

Пластина зажима кабеля (Shim, cable clamp)

под заказ1680 руб. 
617860-ZV1-810

Рычаг управления (Lever comp., control)

под заказ3180 руб. 
717864-ZV1-810

Гайка B для контроля регулировки (Nut b, control adjusting)

под заказ1180 руб. 
817865-ZV1-810

Тяга управления (Rod, control)

под заказ1030 руб. 
917866-ZV1-810

Втулка рычага управления (Bush, control lever)

под заказ690 руб. 
1017867-ZV1-810

Гайка a, control adjusting (Nut a, control adjusting)

под заказ670 руб. 
1117868-ZV1-810

Пружина рычага управления (Spring, control lever)

под заказ360 руб. 
1217938-ZV1-810

Пыльник тросика управления (Grommet, control cable)

под заказ460 руб. 
1317946-ZV1-000

Связующая втулка (Bush, linkage)

4 шт690 руб. 
1317946-ZV1-003

(последний код) BUSH, LINKAGE

под заказ690 руб. 
1519271-ZV1-000

Соеденитель водяной трубки (Joint, water hose)

3 шт1830 руб. 
1824618-ZV1-810

Переключающий стержень (Pivot, shift)

под заказ1140 руб. 
1990002-ZG0-920

Фланцевый болт, 5x10 (Bolt, flange, 5x10)

под заказпо запросу 
2090013-ZV0-000

Фланцевый болт, 6x12 (Bolt, flange, 6x12)

под заказ350 руб. 
2190013-ZV1-000

Фланцевый болт, 6x14 (Bolt, flange, 6x14)

под заказ520 руб. 
2290019-ZV1-000

Фланцевый болт, 5x10 (Bolt, flange, 5x10)

под заказ280 руб. 
2390452-GK4-600

Плоская шайба, 5 мм (Washer, plain, 5mm)

под заказ250 руб. 
2490505-ZV1-000

Шайба, 14 мм (Washer, 14mm)

под заказ550 руб. 
2590506-ZV1-000

Волнистая шайба, 14 мм (Washer, wave, 14mm)

под заказ550 руб. 
2690757-ZV1-000

Блокирующая шпилька, 5 мм (Pin, lock, 5mm)

под заказ130 руб. 
2791403-881-000

Зажим тросика B (Clip b, cord)

под заказ960 руб. 
28 9410306200

Плоская шайба, 6 мм (Washer, plain, 6mm)

под заказ90 руб. 

Время выполнения запроса 1.235344171524 сек.

 
 

данный сайт носит информационный характер и не является публичной офертой

склад запчастей для водомоторной техники