вконтакте

Контактный телефон: +7 (981) 121-46-93, +7 (800) 200-90-76 , Email: parts-katalog@yandex.ru, где купить

 
 

  Логин:

Пароль:

Регистрация

www.partskatalog.ru Все каталоги Запчасти Mercury Запчасти Suzuki Запчасти Tohatsu Запчасти Honda Контакты



УВАЖАЕМЫЕ КЛИЕНТЫ!
C 19 ДЕКАБРЯ 2025 ПО 02 МАРТА 2026 ГОДА ОТДЕЛ ЗАПЧАСТЕЙ И СЕРВИС РАБОТАТЬ НЕ БУДУТ
ПРОДАЖА ЛОДОЧНЫХ МОТОРОВ В ШТАТНОМ РЕЖИМЕ
ОБ ИЗМЕНЕНИЯХ В ГРАФИКЕ РАБОТЫ ЧИТАЙТЕ НА САЙТА



назад Раздел:   вперёд

Модификация Вашего двигателя:   Honda BF5A4 SU
Модели с серийным номером двигателя от BADE-2000001 до BADE-
Модели с серийным номером рамы от BADS-2000001 до BADS-

Вернуться к выбору узлов мотора

   Масляный поддон
Oil Pan      


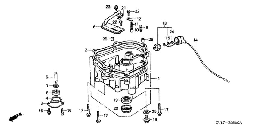
ДЕТАЛИРОВКА ДЛЯ МОДЕЛИ: HONDA BF5A4

Подвесной  двигатель Хонда BF5A4 - Масляный поддон / Oil Pan
Номер на
рисунке
АртикулНаименованиеКол-во
на складе
Цена
111300-ZV1-405ZA

Масляный поддон в сборе (частично) (020) *nh8 * (Pan assy., oil (020) *nh8 *)

под заказ21250 руб. 
211381-ZV1-850

Прокладка масляного поддона (Packing, oil pan)

6 шт1380 руб. 
315130-ZV1-000

Корпус масляного насоса (Cover, oil pump)

под заказ1340 руб. 
415131-ZV1-000

Уплотнительное кольцо корпуса помпы (O-ring, pump cover)

под заказ150 руб. 
415131-ZVD-000

(последний код) O-RING, PUMP COVER

под заказ210 руб. 
515136-ZV1-000

Вал масляного насоса (Shaft, oil pump)

под заказ1820 руб. 
615220-ZV1-000

Фильтр масла (Strainer comp., oil)

под заказ8990 руб. 
715331-399-000

Ротор внутри масляного насоса (yamada) (Rotor, oil pump inner (yamada))

под заказ2730 руб. 
815332-399-000

Наружный ротор масляного насоса (yamada) (Rotor, oil pump outer (yamada))

под заказ3700 руб. 
815021-399-000

(последний код) ROTOR SET, OIL PUMP

под заказ3700 руб. 
915335-ZV1-000

Резинка, возврат масла (Rubber, oil return)

под заказ410 руб. 
1015473-ZA0-000

Контрольный клапан (Valve, check)

под заказ510 руб. 
1115474-881-000

Пружина контрольного клапана (Spring, check valve)

под заказ380 руб. 
1215475-ZA0-000

Пластина контрольного клапана (Plate, check valve)

под заказ660 руб. 
1337200-935-004

Выключатель при низком давлении масла (Switch, oil pressure)

1 шт5060 руб. 
1437201-ZV1-000

Провод выключателя при низком давлении масла (Cord, oil pressure switch)

под заказ1600 руб. 
1537202-935-004

Шайба, 4 мм (Washer, 4mm)

под заказ140 руб. 
1690013-ZV0-010

Фланцевый болт, 6x12 (Bolt, flange, 6x12)

под заказ350 руб. 
1790036-ZY3-000

Фланцевый болт, 8x32 (Bolt, flange, 8x32)

под заказ270 руб. 
1790036-ZY3-010

(последний код) BOLT,FLANGE 8X32

под заказ340 руб. 
1890131-ZW4-000

Болт дренажной заглушки, 12x15 (Bolt, drain plug, 12x15)

2 шт690 руб. 
1991252-888-003

Сальник, 25x38x7 (arai) (Oil seal, 25x38x7 (arai))

2 шт1980 руб. 
1991201-ZG9-U71

Сальник, 25x38x7 (Oil seal, 25x38x7)

под заказ970 руб. 
2091255-ZV1-003

Соеденитель сальника, 25x40x14 (Seal, coupling, 25x40x14)

под заказ1020 руб. 
2191305-639-000

Уплотнительное кольцо, 9.5x3 (O-ring, 9.5x3)

под заказ410 руб. 
2191309-ML7-003

(последний код) O-RING, 9.6X2.6 (ARAI)

под заказ380 руб. 
2292101-06012-0J

Болт под шестигранник., 6x12 (Bolt, hex., 6x12)

под заказ90 руб. 
2393492-060-140-8

Болт с шайбой (Bolt-washer)

под заказ110 руб. 
2493500-040-063-J

Винт с чашечкой, 4x6 (Screw, pan, 4x6)

под заказпо запросу 
2594109-12000

Шайба (Washer)

3 шт100 руб. 
2694301-08140

Шпонка (Dowel pin)

4 шт150 руб. 

Время выполнения запроса 0.74677085876465 сек.

 
 

данный сайт носит информационный характер и не является публичной офертой

склад запчастей для водомоторной техники