вконтакте

Контактный телефон: +7 (981) 121-46-93, +7 (800) 200-90-76 , Email: parts-katalog@yandex.ru, где купить

 
 

  Логин:

Пароль:

Регистрация

www.partskatalog.ru Все каталоги Запчасти Mercury Запчасти Suzuki Запчасти Tohatsu Запчасти Honda Контакты



УВАЖАЕМЫЕ КЛИЕНТЫ!
C 19 ДЕКАБРЯ 2025 ПО 02 МАРТА 2026 ГОДА ОТДЕЛ ЗАПЧАСТЕЙ И СЕРВИС РАБОТАТЬ НЕ БУДУТ
ПРОДАЖА ЛОДОЧНЫХ МОТОРОВ В ШТАТНОМ РЕЖИМЕ
ОБ ИЗМЕНЕНИЯХ В ГРАФИКЕ РАБОТЫ ЧИТАЙТЕ НА САЙТА



назад Раздел:   вперёд

Модификация Вашего двигателя:   Honda BF8AX XE
Модели с серийным номером двигателя от BACE-1200001 до BACE-9999999
Модели с серийным номером рамы от BACU-1400001 до BACU-1400158

Вернуться к выбору узлов мотора

   Удлинение корпуса / Картер коробки передач (bf6b / bx / d6,bf8ax / b / bx)
Extension Case / Gear Case (bf6b / Bx / D6,bf8ax / B / Bx)      


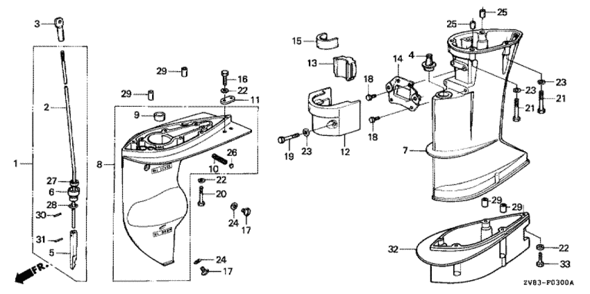
ДЕТАЛИРОВКА ДЛЯ МОДЕЛИ: HONDA BF8AX

Двигатель BF8AX - Extension Case / Gear Case (bf6b / Bx / D6,bf8ax / B / Bx) / Удлинение корпуса / Картер коробки передач (bf6b / bx / d6,bf8ax / b / bx)
Номер на
рисунке
АртикулНаименованиеКол-во
на складе
Цена
124310-881-D70

Переключающая тяга (ul) (Rod comp., shift (ul))

под заказпо запросу 
224311-881-D70

Rod, shift (ul) (Rod, shift (ul))

под заказпо запросу 
324312-881-000

Соеденитель тяги переключения передач (Joint, gearshift rod)

под заказ2890 руб. 
424313-921-003

Пыльник тяги (arai) (Grommet, rod (arai))

под заказ1200 руб. 
524341-ZV4-300

Тяга толкателя (Rod, push)

под заказпо запросу 
624343-881-300

Держатель сальника (Holder, seal)

под заказ2660 руб. 
740201-881-942ZB

Удлинитель копуса (l / ul) *nh282mu * (Case, extension (l/ul) *nh282mu *)

под заказпо запросу 
841100-881-A00ZB

Корпус "ноги" *nh282mu * (Case comp., gear *nh282mu *)

под заказпо запросу 
941103-935-003

Подшипник, игольчатый, 15x21x16 (Bearing, needle, 15x21x16)

под заказ1600 руб. 
1041104-921-320

Водяной экран (Screen, water)

под заказпо запросу 
1141106-ZV4-650

Металлический анод (Metal, anode)

под заказ1610 руб. 
1141106-ZVA-000

(последний код) METAL, ANODE

под заказ1300 руб. 
1250121-881-842ZB

Кожух, установленный снизу *nh282mu * (Housing, lower mounting *nh282mu *)

под заказпо запросу 
1350151-881-D70

Резинка А нижнего крепления (Rubber a, lower mounting)

под заказпо запросу 
1450152-881-000

Пластина, смонтированная снизу (Plate comp., lower mounting)

под заказ3500 руб. 
1550153-881-D70

Резинка B нижнего крепления (Rubber b, lower mounting)

под заказпо запросу 
1690101-ZV1-000

Болт под шестигранник., 6x18 (Bolt, hex., 6x18)

6 шт420 руб. 
1790105-ZV4-650

Болт контроля уровня масла, 8x8 (Bolt, oil check, 8x8)

под заказ670 руб. 
1790105-ZVA-000

(последний код) BOLT, OIL CHECK, 8X8

15 шт670 руб. 
1890105-881-000

Болт под шестигранник., 6x12 (Bolt, hex., 6x12)

под заказ350 руб. 
1990116-881-000

Болт под шестигранник., 8x40 (Bolt, hex., 8x40)

под заказ560 руб. 
2090120-ZV4-000

Болт под шестигранник., 6x40 (Bolt, hex., 6x40)

под заказ500 руб. 
2090120-ZV4-010

(последний код) BOLT,HEX.,6X40

3 шт500 руб. 
2190123-ZV4-000

Болт под шестигранник., 8x50 (Bolt, hex., 8x50)

6 шт600 руб. 
2290506-ZV4-000

Плоская шайба, 6 мм (Washer, plain, 6mm)

4 шт380 руб. 
2390507-ZV4-000

Плоская шайба, 8 мм (Washer, plain, 8mm)

под заказ360 руб. 
2490507-921-000

Нейлоновая шайба, 8 мм (Washer, nylon, 8mm)

12 шт120 руб. 
2590703-HC4-000

Шпонка, 10x14 (Dowel pin, 10x14)

под заказ320 руб. 
259430110140

(последний код) PIN A, DOWEL, 10X14

под заказ270 руб. 
2594301-10140

Штифт a (Pin a)

под заказ270 руб. 
2690855-921-300

Заглушка, Сальникing, 10 мм (Plug, sealing, 10mm)

под заказ100 руб. 
2791253-921-003

Гидрозатвор, 6 мм (Water seal, 6mm)

под заказ1050 руб. 
2891303-377-000

Уплотнительное кольцо, 13.8x2.5 (O-ring, 13.8x2.5)

под заказ510 руб. 
2891303-MG7-003

(последний код) O-RING,13.8X2.5

3 шт510 руб. 
2994301-08100

Шпонка (Dowel pin)

под заказ240 руб. 
3094305-25122

Штифт (Pin)

под заказ150 руб. 
3196220-25118

Ролик, 2.5x11.8 (Roller, 2.5x11.8)

под заказ50 руб. 
3240202-881-D70ZA

Удлинение корпуса (ul) *nh282mu * (Separator, extension (ul) *nh282mu *)

под заказпо запросу 
3390111-881-000

Болт под шестигранник., 6x32 (Bolt, hex., 6x32)

под заказ380 руб. 

Время выполнения запроса 7.9787337779999 сек.

 
 

данный сайт носит информационный характер и не является публичной офертой

склад запчастей для водомоторной техники