вконтакте

Контактный телефон: +7 (981) 121-46-93, +7 (800) 200-90-76 , Email: parts-katalog@yandex.ru, где купить

 
 

  Логин:

Пароль:

Регистрация

www.partskatalog.ru Все каталоги Запчасти Mercury Запчасти Suzuki Запчасти Tohatsu Запчасти Honda Контакты



УВАЖАЕМЫЕ КЛИЕНТЫ!
C 31 ОКТЯБРЯ 2025 ПО 10 НОЯБРЯ 2025 ГОДА РАБОТАТЬ НЕ БУДЕМ



назад Раздел:   вперёд

Модификация Вашего двигателя:   Honda BF8B SGD
Модели с серийным номером двигателя от BACE-1200001 до BACE-9999999
Модели с серийным номером рамы от BAKS-1000001 до BAKS-1399999

Вернуться к выбору узлов мотора

   Ремень распредвала (bf6b / bx / d6,bf8ax / b / bx)
Timing Belt (bf6b / Bx / D6,bf8ax / B / Bx)      


ДЕТАЛИРОВКА ДЛЯ МОДЕЛИ: HONDA BF8B

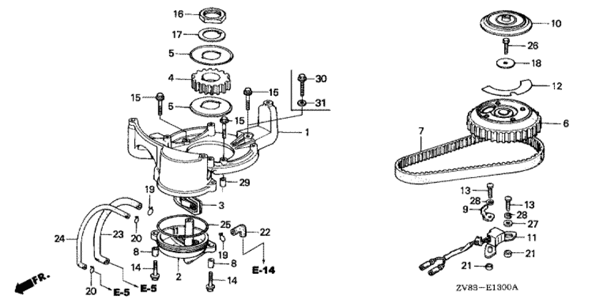
Двигатель BF8B - Timing Belt (bf6b / Bx / D6,bf8ax / B / Bx) - Ремень распредвала (bf6b / bx / d6,bf8ax / b / bx)
Номер на
рисунке
АртикулНаименованиеКол-во
на складе
Цена
111301-881-020ZA

Case, Стартер *nh8 * (Case, starter *nh8 *)

под заказпо запросу 
212311-881-000

Крышка сапуна (Cover, breather)

под заказпо запросу 
312370-881-000

Корпус клапана (Body comp., valve)

под заказпо запросу 
414311-881-000

Шкив ремня (Pulley, timing)

под заказ8000 руб. 
514312-881-000

Фланец зубчатого шкива (Flange, timing pulley)

под заказ1380 руб. 
614320-881-C40

Шкив распредвала (Pulley comp., camshaft)

под заказпо запросу 
714400-921-024

Ремень ГРМ (Belt, timing)

3 шт9340 руб. 
815623-881-000

Воротник a, distance (Collar a, distance)

под заказпо запросу 
930207-882-600

Пластина струбцины кабеля (Plate, cord clamp)

под заказпо запросу 
1030210-881-000

Крышка точки (Cover, point)

под заказпо запросу 
1130310-881-C41

Импульсная катушка (Coil assy., pulser)

под заказпо запросу 
1130310-881-A01

Импульсная катушка (Coil assy., pulser)

под заказ12090 руб. 
1287581-921-600

Маркировка, point (Mark, point)

под заказпо запросу 
1390013-881-C41

Болт под звёздочку, 5x14 (Bolt, torx, 5x14)

под заказпо запросу 
1490121-881-000

Фланцевый болт, 6x22 (Bolt, flange, 6x22)

под заказ250 руб. 
1590123-881-000

Фланцевый болт, 6x28 (Bolt, flange, 6x28)

под заказпо запросу 
1690202-881-000

Блокирующая гайка, 24 мм (Nut, lock, 24mm)

под заказпо запросу 
1790451-881-000

Шайба с блокировкой, 24 мм (Washer, lock, 24mm)

под заказпо запросу 
1890563-706-000

Шайба - колёсико, 6 мм (Washer, wheel, 6mm)

под заказпо запросу 
1990604-881-000

Зажим трубки (b12) (Clip, tube (b12))

под заказ220 руб. 
2090605-921-000

Зажим B7 трубки (Clip b7, tube)

под заказпо запросу 
2190705-882-600

Шпонка, 7x4.5 (Dowel pin, 7x4.5)

под заказпо запросу 
2290803-881-C40

Трубка B сапуна (Tube b, breather)

под заказпо запросу 
2390804-881-010

Трубка c, breather (Tube c, breather)

под заказпо запросу 
2490805-881-000

Масляная трубка return (Tube, oil return)

под заказпо запросу 
2591311-881-003

Уплотнительное кольцо, 62x2.5 (O-ring, 62x2.5)

под заказ450 руб. 
2692101-06022-0B

Болт под шестигранник., 6x22 (Bolt, hex., 6x22)

под заказпо запросу 
2794101-05200

Шайба (Washer)

под заказ130 руб. 
2894111-05800

Шайба (Washer)

под заказ90 руб. 
2994301-08100

Шпонка (Dowel pin)

под заказ240 руб. 

Время выполнения запроса 0.70416212081909 сек.

 
 

данный сайт носит информационный характер и не является публичной офертой

склад запчастей для водомоторной техники