вконтакте

Контактный телефон: +7 (981) 121-46-93, +7 (800) 200-90-76 , Email: parts-katalog@yandex.ru, где купить

 
 

  Логин:

Пароль:

Регистрация

www.partskatalog.ru Все каталоги Запчасти Mercury Запчасти Suzuki Запчасти Tohatsu Запчасти Honda Контакты

назад Раздел:   вперёд

Модификация Вашего двигателя:   Honda BF8C LGDS
Модели с серийным номером двигателя от BABE-1200001 до BABE-1299999
Модели с серийным номером рамы от BAVL-1000001 до BAVL-1399999

Вернуться к выбору узлов мотора

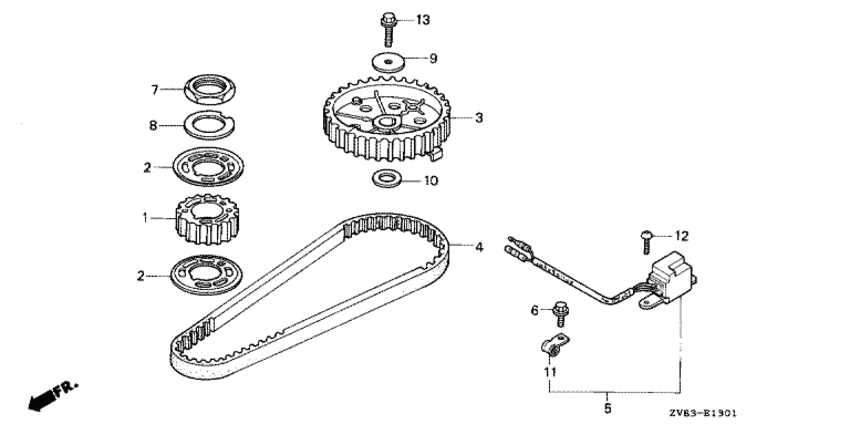
   Ремень распредвала (bf8c / cx)
Timing Belt (bf8c / Cx)      


ДЕТАЛИРОВКА ДЛЯ МОДЕЛИ: HONDA BF8C

Подвесной четырёх-тактный лодочный двигатель Honda BF8C - Ремень распредвала (bf8c / cx) / Timing Belt (bf8c / Cx)
Номер на
рисунке
АртикулНаименованиеКол-во
на складе
Цена
114315-ZV4-000

Шкив ремня (Pulley, timing)

под заказ6610 руб. 
214316-ZV4-000

Фланец зубчатого шкива (Flange, timing pulley)

под заказпо запросу 
314320-ZV4-000

Шкив распредвала (Pulley comp., camshaft)

под заказ20010 руб. 
414400-ZV4-004

Ремень ГРМ (Belt, timing)

2 шт7230 руб. 
530400-ZV4-003

Импульсная катушка (Coil assy., pulser)

под заказ8780 руб. 
690013-ZV0-000

Фланцевый болт, 6x12 (Bolt, flange, 6x12)

под заказ350 руб. 
790202-ZV4-000

Блокирующая гайка, 27 мм (Nut, lock, 27mm)

под заказ1580 руб. 
890451-ZV4-000

Шайба с блокировкой, 27 мм (Washer, lock, 27mm)

под заказ280 руб. 
990563-ZV4-000

Плоская шайба, 6 мм (Washer, plain, 6mm)

под заказ1020 руб. 
1090564-ZV4-000

Плоская шайба, 13 мм (Washer, plain, 13mm)

под заказ430 руб. 
1190689-ZV4-003

Зажим провода (Clip, cord)

под заказпо запросу 
1293500-050-140-B

Винт с чашечкой, 5x14 (Screw, pan, 5x14)

под заказ140 руб. 
1395701-060-180-2

Болт (Bolt)

под заказ180 руб. 

Время выполнения запроса 1.2310800552368 сек.

 
 

данный сайт носит информационный характер и не является публичной офертой

склад запчастей для водомоторной техники