вконтакте

Контактный телефон: +7 (981) 121-46-93, +7 (800) 200-90-76 , Email: parts-katalog@yandex.ru, где купить

 
 

  Логин:

Пароль:

Регистрация

www.partskatalog.ru Все каталоги Запчасти Mercury Запчасти Suzuki Запчасти Tohatsu Запчасти Honda Контакты



УВАЖАЕМЫЕ КЛИЕНТЫ!
C 19 ДЕКАБРЯ 2025 ПО 02 МАРТА 2026 ГОДА ОТДЕЛ ЗАПЧАСТЕЙ И СЕРВИС РАБОТАТЬ НЕ БУДУТ
ПРОДАЖА ЛОДОЧНЫХ МОТОРОВ В ШТАТНОМ РЕЖИМЕ
ОБ ИЗМЕНЕНИЯХ В ГРАФИКЕ РАБОТЫ ЧИТАЙТЕ НА САЙТА



назад Раздел:   вперёд

Модификация Вашего двигателя:   Honda BFP8B2 XHG; Power Thrust
Модели с серийным номером двигателя от BEAAJ-1000001 до BEAAJ-1999999
Модели с серийным номером рамы от BACJ-1100001 до BACJ-1199999

Вернуться к выбору узлов мотора

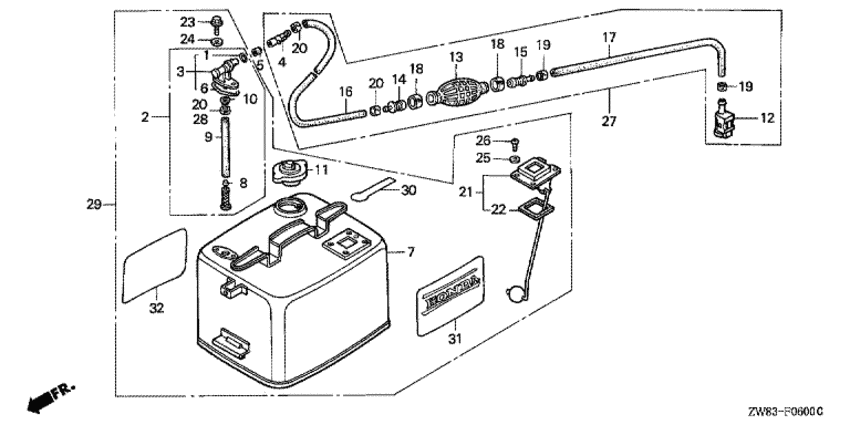
   Топливный бак (стандартный)
Fuel Tank (standard)      


ДЕТАЛИРОВКА ДЛЯ МОДЕЛИ: HONDA BFP8B2

Подвесной 4-тактный мотор Хонда BFP8B2 - Топливный бак (стандартный)
Номер на
рисунке
АртикулНаименованиеКол-во
на складе
Цена
116075-935-006

Уплотнительное кольцо (O-ring)

под заказ140 руб. 
216900-881-010

Топливный соеденитель А, комплект (Joint comp. a, fuel)

под заказ7640 руб. 
316951-935-006

Соеденитель A, согласование топлива (Joint a, fuel consent)

под заказ11150 руб. 
416952-935-016

Соеденитель B, согласование топлива (Joint b, fuel consent)

под заказ1740 руб. 
516953-935-000

Амортизатор топлива (Absorber, fuel)

под заказ550 руб. 
616962-865-010

Кольцо сальника (Ring, cock seal)

под заказпо запросу 
717500-881-C40ZA

Топливный бак *r8 * (Tank comp., fuel *r8 *)

под заказ31650 руб. 
717500-881-C41ZB

Топливный бак *r280 * (Tank comp., fuel *r280 *)

под заказ31650 руб. 
817583-881-000

Топливный фильтр (Filter, fuel)

под заказ1800 руб. 
917611-935-000

Трубка внутри (Tube, inner)

под заказпо запросу 
1017612-881-000

Сальник внутри (Seal, inner)

под заказпо запросу 
1117620-881-053

Крышка топливного фильтра (Cap comp., fuel filler)

под заказ11150 руб. 
1217650-ZW9-013

Топливный коннектор, в сборе (a) (Connector assy., fuel (a))

под заказ5330 руб. 
1217650-ZW9-023

(последний код) CONNECTOR ASSY., FUEL (A)

4 шт5330 руб. 
12RTT-17650-ZW9-013

   (не оригинальный аналог) Топливный коннектор RTT-17650-ZW9-013

под заказ950 руб.
1317661-921-000

Груша для подкачки топлива (Bulb, primer)

под заказ2990 руб. 
1317661-921-010

(последний код) BULB, PRIMER

под заказ2990 руб. 
1417670-921-000

Внутренний клапан (Valve comp., in.)

под заказ1750 руб. 
1517680-ZV4-000

Наружный клапан (Valve comp., outlet)

под заказ2800 руб. 
1617701-881-000

Длинная топливная трубка (Tube, fuel long)

под заказ6430 руб. 
1717702-ZV4-000

Короткая топливная трубка (6.3x500) (Tube, fuel short (6.3x500))

под заказ870 руб. 
1817703-921-010

Зажимной ремешек трубки, 20 мм (Band, tube clip, 20mm)

под заказ580 руб. 
1917704-ZV4-010

Зажимной ремешек трубки, 12.5 мм (Band, tube clip, 12.5mm)

под заказ320 руб. 
2017704-ZW9-660

Зажимной ремешек трубки, 11 мм (Band, tube clip, 11mm)

под заказ410 руб. 
2117800-ZV1-611

Измеритель уровня топлива (Meter assy., fuel)

под заказпо запросу 
2217803-GC3-003

Прокладка измерителя топлива (Packing, fuel meter)

под заказпо запросу 
2390120-881-010

Фланцевый болт, 6x16 (Bolt, flange, 6x16)

под заказпо запросу 
2490445-700-000

Прокладка из волокна, 6 мм (Packing, fiber, 6mm)

под заказпо запросу 
2590540-881-000

Прокладка из волокна, 5 мм (Packing, fiber, 5mm)

под заказпо запросу 
2693500-050-104-J

Винт с чашечкой, 5x10 (Screw, pan, 5x10)

под заказ150 руб. 
2717700-ZW9-662

Трубка для подключения топливного бака, в сборе (Tube assy., fuel)

под заказ11110 руб. 
2817704-921-000

Зажимной ремешек трубки, 11 мм (Band, tube clip, 11mm)

под заказпо запросу 
2906175-881-C42ZB

Tank kit, fuel (bodensee) *r280 * (Tank kit, fuel (bodensee) *r280 *)

под заказ26480 руб. 
3087571-881-671

Маркировка: осторожно, топливный бак (english / french) (Mark, tank caution (english/french))

под заказпо запросу 
3187573-881-C41

Маркировка b, tank (english) (Mark b, tank (english))

под заказпо запросу 
3287574-881-C41

Маркировка b, tank (french) (Mark b, tank (french))

под заказпо запросу 

Время выполнения запроса 0.60931992530823 сек.

 
 

данный сайт носит информационный характер и не является публичной офертой

склад запчастей для водомоторной техники