вконтакте

Контактный телефон: +7 (981) 121-46-93, +7 (800) 200-90-76 , Email: parts-katalog@yandex.ru, где купить

 
 

  Логин:

Пароль:

Регистрация

www.partskatalog.ru Все каталоги Запчасти Mercury Запчасти Suzuki Запчасти Tohatsu Запчасти Honda Контакты

назад Раздел:   вперёд

Модификация Вашего двигателя:   Honda BF8AM SD
Модели с серийным номером двигателя от BACE-1200001 до BACE-9999999
Модели с серийным номером рамы от BACS-1200001 до BACS-1299999

Вернуться к выбору узлов мотора

   Комплект для монтажа стартера
Vertical Starter      


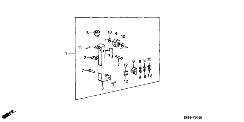
ДЕТАЛИРОВКА ДЛЯ МОДЕЛИ: HONDA BF8AM

Лодочный  мотор Honda BF8AM - Vertical Starter - Комплект для монтажа стартера
Номер на
рисунке
АртикулНаименованиеКол-во
на складе
Цена
106280-881-810

Стартер kit, vertical (Starter kit, vertical)

под заказпо запросу 
228457-921-000

Уплотнительное кольцо (E-ring)

под заказпо запросу 
328480-881-810

Остановка, Комплект для монтажа стартера (Stay, vertical starter)

под заказпо запросу 
428481-881-810

Idler, Комплект для монтажа стартера (Idler, vertical starter)

под заказпо запросу 
528482-881-810

Направляющая шнура (Guide, rope)

под заказпо запросу 
628483-881-810

Кронштейн, Комплект для монтажа стартера (Bracket, vertical starter)

под заказпо запросу 
728484-881-810

Штифт, Комплект для монтажа стартера (Pin, vertical starter)

под заказпо запросу 
890407-920-000

Пружинистая шайба, 6 мм (Washer, spring, 6mm)

под заказ260 руб. 
990504-921-010

Плоская шайба, 6 мм (Washer, plain, 6mm)

6 шт330 руб. 
1090513-921-000

Шайба, 10 мм (Washer, 10mm)

3 шт370 руб. 
1191402-881-000

Блокирующая шпилька, 10 мм (Pin, lock, 10mm)

под заказпо запросу 
1293500-060124J

Винт с чашечкой, 6x12 (Screw, pan, 6x12)

под заказ320 руб. 
1394001-064-900-S

Гайка (Nut)

под заказ200 руб. 

Время выполнения запроса 1.0123829841614 сек.

 
 

данный сайт носит информационный характер и не является публичной офертой

склад запчастей для водомоторной техники