вконтакте

Контактный телефон: +7 (981) 121-46-93, +7 (800) 200-90-76 , Email: parts-katalog@yandex.ru, где купить

 
 

  Логин:

Пароль:

Регистрация

www.partskatalog.ru Все каталоги Запчасти Mercury Запчасти Suzuki Запчасти Tohatsu Запчасти Honda Контакты



УВАЖАЕМЫЕ КЛИЕНТЫ!
C 19 ДЕКАБРЯ 2025 ПО 02 МАРТА 2026 ГОДА ОТДЕЛ ЗАПЧАСТЕЙ И СЕРВИС РАБОТАТЬ НЕ БУДУТ
ПРОДАЖА ЛОДОЧНЫХ МОТОРОВ В ШТАТНОМ РЕЖИМЕ
ОБ ИЗМЕНЕНИЯХ В ГРАФИКЕ РАБОТЫ ЧИТАЙТЕ НА САЙТА



назад Раздел:   вперёд

Модификация Вашего двигателя:   Honda BF100B SD
Модели с серийным номером двигателя от B100S-1300493 до B100S-1303588
Модели с серийным номером рамы от B100S-1300493 до B100S-1303588

Вернуться к выбору узлов мотора

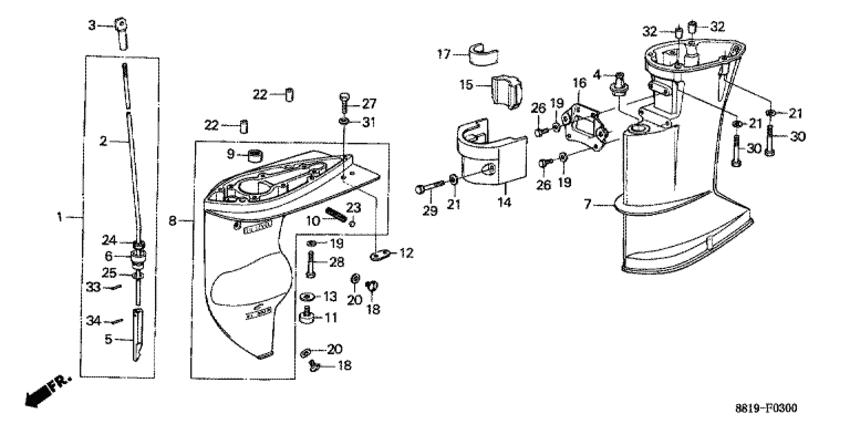
   Удлинение корпуса / Картер коробки передач / Переключающая тяга
Extension Case / Gear Case / Shift Rod      


ДЕТАЛИРОВКА ДЛЯ МОДЕЛИ: HONDA BF100B

Подвесной четырёх тактный двигатель BF100B - Удлинение корпуса / Картер коробки передач / Переключающая тяга - Extension Case / Gear Case / Shift Rod
Номер на
рисунке
АртикулНаименованиеКол-во
на складе
Цена
124310-881-000

Тяга переключения передач, комплект (s) (Rod comp., gearshift (s))

под заказпо запросу 
224311-881-300

Тяга переключения передач (s) (Rod, gearshift (s))

под заказ5500 руб. 
324312-881-000

Соеденитель тяги переключения передач (Joint, gearshift rod)

под заказ2890 руб. 
424313-921-003

Пыльник тяги (arai) (Grommet, rod (arai))

под заказ1200 руб. 
524341-935-300

Тяга толкателя (Rod, push)

под заказпо запросу 
624343-881-300

Держатель сальника (Holder, seal)

под заказ2660 руб. 
740201-881-000ZA

Удлинитель копуса (s) *b9 * (Case, extension (s) *b9 *)

под заказпо запросу 
841100-881-010ZA

Корпус "ноги" *b9 * (Case comp., gear *b9 *)

под заказ40220 руб. 
941103-935-003

Подшипник, игольчатый, 15x21x16 (Bearing, needle, 15x21x16)

под заказ1600 руб. 
1041104-921-320

Водяной экран (Screen, water)

под заказпо запросу 
1241106-935-811

Металлический анод (Metal comp., anode)

под заказ860 руб. 
1241106-935-812

(последний код) METAL COMP., ANODE

под заказ1040 руб. 
1450121-881-000ZA

Кожух, установленный снизу *b9 * (Housing, lower mounting *b9 *)

под заказ3210 руб. 
1550151-881-000

Резинка А нижнего крепления (Rubber a, lower mounting)

под заказ3710 руб. 
1650152-881-000

Пластина, смонтированная снизу (Plate comp., lower mounting)

под заказ3500 руб. 
1750153-881-000

Резинка B нижнего крепления (Rubber b, lower mounting)

под заказ1150 руб. 
1890105-921-000

Болт контроля уровня масла (Bolt, oil check)

под заказ570 руб. 
1990504-921-010

Плоская шайба, 6 мм (Washer, plain, 6mm)

6 шт330 руб. 
2090507-921-000

Нейлоновая шайба, 8 мм (Washer, nylon, 8mm)

12 шт120 руб. 
2190518-921-000

Плоская шайба, 8 мм (Washer, plain, 8mm)

под заказ150 руб. 
2290702-881-000

Шпонка, 8x10 (Dowel pin, 8x10)

под заказпо запросу 
2390855-921-300

Заглушка, Сальникing, 10 мм (Plug, sealing, 10mm)

под заказ100 руб. 
2491253-921-003

Гидрозатвор, 6 мм (Water seal, 6mm)

под заказ1050 руб. 
2591303-377-000

Уплотнительное кольцо, 13.8x2.5 (O-ring, 13.8x2.5)

под заказ510 руб. 
2591303-MG7-003

(последний код) O-RING,13.8X2.5

3 шт510 руб. 
2692000-06012-4J

Болт под шестигранник., 6x12 (Bolt, hex., 6x12)

под заказпо запросу 
2792000-06016-0B

Болт под шестигранник., 6x16 (Bolt, hex., 6x16)

под заказпо запросу 
2792101-06016-0B

Болт под шестигранник., 6x16 (Bolt, hex., 6x16)

под заказ170 руб. 
2892000-06040-4J

Болт под шестигранник., 6x40 (Bolt, hex., 6x40)

под заказ210 руб. 
2892101-06040-4J

Болт под шестигранник, 6x40 (Bolt,hex,6x40)

под заказпо запросу 
2992000-08040-4J

Болт под шестигранник., 8x40 (Bolt, hex., 8x40)

под заказ240 руб. 
3092000-08050-4J

Болт под шестигранник., 8x50 (Bolt, hex., 8x50)

под заказпо запросу 
31 9410106200

Плоская шайба, 6 мм (Washer, plain, 6mm)

под заказ90 руб. 
3294301-10140

Штифт a (Pin a)

под заказ270 руб. 
3394305-25122

Штифт (Pin)

под заказ150 руб. 
3496220-25118

Ролик, 2.5x11.8 (Roller, 2.5x11.8)

под заказ50 руб. 

Время выполнения запроса 2.9465069770813 сек.

 
 

данный сайт носит информационный характер и не является публичной офертой

склад запчастей для водомоторной техники