вконтакте

Контактный телефон: +7 (981) 121-46-93, +7 (800) 200-90-76 , Email: parts-katalog@yandex.ru, где купить

 
 

  Логин:

Пароль:

Регистрация

www.partskatalog.ru Все каталоги Запчасти Mercury Запчасти Suzuki Запчасти Tohatsu Запчасти Honda Контакты

назад Раздел:   вперёд

Модификация Вашего двигателя:   Honda BFP10D1 LHD; Power Thrust
Модели с серийным номером двигателя от BEABJ-1000001 до BEABJ-9999999
Модели с серийным номером рамы от BABJ-1000001 до BABJ-1099999

Вернуться к выбору узлов мотора

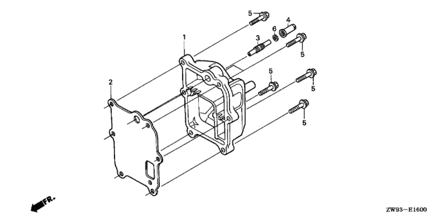
   Крышка выхлопной камеры
Exhaust Chamber Cover      


ДЕТАЛИРОВКА ДЛЯ МОДЕЛИ: HONDA BFP10D1

Подвесной 4x-тактный двигатель BFP10D1 - Крышка выхлопной камеры / Exhaust Chamber Cover
Номер на
рисунке
АртикулНаименованиеКол-во
на складе
Цена
118231-ZW9-000

Крышка выхлопной камеры (Cover, ex. chamber)

под заказпо запросу 
218233-ZW9-003

Прокладка выхлопной камеры (Gasket, ex. chamber)

4 шт1830 руб. 
590009-ZW9-000

Фланцевый болт, 6x23 (Bolt, flange, 6x23)

под заказ640 руб. 

Время выполнения запроса 0.24403810501099 сек.

 
 

данный сайт носит информационный характер и не является публичной офертой

склад запчастей для водомоторной техники