Контактный телефон: +7 (981) 121-46-93, +7 (800) 200-90-76 , Email: parts-katalog@yandex.ru, где купить |
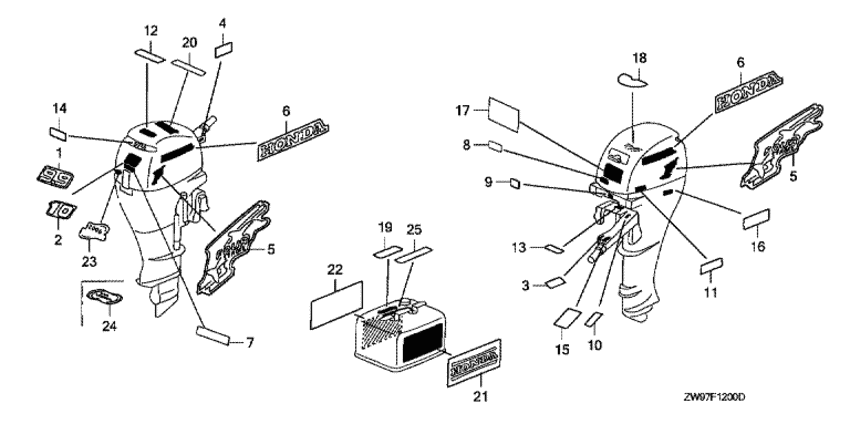
Модификация Вашего двигателя: Honda BF10D2 LHSD Вернуться к выбору узлов мотора Наклейки |
|||||||||||||||||||||||||||||||||||||||||||||||||||||||||||||||||||||||||||||||||||||||||||||||||||||||||||||||||||||||||||||||||||||||||||||||||||||||||||||||||||
| Номер на рисунке | Артикул | Наименование | Кол-во на складе | Цена | |
| 2 | 87121-ZW9-S10 | Маркировка - мощность двигателя. (10) (Mark, rr. (10)) | под заказ | 1760 руб. | |
| 3 | 87124-ZW6-000 | Маркировка - индикация аварийного останова (Mark, emergency switch indication) | под заказ | по запросу | |
| 4 | 87125-ZW9-000 | Маркировка - стартер (Mark, starter) | под заказ | 670 руб. | |
| 5 | 87131-ZW9-S00 | Маркировка сбоку (Mark, side) | 2 шт | 1760 руб. | |
| 6 | 87132-ZW9-S00 | Маркировка - полоса сбоку (honda) (Mark, side stripe (honda)) | 2 шт | 1330 руб. | |
| 8 | 87135-ZW5-000 | Маркировка (e-spec) (Mark (e-spec)) | 2 шт | 400 руб. | |
| 9 | 87227-ZV7-000 | Маркировка - давление масла (Mark, oil pressure) | под заказ | 740 руб. | |
| 10 | 87511-ZW9-620 | Маркировка - замена (english / french) (Mark, change (english/french)) | под заказ | 610 руб. | |
| 12 | 87516-VA9-B50 | Маркировка - пользоваться осторожно (Mark, operator caution) | под заказ | 840 руб. | |
| 13 | 87516-ZV4-A10 | Маркировка - пользоваться осторожно (Mark, operator caution) | под заказ | 580 руб. | |
| 14 | 87531-ZW9-620 | Наклейка, осторожно масло (Label, oil caution) | под заказ | 680 руб. | |
| 15 | 87532-ZW9-620 | Маркировка - управление дросселем (english / french) (Mark, throttle (english/french)) | под заказ | 610 руб. | |
| 17 | 87538-ZW1-720 | Этикетка - предупреждение пользователя (ec) (Label, warning operator (ec)) | под заказ | 1980 руб. | |
| 17 | 87538-ZW1-721 | (последний код) LABEL, WARNING OPERATOR ( | под заказ | 1980 руб. | |
| 18 | 87546-ZW9-620 | Маркировка - аварийный запуск (french) (Mark, emergency starter (french)) | под заказ | 1110 руб. | |
| 19 | 87571-881-671 | Маркировка: осторожно, топливный бак (english / french) (Mark, tank caution (english/french)) | под заказ | по запросу | |
| 21 | 87573-881-670 | Маркировка - бак (english) (Mark, tank (english)) | под заказ | по запросу | |
| 21 | 87573-881-671 | Маркировка - бак (english) (Mark, tank (english)) | под заказ | по запросу | |
| 22 | 87574-881-670 | Маркировка - бак (french) (Mark, tank (french)) | под заказ | по запросу | |
| 22 | 87574-881-671 | Маркировка - бак (french) (Mark, tank (french)) | под заказ | по запросу | |
| 23 | 87634-ZW4-D20 | Маркировка - окружающая среда (epa 2006) (Mark, environment (epa 2006)) | под заказ | 1870 руб. | |
| 23 | 87634-ZW4-H10 | Маркировка - окружающая среда (2006 epa стандарт) (Mark, environment (2006 epa standard)) | под заказ | 1870 руб. | |
| 24 | 87634-ZW4-H11 | Маркировка - окружающая среда (ультра низкая эмиссия) (3-star) (Mark, environment (ultra low emission) (3-star)) | под заказ | 1980 руб. | |
| 3 | 87124-ZW6-U80 | Маркировка - индикация аварийного останова (eu) (Mark, emergency switch indication (eu)) | под заказ | 280 руб. | |
Время выполнения запроса 0.6846170425415 сек.
склад запчастей для водомоторной техники