вконтакте

Контактный телефон: +7 (981) 121-46-93, +7 (800) 200-90-76 , Email: parts-katalog@yandex.ru, где купить

 
 

  Логин:

Пароль:

Регистрация

www.partskatalog.ru Все каталоги Запчасти Mercury Запчасти Suzuki Запчасти Tohatsu Запчасти Honda Контакты



УВАЖАЕМЫЕ КЛИЕНТЫ!
C 31 ОКТЯБРЯ 2025 ПО 10 НОЯБРЯ 2025 ГОДА РАБОТАТЬ НЕ БУДЕМ



назад Раздел:   вперёд

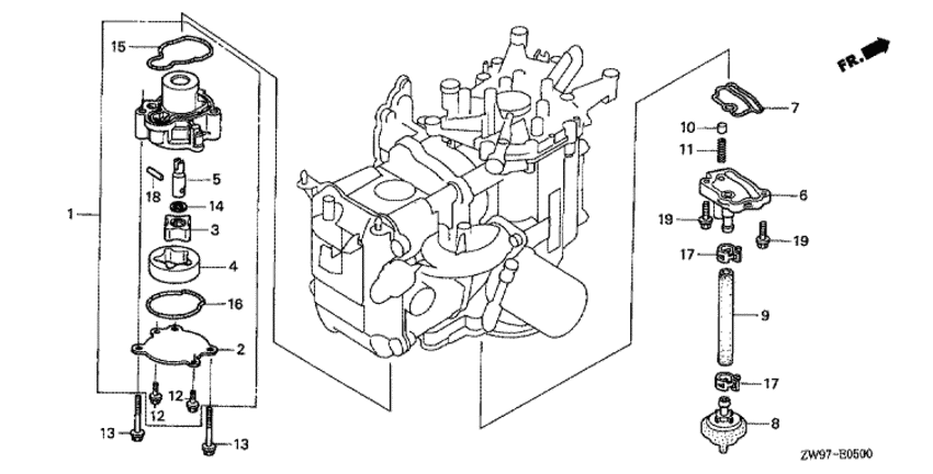
Модификация Вашего двигателя:   Honda BF10D2 XHE
Модели с серийным номером двигателя от BEABJ-1000001 до BEABJ-1999999
Модели с серийным номером рамы от BABJ-1100001 до BABJ-1199999

Вернуться к выбору узлов мотора

   Масляный насос
Oil Pump      


ДЕТАЛИРОВКА ДЛЯ МОДЕЛИ: HONDA BF10D2

Лодочный  мотор BF10D2 - Масляный насос / Oil Pump
Номер на
рисунке
АртикулНаименованиеКол-во
на складе
Цена
115100-ZW9-000

Масляный насос, в сборе (Pump assy., oil)

1 шт21770 руб. 
115100-ZW9-030

(последний код) PUMP ASSY., OIL

под заказ30580 руб. 
215121-ZW9-000

Корпус масляного насоса (Cover, oil pump)

под заказ1060 руб. 
315131-414-000

Ротор внутри (Rotor, inner)

под заказ2570 руб. 
415133-414-000

Ротор снаружи (Rotor, outer)

под заказ2030 руб. 
515136-ZW9-000

Вал масляного насоса (Shaft, oil pump)

под заказ1970 руб. 
615211-ZW9-010

Выступ сетчатого масляного фильтра (Flange, oil strainer)

под заказ5790 руб. 
715212-ZW9-000

Уплотнительное кольцо корпуса масляного фильтра (O-ring, oil strainer flange)

1 шт790 руб. 
815220-ZW9-003

Фильтр масла (Strainer comp., oil)

под заказ2740 руб. 
915422-ZW9-000

Масляная трубка (Tube, oil)

под заказ1730 руб. 
1015473-881-000

Контрольный клапан (Valve, check)

под заказ550 руб. 
1115474-ZW9-000

Пружина контрольного клапана (Spring, check valve)

под заказ710 руб. 
1290113-ZW9-000

Фланцевый болт, 5x12 (ct200) (Bolt, flange, 5x12 (ct200))

под заказ270 руб. 
1290113-ZW9-020

(последний код) BOLT, FLANGE, 5X12 (CT200

под заказ270 руб. 
1390019-ZW9-000

Фланцевый болт, 6x35 (Bolt, flange, 6x35)

под заказ530 руб. 
1490456-333-000

Упорная шайба, 11 мм (Washer, thrust, 11mm)

под заказ210 руб. 
1591301-ZW9-000

Уплотнительное кольцо масляного насоса (O-ring, oil pump)

1 шт600 руб. 
1691302-ZW9-000

Уплотнительное кольцо корпуса помпы (O-ring, pump cover)

под заказ570 руб. 
1791406-ZW9-003

Струбцина трубки (d17) (Clamp, tube (d17))

под заказ400 руб. 
1896220-40158

Ролик (Roller)

под заказ50 руб. 
1996300-060-220-9

Фланцевый болт, 6x22 (Bolt, flange, 6x22)

под заказ260 руб. 

Время выполнения запроса 0.38693189620972 сек.

 
 

данный сайт носит информационный характер и не является публичной офертой

склад запчастей для водомоторной техники