вконтакте

Контактный телефон: +7 (981) 121-46-93, +7 (800) 200-90-76 , Email: parts-katalog@yandex.ru, где купить

 
 

  Логин:

Пароль:

Регистрация

www.partskatalog.ru Все каталоги Запчасти Mercury Запчасти Suzuki Запчасти Tohatsu Запчасти Honda Контакты



УВАЖАЕМЫЕ КЛИЕНТЫ!
C 19 ДЕКАБРЯ 2025 ПО 02 МАРТА 2026 ГОДА ОТДЕЛ ЗАПЧАСТЕЙ И СЕРВИС РАБОТАТЬ НЕ БУДУТ
ПРОДАЖА ЛОДОЧНЫХ МОТОРОВ В ШТАТНОМ РЕЖИМЕ
ОБ ИЗМЕНЕНИЯХ В ГРАФИКЕ РАБОТЫ ЧИТАЙТЕ НА САЙТА



назад Раздел:   вперёд

Модификация Вашего двигателя:   Honda BF15AM SCS
Модели с серийным номером двигателя от BAAE-1200001 до BAAE-1299999
Модели с серийным номером рамы от BAAS-1200001 до BAAS-1299999

Вернуться к выбору узлов мотора

   Румпель (bf9.9am / b / bf15am / b)
Steering Handle (bf9.9am / B / Bf15am / B)      


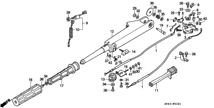
ДЕТАЛИРОВКА ДЛЯ МОДЕЛИ: HONDA BF15AM

Подвесной четырёх-тактный мотор BF15AM - Steering Handle (bf9.9am / B / Bf15am / B)
Номер на
рисунке
АртикулНаименованиеКол-во
на складе
Цена
117910-ZV4-000

Тросик дросселя (Cable comp., throttle)

2 шт1820 руб. 
217922-ZV4-010

Струбцина кабеля дросселя (Clamp, throttle cable)

под заказпо запросу 
317931-ZV4-010

Рукоятка дроссельной заслонки (Arm, throttle)

под заказ1970 руб. 
417933-ZV4-000

Держатель тяги дросселя (Holder, throttle rod)

6 шт1190 руб. 
617952-ZV4-000

Рычаг дросселя (Arm, choke)

под заказпо запросу 
717955-ZV4-000

Тяга ручки дросселя (Rod, choke knob)

под заказпо запросу 
817957-ZV4-000

Связующая втулка (Bush, linkage)

1 шт260 руб. 
936180-ZV4-651

Выключатель - аварийный останов двигателя, в сборе (Switch assy., emergency stop)

под заказпо запросу 
936180-ZV4-652

Выключатель - аварийный останов двигателя, в сборе (Switch assy., emergency stop)

под заказ6660 руб. 
936180-ZV4-506

(последний код) SW ASSY,EMERGENCY

под заказ6660 руб. 
1036182-ZV4-650

Шнур аварийной остановки двигателя (Cord comp., emergency)

под заказ3330 руб. 
1036182-ZV4-651

(последний код) CORD COMP., EMERGENCY

под заказ3330 руб. 
1140105-ZV4-000

Пыльник масляного картера (a) (Grommet, oil case (a))

под заказ3010 руб. 
1253101-ZV4-650ZB

Ручка руля (румпель) *nh282mu * (Handle, steering *nh282mu *)

под заказ16730 руб. 
1353102-ZV4-000

Барабан, Кабели (Reel, cable)

под заказ1240 руб. 
1453104-ZV4-010

Фрикционный болт (Bolt, friction)

под заказ840 руб. 
1553106-ZV4-000

Блокировка дросселя (Block, throttle friction)

под заказ260 руб. 
1653130-ZV4-650

Регулировочная пластина (Plate comp., adjusting)

под заказпо запросу 
1753141-ZV4-000

Трубка рукоятки (Pipe, grip)

под заказ3160 руб. 
1853165-ZV4-000

Резинка рукоятки (Rubber, grip)

под заказ2050 руб. 
1953171-921-000

Винт вращения рукоятки (Screw, handle pivot)

под заказ2650 руб. 
2053172-921-003

Пружина вращающейся рукоятки (Spring, handle pivot)

под заказпо запросу 
2153173-ZV4-000

Пружина фрикции дросселя (Spring, throttle friction)

под заказ400 руб. 
2690013-ZV0-000

Фланцевый болт, 6x12 (Bolt, flange, 6x12)

под заказ350 руб. 
2790116-ZV1-000

Болт (Bolt)

6 шт230 руб. 
2890302-921-000

Шестигранная гайка, 16 мм (Nut, hex., 16mm)

2 шт570 руб. 
2990306-ZV4-000

Шестигранная гайка, 8 мм (Nut, hex., 8mm)

под заказпо запросу 
3090452-GK4-600

Плоская шайба, 5 мм (Washer, plain, 5mm)

под заказ250 руб. 
3190504-921-010

Плоская шайба, 6 мм (Washer, plain, 6mm)

6 шт330 руб. 
3290507-ZV4-000

Плоская шайба, 8 мм (Washer, plain, 8mm)

под заказ360 руб. 
3390511-ZV4-000

Плоская шайба, 6 мм (Washer, plain, 6mm)

под заказ440 руб. 
3490512-921-010

Шайба, 6 мм (Washer, 6mm)

6 шт380 руб. 
3590514-ZV4-000

Шайба, 10 мм (Washer, 10mm)

под заказ420 руб. 
3690516-ZV4-000

Шайба, Румпель (Washer, steering handle)

под заказпо запросу 
3790759-ZV1-000

Стопорный шплинт, 2.0 (Pin, split, 2.0)

2 шт230 руб. 
3892101-06012-4J

Болт под шестигранник., 6x12 (Bolt, hex., 6x12)

под заказ240 руб. 
4194002-054-900-S

Шестигранная гайка, 5 мм (Nut, hex., 5mm)

под заказ110 руб. 
4294101-04200

Плоская шайба, 4 мм (Washer, plain, 4mm)

под заказ90 руб. 

Время выполнения запроса 1.6575210094452 сек.

 
 

данный сайт носит информационный характер и не является публичной офертой

склад запчастей для водомоторной техники