вконтакте

Контактный телефон: +7 (981) 121-46-93, +7 (800) 200-90-76 , Email: parts-katalog@yandex.ru, где купить

 
 

  Логин:

Пароль:

Регистрация

www.partskatalog.ru Все каталоги Запчасти Mercury Запчасти Suzuki Запчасти Tohatsu Запчасти Honda Контакты

назад Раздел:   вперёд

Модификация Вашего двигателя:   Honda BF15A1 SC
Модели с серийным номером двигателя от BAAE-1300001 до BAAE-1399999
Модели с серийным номером рамы от BAAS-1600001 до BAAS-1699999

Вернуться к выбору узлов мотора

   Комплект для установки зарядной розетки (6a)
Charge Receptacle Kit (6a)      


ДЕТАЛИРОВКА ДЛЯ МОДЕЛИ: HONDA BF15A1

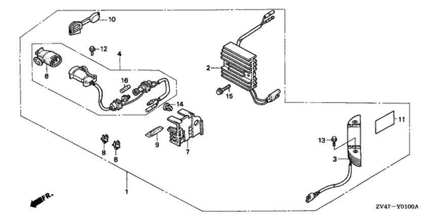
Подвесной 4-тактный мотор HONDA BF15A1 - Комплект для установки зарядной розетки (6a) - Charge Receptacle Kit (6a)
Номер на
рисунке
АртикулНаименованиеКол-во
на складе
Цена
106310-ZV4-020

Комплект для установки зарядной розетки (6a) (Receptacle kit, charge (6a))

под заказ19310 руб. 
231600-ZV4-661

Выпрямитель-регулятор, в сборе (12a) (Rectifier assy., regulator (12a))

под заказ18030 руб. 
231750-ZV7-003

(последний код) RECTIFIER ASSY., REGULATO

под заказ32760 руб. 
331630-ZV4-661

Зарядная катушка (12v-6a) (Coil assy., charge (12v-6a))

под заказ4650 руб. 
431650-ZV4-661

Зарядная розетка, в сборе (Receptacle assy., charge)

под заказ6160 руб. 
431650-ZV4-662

(последний код) RECEPTACLE ASSY., CHARGE

под заказ6430 руб. 
631652-881-014

Заглушка согласующего устройства (Plug, consent)

под заказ3290 руб. 
631652-881-024

(последний код) PLUG, CONSENT

3 шт3140 руб. 
732108-ZV4-870

Кронштейн коннектора (a) (Bracket, connector (a))

под заказпо запросу 
832913-MG9-950

Зажим, Провод (Clip, wire)

под заказпо запросу 
938207-ZV4-000

Запасной предохранитель (15a) (Fuse, spare (15a))

под заказ450 руб. 
1040107-ZV4-820

Пыльник C масляного картера (receptacle) (Grommet c, oil case (receptacle))

под заказпо запросу 
1187512-ZV4-820

Маркировка - резервуар (6a) (Mark, receptacle (6a))

под заказпо запросу 
1290014-ZV1-000

Фланцевый болт, 5x22 (Bolt, flange, 5x22)

под заказпо запросу 
1290014-ZV1-010

Фланцевый болт, 5x22 (Bolt, flange, 5x22)

под заказ230 руб. 
1390123-ZV0-000

Фланцевый болт, 6x32 (Bolt, flange, 6x32)

под заказ420 руб. 
1490683-ZV4-003

Анкерный зажим (Clip, anchor)

под заказ130 руб. 
1595701-0602002

Фланцевый болт, 6x20 (Bolt, flange, 6x20)

под заказ180 руб. 
1698200-11500

Предохранитель (15a) (Fuse (15a))

под заказ120 руб. 

Время выполнения запроса 0.63884592056274 сек.

 
 

данный сайт носит информационный характер и не является публичной офертой

склад запчастей для водомоторной техники