вконтакте

Контактный телефон: +7 (981) 121-46-93, +7 (800) 200-90-76 , Email: parts-katalog@yandex.ru, где купить

 
 

  Логин:

Пароль:

Регистрация

www.partskatalog.ru Все каталоги Запчасти Mercury Запчасти Suzuki Запчасти Tohatsu Запчасти Honda Контакты



УВАЖАЕМЫЕ КЛИЕНТЫ!
C 19 ДЕКАБРЯ 2025 ПО 02 МАРТА 2026 ГОДА ОТДЕЛ ЗАПЧАСТЕЙ И СЕРВИС РАБОТАТЬ НЕ БУДУТ
ПРОДАЖА ЛОДОЧНЫХ МОТОРОВ В ШТАТНОМ РЕЖИМЕ
ОБ ИЗМЕНЕНИЯХ В ГРАФИКЕ РАБОТЫ ЧИТАЙТЕ НА САЙТА



назад Раздел:   вперёд

Модификация Вашего двигателя:   Honda BF15A1 XCS
Модели с серийным номером двигателя от BAAE-1300001 до BAAE-1399999
Модели с серийным номером рамы от BAAS-1600001 до BAAS-1699999

Вернуться к выбору узлов мотора

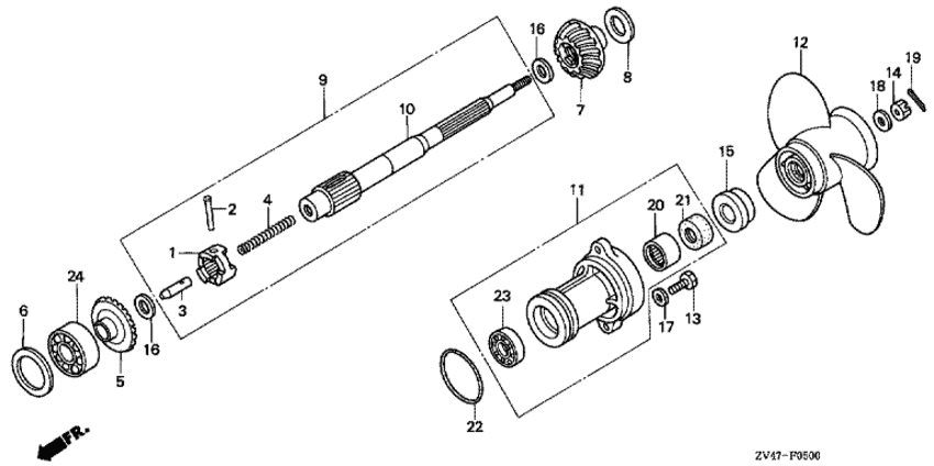
   Вал гребного винта / Гребной винт
Propeller Shaft / Propeller      


ДЕТАЛИРОВКА ДЛЯ МОДЕЛИ: HONDA BF15A1

Двигатель Honda BF15A1 - Propeller Shaft / Propeller - Вал гребного винта / Гребной винт
Номер на
рисунке
АртикулНаименованиеКол-во
на складе
Цена
124101-ZV4-300

Переключатель сцепления (Shifter, clutch)

под заказ6090 руб. 
224102-935-300

Штифт переключателя, 4x35 (Pin, shifter, 4x35)

под заказ260 руб. 
324122-ZV4-300

Ползунок переключателя (Slider, shift)

под заказ960 руб. 
424123-ZV1-300

Пружина переключателя (Spring, shift)

2 шт550 руб. 
541145-ZV4-000

Косая шестерня переднего хода (27t) (Gear comp., fr. bevel (27t))

1 шт28850 руб. 
641146-ZV4-000

Регулировочная шайба, 40 мм (a) (0.08 мм) (Shim, 40mm (a) (0.08mm))

под заказ420 руб. 
641147-ZV4-000

Регулировочная шайба, 40 мм (b) (0.10 мм) (Shim, 40mm (b) (0.10mm))

под заказ420 руб. 
641148-ZV4-000

Регулировочная шайба, 40 мм (c) (0.12 мм) (Shim, 40mm (c) (0.12mm))

под заказ420 руб. 
641149-ZV4-000

Регулировочная шайба, 40 мм (d) (0.15 мм) (Shim, 40mm (d) (0.15mm))

под заказ420 руб. 
741151-ZV4-000

Косая шестерня заднего хода (27t) (Gear, rr. bevel (27t))

под заказ28850 руб. 
841157-ZV4-000

Регулировочная шайба A шестерни (0.10 мм) (Shim a, gear (0.10mm))

под заказ520 руб. 
841158-ZV4-000

Регулировочная шайба B шестерни (0.15 мм) (Shim b, gear (0.15mm))

под заказ350 руб. 
941160-ZV4-000

Вал гребного винта, комплект (Shaft comp., propeller)

под заказ44120 руб. 
1041161-ZV4-300

Вал гребного винта (Shaft, propeller)

под заказ27490 руб. 
1141200-ZV4-040ZB

Обойма гребного винта, в сборе *nh282mu * (Holder assy., propeller shaft *nh282mu *)

под заказ23350 руб. 
1258130-ZV4-030ZB

Гребной винт, трёхлопастной (9-1 / 2x9-1 / 2) *nh283 * (Propeller comp., three blades (9-1/2x9-1/2) *nh283 *)

под заказ16220 руб. 
1258130-ZV4-703ZB

Гребной винт, трёхлопастной (9-1 / 2x8-5 / 8) *nh283 * (Propeller comp., three blades (9-1/2x8-5/8) *nh283 *)

под заказ21250 руб. 
1390124-ZV4-000

Болт под шестигранник., 6x20 (Bolt, hex., 6x20)

2 шт400 руб. 
1490301-ZV4-000

Гайка - башня, 10 мм (Nut, castle, 10mm)

3 шт1270 руб. 
1590501-ZV4-000

Упорная шайба гребного винта (Washer, propeller thrust)

под заказ2880 руб. 
1690503-921-020

Шайба, 17 мм (Washer, 17mm)

под заказ590 руб. 
1790506-ZV4-000

Плоская шайба, 6 мм (Washer, plain, 6mm)

4 шт380 руб. 
1890513-921-000

Шайба, 10 мм (Washer, 10mm)

3 шт370 руб. 
1990758-ZV4-000

Стопорный шплинт, 3 мм (Pin, split, 3mm)

под заказ140 руб. 
2091053-ZV4-003

Подшипник, игольчатый, 17x23x12 (Bearing, needle, 17x23x12)

под заказ2320 руб. 
2191251-935-004

Сальник, 17 мм (nok) (Seal, water, 17mm (nok))

под заказ1470 руб. 
2291351-ZV4-003

Уплотнительное кольцо, 58x3 (arai) (O-ring, 58x3 (arai))

1 шт520 руб. 
2396100-6005000

Подшипник, радиальный шариковый, 6005 (Bearing, radial ball, 6005)

под заказ1820 руб. 
236005NTN

   (подбор по маркировке) Подшипник NTN 6005(25*47*12 мм)

5 шт250 руб.
2496100-6205000

Подшипник, радиальный шариковый, 6205 (Bearing, radial ball, 6205)

5 шт1570 руб. 
246205NNTN

   (подбор по маркировке) Подшипник NTN 6205N(25*52*15 мм)

под заказ0

Время выполнения запроса 3.8199529647827 сек.

 
 

данный сайт носит информационный характер и не является публичной офертой

склад запчастей для водомоторной техники