вконтакте

Контактный телефон: +7 (981) 121-46-93, +7 (800) 200-90-76 , Email: parts-katalog@yandex.ru, где купить

 
 

  Логин:

Пароль:

Регистрация

www.partskatalog.ru Все каталоги Запчасти Mercury Запчасти Suzuki Запчасти Tohatsu Запчасти Honda Контакты



УВАЖАЕМЫЕ КЛИЕНТЫ!
C 19 ДЕКАБРЯ 2025 ПО 02 МАРТА 2026 ГОДА ОТДЕЛ ЗАПЧАСТЕЙ И СЕРВИС РАБОТАТЬ НЕ БУДУТ
ПРОДАЖА ЛОДОЧНЫХ МОТОРОВ В ШТАТНОМ РЕЖИМЕ
ОБ ИЗМЕНЕНИЯХ В ГРАФИКЕ РАБОТЫ ЧИТАЙТЕ НА САЙТА



назад Раздел:   вперёд

Модификация Вашего двигателя:   Honda BF15AX SE
Модели с серийным номером двигателя от BAAE-1200001 до BAAE-1299999
Модели с серийным номером рамы от BAAS-1400001 до BAAS-1499999

Вернуться к выбору узлов мотора

   Картер коробки передач / Удлинение корпуса
Gear Case / Extension Case      


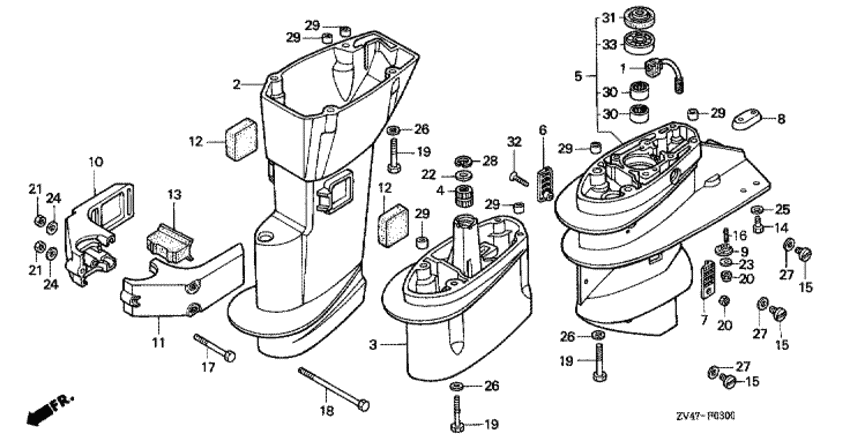
ДЕТАЛИРОВКА ДЛЯ МОДЕЛИ: HONDA BF15AX

Подвесной 4x-тактный лодочный мотор HONDA BF15AX - Картер коробки передач / Удлинение корпуса
Номер на
рисунке
АртикулНаименованиеКол-во
на складе
Цена
119280-ZV4-000

Нижняя водяная трубка (Tube comp., water bottom)

под заказ1720 руб. 
240201-ZV4-020ZB

Удлинитель копуса (s) *nh282mu * (Case, extension (s) *nh282mu *)

под заказ23710 руб. 
541100-ZV4-050ZB

Корпус "ноги" *nh282mu * (Case comp., gear *nh282mu *)

под заказ48050 руб. 
641104-ZV4-010

Экран для воды, правый (Screen, r. water)

под заказ630 руб. 
741105-ZV4-010

Экран для воды, левый (Screen, l. water)

под заказ630 руб. 
841106-ZV4-650

Металлический анод (Metal, anode)

под заказ1610 руб. 
841106-ZVA-000

(последний код) METAL, ANODE

под заказ1300 руб. 
941108-ZV4-000

Нижний водяной экран (Screen, water bottom)

под заказ1070 руб. 
1050111-ZV4-020ZB

Корпус, правое нижнее крепление *nh282mu * (Housing, r. lower mounting *nh282mu *)

под заказпо запросу 
1150121-ZV4-020ZB

Корпус, левое нижнее крепление *nh282mu * (Housing, l. lower mounting *nh282mu *)

под заказпо запросу 
1250152-ZV4-000

Резинка, смонтированная снизу (a) (Rubber, lower mount (a))

под заказ1190 руб. 
1350155-ZV4-000

Резинка, смонтированная снизу (b) (Rubber, lower mount (b))

под заказпо запросу 
1490101-ZV1-000

Болт под шестигранник., 6x18 (Bolt, hex., 6x18)

6 шт420 руб. 
1590105-ZV4-650

Болт контроля уровня масла, 8x8 (Bolt, oil check, 8x8)

под заказ670 руб. 
1590105-ZVA-000

(последний код) BOLT, OIL CHECK, 8X8

15 шт670 руб. 
1690106-ZV4-010

Болт под шпильку, 5x16 (Bolt, stud, 5x16)

под заказ320 руб. 
1790121-ZV4-000

Болт под шестигранник., 6x45 (Bolt, hex., 6x45)

под заказ380 руб. 
1890122-ZV4-000

Болт под шестигранник., 6x130 (Bolt, hex., 6x130)

под заказпо запросу 
1990123-ZV4-000

Болт под шестигранник., 8x50 (Bolt, hex., 8x50)

6 шт600 руб. 
2090302-ZV4-000

Гайка с замком, 5 мм (Nut, self-lock, 5mm)

под заказ1270 руб. 
2190304-ZV4-000

Шестигранная гайка, 6 мм (Nut, hex., 6mm)

под заказ280 руб. 
2390502-ZV4-000

Плоская шайба, 5 мм (Washer, plain, 5mm)

2 шт550 руб. 
2490503-ZV4-000

Плоская шайба, 6x13x1.5 (Washer, plain, 6x13x1.5)

под заказпо запросу 
2590506-ZV4-000

Плоская шайба, 6 мм (Washer, plain, 6mm)

4 шт380 руб. 
2690507-ZV4-000

Плоская шайба, 8 мм (Washer, plain, 8mm)

под заказ360 руб. 
2790507-921-000

Нейлоновая шайба, 8 мм (Washer, nylon, 8mm)

12 шт120 руб. 
2990703-HC4-000

Шпонка, 10x14 (Dowel pin, 10x14)

под заказ320 руб. 
299430110140

(последний код) PIN A, DOWEL, 10X14

под заказ270 руб. 
2994301-10140

Штифт a (Pin a)

под заказ270 руб. 
3091052-ZV4-003

Подшипник, игольчатый, 15x21x12 (Bearing, needle, 15x21x12)

под заказ2320 руб. 
3015BM2112KOYO

   (подбор по маркировке) Подшипник KOYO 15BM2112(15*21*12 мм)

под заказ0
3191252-935-004

Гидрозатвор, 15 мм (nok) (Water seal, 15mm (nok))

9 шт1820 руб. 
3293700-050-254-J

Овальный винт, 5x25 (Screw, oval, 5x25)

под заказ160 руб. 
3396100-6302000

Подшипник, радиальный шариковый, 6302 (Bearing, radial ball, 6302)

1 шт1640 руб. 
336302NTN

   (подбор по маркировке) Подшипник NTN 6302(15*42*13 мм)

под заказ0

Время выполнения запроса 2.5443539619446 сек.

 
 

данный сайт носит информационный характер и не является публичной офертой

склад запчастей для водомоторной техники