вконтакте

Контактный телефон: +7 (981) 121-46-93, +7 (800) 200-90-76 , Email: parts-katalog@yandex.ru, где купить

 
 

  Логин:

Пароль:

Регистрация

www.partskatalog.ru Все каталоги Запчасти Mercury Запчасти Suzuki Запчасти Tohatsu Запчасти Honda Контакты

Раздел:   вперёд

Модификация Вашего двигателя:   Honda BF20D3 SHSU
Модели с серийным номером двигателя от BEAMJ-1000001 до BEAMJ-
Модели с серийным номером рамы от BAMJ-1000001 до BAMJ-

Вернуться к выбору узлов мотора

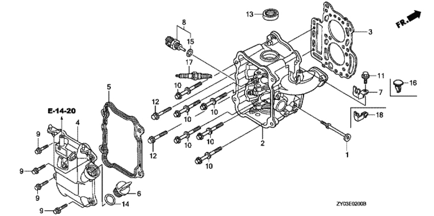
   Головка блока цилиндра
Cylinder Head      


ДЕТАЛИРОВКА ДЛЯ МОДЕЛИ: HONDA BF20D3

Подвесной  мотор Honda BF20D3 - Cylinder Head
Номер на
рисунке
АртикулНаименованиеКол-во
на складе
Цена
112166-ZW9-000

Стопор сбоку двигателя (Stopper, engine side)

под заказ1110 руб. 
112166-ZW9-010

(последний код) STOPPER, ENGINE SIDE

под заказ1110 руб. 
212210-ZY1-405ZA

Головка цилиндра, комплект *nh8 * (Head comp., cylinder *nh8 *)

под заказ108120 руб. 
312251-ZY1-003

Прокладка головки блока цилиндра (Gasket, cylinder head)

под заказ6760 руб. 
412310-ZW9-020

Крышка головки цилиндра (Cover comp., head)

под заказ16380 руб. 
412310-ZW9-030

Крышка головки цилиндра (Cover comp., head)

под заказ16380 руб. 
512312-ZW9-000

Прокладка крышки головки цилиндра (Packing, head cover)

2 шт1760 руб. 
615611-921-000

Крышка заливной горловины масла (жёлтый) (Cap, oil (yellow))

под заказ1030 руб. 
716617-ZW9-010

Держатель кабеля (Holder, cable)

под заказ1060 руб. 
835673-ZW5-003

Датчик температуры воды, в сборе (Sensor assy., water temperature)

1 шт2580 руб. 
990003-ZW9-000

Фланцевый болт, 6x22 (Bolt, flange, 6x22)

под заказ420 руб. 
1090007-ZW9-003

Фланцевый болт, 8x83 (Bolt, flange, 8x83)

под заказ1420 руб. 
1190011-ZW9-000

Фланцевый болт, 6x14 (ct200) (Bolt, flange, 6x14 (ct200))

под заказ370 руб. 
1290020-ZW9-000

Фланцевый болт, 8x40 (Bolt, flange, 8x40)

под заказ320 руб. 
1391202-KJ9-003

Сальник, 20x32x6 (Oil seal, 20x32x6)

2 шт950 руб. 
1491301-805-000

Уплотнительное кольцо, 26x2.7 (O-ring, 26x2.7)

под заказ380 руб. 
1591307-PK2-005

Уплотнительное кольцо (O-ring)

1 шт430 руб. 
1798059-55916

Свеча зажигания (cr5eh-9) (Plug, spark (cr5eh-9))

под заказ1470 руб. 
1798059-55926

Свеча зажигания (u16fer9) (Plug, spark (u16fer9))

под заказ1470 руб. 
1816617-ZW9-020

Держатель кабеля (Holder, cable)

под заказ920 руб. 

Время выполнения запроса 0.42014908790588 сек.

 
 

данный сайт носит информационный характер и не является публичной офертой

склад запчастей для водомоторной техники