Контактный телефон: +7 (981) 121-46-93, +7 (800) 200-90-76 , Email: parts-katalog@yandex.ru, где купить |
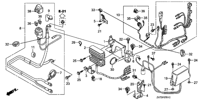
Модификация Вашего двигателя: Honda BF25D4 SRTD Вернуться к выбору узлов мотора Регулятор (2) |
|||||||||||||||||||||||||||||||||||||||||||||||||||||||||||||||||||||||||||||||||||||||||||||||||||||||||||||||||||||||||||||||||||||||||||||||||||||||||||||||||||||||||||||||||||||||||||||||||||||||||||||||||||||||||||||||||||||||||||||||||
| Номер на рисунке | Артикул | Наименование | Кол-во на складе | Цена | |
| 1 | 31604-ZV7-781 | Кронштейн регулятора (Bracket, regulator) | под заказ | 3880 руб. | |
| 1 | 31604-ZV7-782 | (последний код) Bracket, regulator | под заказ | 0 руб. | |
| 2 | 31750-ZW2-F01 | Выпрямитель-регулятор, в сборе (12a) (Rectifier assy., regulator (12a)) | под заказ | 31620 руб. | |
| 2 | 31750-ZW2-F92 | Выпрямитель-регулятор, в сборе (12a) (Rectifier assy., regulator (12a)) | под заказ | 32760 руб. | |
| 3 | 32108-ZV7-010 | Кронштейн коннектора (Bracket, connector) | под заказ | 1530 руб. | |
| 4 | 32111-ZW2-F10 | Кронштейн зажима b (Bracket, clip b) | под заказ | 1530 руб. | |
| 4 | 32111-ZW2-F11 | (последний код) Bracket, clip b | под заказ | 2160 руб. | |
| 5 | 32112-ZW2-F00 | Кронштейн корпуса предохранителя (Bracket, fuse case) | под заказ | 6380 руб. | |
| 5 | 32112-ZW2-F01 | (последний код) Bracket, fuse case | под заказ | 0 руб. | |
| 6 | 32119-ZW5-010 | Кронштейн зажима (e) (Bracket, clip (e)) | под заказ | 800 руб. | |
| 6 | 32119-ZW5-020 | (последний код) Bracket, clip (e) | под заказ | 1120 руб. | |
| 7 | 32121-HA0-003 | Ремешок шнура (Band, cord) | под заказ | 840 руб. | |
| 8 | 32410-ZW2-F60 | Кабель стартера, в сборе (ptt) (Cable assy., starter (ptt)) | под заказ | 38070 руб. | |
| 9 | 32411-ZW2-F11 | Колпачок свечи зажигания (Cover, terminal) | под заказ | 1810 руб. | |
| 10 | 32520-ZW2-F10 | Кабель для дистанционного управления (a) (Cable assy., remote control (a)) | под заказ | 24350 руб. | |
| 10 | 32520-ZW2-F11 | Кабель для дистанционного управления (a) (Cable assy., remote control (a)) | под заказ | по запросу | |
| 11 | 32903-701-000 | Фиксатор высоковольтного провода (Clamper, high tension cord) | под заказ | 140 руб. | |
| 18 | 37304-PE1-661 | Зажим b (Clip b) | под заказ | 630 руб. | |
| 19 | 38550-ZW2-F11 | Реле системы управления наклоном (Relay assy., power tilt) | под заказ | 40940 руб. | |
| 20 | 38552-ZW2-F10 | Кронштейн муфты (pt) (Bracket, coupler (pt)) | под заказ | 2160 руб. | |
| 21 | 90011-ZW9-000 | Фланцевый болт, 6x14 (ct200) (Bolt, flange, 6x14 (ct200)) | под заказ | 370 руб. | |
| 22 | 90013-ZV0-010 | Фланцевый болт, 6x12 (Bolt, flange, 6x12) | под заказ | 350 руб. | |
| 23 | 90013-ZW4-000 | Фланцевый болт, 6x12 (ct200) (Bolt, flange, 6x12 (ct200)) | под заказ | 490 руб. | |
| 24 | 90017-ZV0-C10 | Фланцевый болт, 6x18 (ct200) (Bolt, flange, 6x18 (ct200)) | под заказ | 370 руб. | |
| 25 | 90018-ZW5-000 | Фланцевый болт, 6x20 (Bolt, flange, 6x20) | под заказ | 290 руб. | |
| 27 | 90406-ZV5-010 | Шайба, 6 мм (Washer, 6mm) | под заказ | 600 руб. | |
| 27 | 90403-ZW1-000 | Плоская шайба, 6 мм (Washer, plain, 6mm) | под заказ | 600 руб. | |
| 30 | 90672-SA0-003 | Хомут (Strap) | под заказ | 870 руб. | |
| 31 | 90682-735-A01 | Зажим под жгут проводов (Clip, wire harness) | под заказ | 250 руб. | |
| 32 | 90683-KJ2-003 | Зажим под жгут проводов (Clip, wire harness) | под заказ | 610 руб. | |
| 33 | 90688-ZV4-003 | Зажим провода (Clip, cord) | под заказ | 300 руб. | |
| 34 | 91558-SD5-003 | Зажим (Clip) | под заказ | 560 руб. | |
| 35 | 98200-31000 | Предохранитель (Fuse) | под заказ | 70 руб. | |
| 36 | 98200-31500 | Предохранитель (Fuse) | под заказ | 70 руб. | |
| 37 | 90013-ZW9-000 | Фланцевый болт, 6x12 (Bolt, flange, 6x12) | под заказ | 320 руб. | |
| 38 | 38216-ZV5-003 | Крышка предохранителя (15a) (Cover assy., fuse (15a)) | под заказ | 960 руб. | |
| 39 | 38218-ZW5-004 | Крышка предохранителя (10a) (Cover assy., fuse (10a)) | под заказ | 1560 руб. | |
Время выполнения запроса 1.5906329154968 сек.
склад запчастей для водомоторной техники