вконтакте

Контактный телефон: +7 (981) 121-46-93, +7 (800) 200-90-76 , Email: parts-katalog@yandex.ru, где купить

 
 

  Логин:

Пароль:

Регистрация

www.partskatalog.ru Все каталоги Запчасти Mercury Запчасти Suzuki Запчасти Tohatsu Запчасти Honda Контакты



УВАЖАЕМЫЕ КЛИЕНТЫ!
C 31 ОКТЯБРЯ 2025 ПО 10 НОЯБРЯ 2025 ГОДА РАБОТАТЬ НЕ БУДЕМ



назад Раздел:   вперёд

Модификация Вашего двигателя:   Honda BF25A2 SRSG
Модели с серийным номером двигателя от BAJE-1000001 до BAJE-1999999
Модели с серийным номером рамы от BAJS-3220001 до BAJS-3299999

Вернуться к выбору узлов мотора

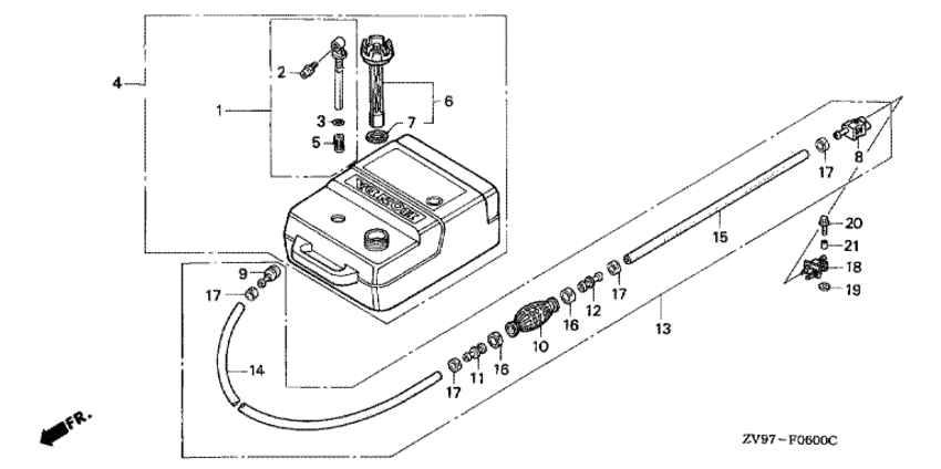
   Топливный бак
Fuel Tank      


ДЕТАЛИРОВКА ДЛЯ МОДЕЛИ: HONDA BF25A2

Лодочный четырёх тактный мотор BF25A2 - Топливный бак
Номер на
рисунке
АртикулНаименованиеКол-во
на складе
Цена
817650-ZW9-013

Топливный коннектор, в сборе (a) (Connector assy., fuel (a))

под заказ5330 руб. 
817650-ZW9-023

(последний код) CONNECTOR ASSY., FUEL (A)

4 шт5330 руб. 
8RTT-17650-ZW9-013

   (не оригинальный аналог) Топливный коннектор RTT-17650-ZW9-013

под заказ950 руб.
917660-ZW9-003

Коннектор топливного бака (Connector comp., fuel)

под заказ6730 руб. 
1017661-921-000

Груша для подкачки топлива (Bulb, primer)

под заказ2990 руб. 
1017661-921-010

(последний код) BULB, PRIMER

под заказ2990 руб. 
1117665-ZV5-000

Внутренний клапан (Valve comp., in.)

под заказ3190 руб. 
1217680-ZV4-000

Наружный клапан (Valve comp., outlet)

под заказ2800 руб. 
1317700-ZW9-020

Трубка для подключения топливного бака, в сборе (Tube assy., fuel)

под заказ14840 руб. 
1317700-ZW9-030

(последний код) TUBE ASSY., FUEL

под заказ14840 руб. 
1417701-ZV5-000

Длинная топливная трубка (7.3x2000) (Tube, fuel long (7.3x2000))

под заказ4740 руб. 
1517702-ZV4-000

Короткая топливная трубка (6.3x500) (Tube, fuel short (6.3x500))

под заказ870 руб. 
1617703-921-010

Зажимной ремешек трубки, 20 мм (Band, tube clip, 20mm)

под заказ580 руб. 
1717704-ZV4-010

Зажимной ремешек трубки, 12.5 мм (Band, tube clip, 12.5mm)

под заказ320 руб. 
1817710-ZW9-033

Топливный коннектор, в сборе (b) (Connector assy., fuel (b))

под заказ6760 руб. 
1917936-921-000

Опорная шайба (Washer, pivot)

3 шт260 руб. 
2090013-ZV4-010

Фланцевый болт, 6x20 (Bolt, flange, 6x20)

под заказ0 руб. 
2191551-ZV4-000

Промежуточный воротник (6 мм) (Collar, distance (6mm))

под заказ440 руб. 

Время выполнения запроса 0.82256007194519 сек.

 
 

данный сайт носит информационный характер и не является публичной офертой

склад запчастей для водомоторной техники