вконтакте

Контактный телефон: +7 (981) 121-46-93, +7 (800) 200-90-76 , Email: parts-katalog@yandex.ru, где купить

 
 

  Логин:

Пароль:

Регистрация

www.partskatalog.ru Все каталоги Запчасти Mercury Запчасти Suzuki Запчасти Tohatsu Запчасти Honda Контакты



УВАЖАЕМЫЕ КЛИЕНТЫ!
C 31 ОКТЯБРЯ 2025 ПО 10 НОЯБРЯ 2025 ГОДА РАБОТАТЬ НЕ БУДЕМ



назад Раздел:   вперёд

Модификация Вашего двигателя:   Honda BF30D4 LHGU
Модели с серийным номером двигателя от BEAUJ-1000001 до BEAUJ-
Модели с серийным номером рамы от BAUJ-1000001 до BAUJ-

Вернуться к выбору узлов мотора

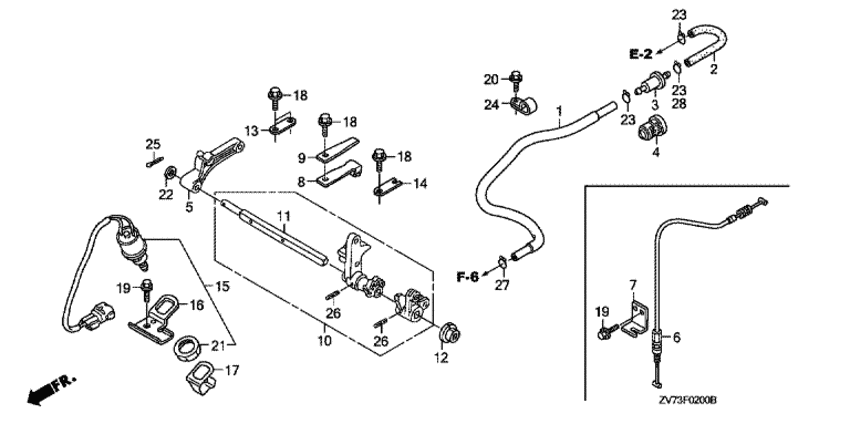
   Переключающий вал
Shift Shaft      


ДЕТАЛИРОВКА ДЛЯ МОДЕЛИ: HONDA BF30D4

Подвесной четырёхтактный двигатель BF30D4 - Shift Shaft
Номер на
рисунке
АртикулНаименованиеКол-во
на складе
Цена
116850-ZV7-000

Топливная трубка (Tube comp., fuel)

под заказ2360 руб. 
216861-ZV7-000

Топливная трубка B (Tube b, fuel)

под заказ1020 руб. 
316910-ZV4-015

Топливный фильтр (сетчатый) (Strainer comp., fuel)

5 шт1900 руб. 
416915-ZV4-000

Подвес для топливного фильтра (Suspension, strainer)

под заказ780 руб. 
517930-ZV5-000

Рукоятка дросселя (Arm comp., throttle)

под заказ3370 руб. 
824210-ZV1-010

Нажимная пружина, комплект (Spring comp., click)

под заказ2010 руб. 
924221-ZV4-010

Пружина с помощью при нажатии (Spring, click assist)

под заказ1270 руб. 
1024610-ZV7-010

Переключающий вал (Shaft comp., shift)

1 шт12220 руб. 
1124611-ZV7-300

Переключающий вал (Shaft, shift)

под заказ4770 руб. 
1224621-ZV4-010

Втулка вала (Bush, shaft)

под заказ610 руб. 
1324625-ZV5-010

Пластина переключателя (Plate, shift)

под заказ500 руб. 
1424626-ZV5-010

Пластина переключающего вала (Plate, shift shaft)

под заказ500 руб. 
1535600-ZV7-781

Переключатель нейтрали, в сборе (Switch assy., neutral)

под заказ14090 руб. 
1504302-ZV7-010

(последний код) SWITCH SET, NEUTRAL

под заказ14090 руб. 
1635616-ZV5-010

Кронштейн переключателя нейтрали (Bracket, neutral switch)

под заказ1940 руб. 
1735618-ZV5-000

Пластина переключателя нейтрали (Plate, neutral switch)

под заказ1200 руб. 
1890013-ZV0-010

Фланцевый болт, 6x12 (Bolt, flange, 6x12)

под заказ350 руб. 
2090019-ZV1-010

Фланцевый болт, 5x10 (Bolt, flange, 5x10)

под заказ280 руб. 
2190302-ZV5-003

Шестигранная гайка, 20 мм (Nut, hex., 20mm)

под заказ750 руб. 
2290508-ZV1-000

Шайба, 7.5 мм (Washer, 7.5mm)

под заказ650 руб. 
2390603-ZV4-000

Зажим трубки (b10) (Clip, tube (b10))

под заказ270 руб. 
2490628-750-000

Зажим (14 мм) (Clip (14mm))

под заказ560 руб. 
2590756-881-000

Стопорный шплинт (Pin, split)

под заказ230 руб. 
2590759-ZV1-000

Стопорный шплинт, 2.0 (Pin, split, 2.0)

2 шт230 руб. 
2694305-30203

Стопор пружины, 3x20 (Pin, spring, 3x20)

под заказ150 руб. 
2790604-ZV0-000

Зажим трубки (b12) (Clip, tube (b12))

под заказ150 руб. 

Время выполнения запроса 1.4360489845276 сек.

 
 

данный сайт носит информационный характер и не является публичной офертой

склад запчастей для водомоторной техники