вконтакте

Контактный телефон: +7 (981) 121-46-93, +7 (800) 200-90-76 , Email: parts-katalog@yandex.ru, где купить

 
 

  Логин:

Пароль:

Регистрация

www.partskatalog.ru Все каталоги Запчасти Mercury Запчасти Suzuki Запчасти Tohatsu Запчасти Honda Контакты



УВАЖАЕМЫЕ КЛИЕНТЫ!
C 31 ОКТЯБРЯ 2025 ПО 10 НОЯБРЯ 2025 ГОДА РАБОТАТЬ НЕ БУДЕМ



назад Раздел:   вперёд

Модификация Вашего двигателя:   Honda BF45AM LRC
Модели с серийным номером двигателя от BAFE-1000001 до BAFE-1099999
Модели с серийным номером рамы от BLAF-1009173 до BLAF-1099999

Вернуться к выбору узлов мотора

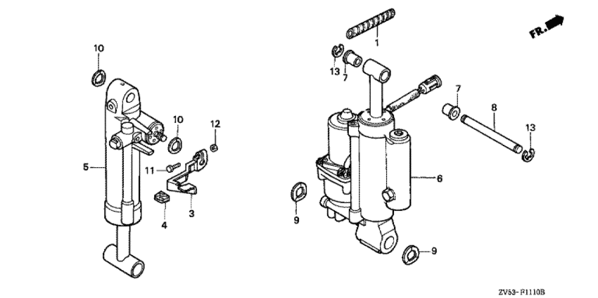
   Управление наклоном / Демпфер
Power Tilt / Damper      


ДЕТАЛИРОВКА ДЛЯ МОДЕЛИ: HONDA BF45AM

Двигатель BF45AM - Управление наклоном / Демпфер
Номер на
рисунке
АртикулНаименованиеКол-во
на складе
Цена
350517-ZV5-000

Рычаг наклона (Lever, tilt)

под заказпо запросу 
450543-ZV5-000

Рукоятка рычага (Grip, lever)

под заказпо запросу 
551601-ZV5-003ZA

Демпфер в сборе. *nh283 * (Damper assy. *nh283 *)

под заказ102100 руб. 
551601-ZV5-013ZA

(последний код) DAMPER ASSY. *NH283 *

под заказ153380 руб. 
756512-ZV5-000

Втулка верхнего цилиндра (Bush, upper cylinder)

5 шт650 руб. 
856532-ZV5-000

Штифт верхнего цилиндра (Pin, upper cylinder)

под заказ2260 руб. 
856532-ZZ5-C00

(последний код) PIN, UPPER CYLINDER

под заказ2260 руб. 
1090505-ZV5-000

Волнистая шайба, 24 мм (Washer, wave, 24mm)

под заказпо запросу 
1192101-06025-4J

Болт под шестигранник., 6x25 (Bolt, hex., 6x25)

под заказ310 руб. 
1294001-064-900-S

Гайка (Nut)

под заказ200 руб. 
1394540-10029

Уплотнительное кольцо, 10 мм (E-ring, 10mm)

под заказ880 руб. 

Время выполнения запроса 0.27272701263428 сек.

 
 

данный сайт носит информационный характер и не является публичной офертой

склад запчастей для водомоторной техники