вконтакте

Контактный телефон: +7 (981) 121-46-93, +7 (800) 200-90-76 , Email: parts-katalog@yandex.ru, где купить

 
 

  Логин:

Пароль:

Регистрация

www.partskatalog.ru Все каталоги Запчасти Mercury Запчасти Suzuki Запчасти Tohatsu Запчасти Honda Контакты

назад Раздел:   вперёд

Модификация Вашего двигателя:   Honda BF50A4 SRTE
Модели с серийным номером двигателя от BAZE-3000001 до BAZE-9999999
Модели с серийным номером рамы от BAZS-3400001 до BAZS-3499999

Вернуться к выбору узлов мотора

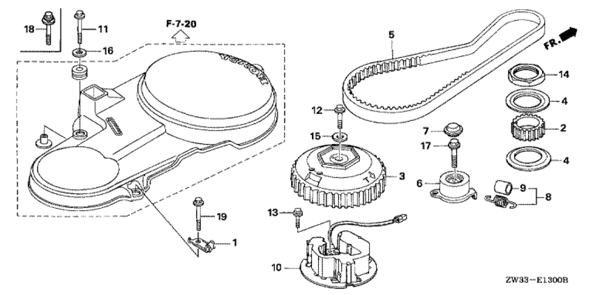
   Ремень распредвала
Timing Belt      


ДЕТАЛИРОВКА ДЛЯ МОДЕЛИ: HONDA BF50A4

Подвесной четырёх тактный лодочный двигатель Honda BF50A4 - Ремень распредвала - Timing Belt
Номер на
рисунке
АртикулНаименованиеКол-во
на складе
Цена
112328-ZV5-010

Струбцина трубки (Clamp, tube)

под заказ590 руб. 
214311-ZV5-000

Шкив ремня (Pulley, timing)

под заказ12970 руб. 
314320-ZW4-H00

Шкив распредвала (Pulley comp., camshaft)

под заказ27140 руб. 
414323-ZV5-000

Пластина направляющей ремня распредвала (Plate, timing belt guide)

под заказ1760 руб. 
514400-ZV5-014

Ремень ГРМ (Belt, timing)

1 шт15710 руб. 
614510-ZV5-003

Натяжитель ремня распредвала (Tensioner comp., timing belt)

под заказ20060 руб. 
614510-ZV5-013

(последний код) TENSIONER COMP., TIMING B

под заказ27770 руб. 
714515-ZV5-000

Крышка натяжителя ремня распредвала (Cap, timing belt tensioner)

под заказ1070 руб. 
814520-ZV5-020

Пружина регулировки ремня распредвала, комплект (Spring comp., timing belt adjusting)

под заказ940 руб. 
914522-ZV5-000

Сапог пружины (Boot, spring)

под заказ510 руб. 
1030400-ZV5-003

Импульсная катушка (Coil assy., pulser)

под заказ31790 руб. 
1190019-ZW5-000

Фланцевый болт, 6x25 (Bolt, flange, 6x25)

под заказпо запросу 
1290031-ZV5-010

Фланцевый болт, 10x32 (Bolt, flange, 10x32)

под заказ0 руб. 
1390050-ZY3-000

Фланцевый болт, 6x12 (Bolt, flange, 6x12)

под заказ0 руб. 
1490202-ZV5-000

Блокирующая гайка, 48 мм (Nut, lock, 48mm)

под заказ5740 руб. 
1590435-ZV5-010

Шайба, 10x28x5 (Washer, 10x28x5)

под заказ0 руб. 
1690508-ZY3-000

Плоская шайба, 6 мм (Washer, plain, 6mm)

под заказ130 руб. 
1795701-100-380-8

Болт (Bolt)

под заказ230 руб. 
1890013-ZW1-000

Болт с шайбой, 6x25 (Bolt-washer, 6x25)

под заказ690 руб. 
1990016-ZW9-000

Фланцевый болт, 6x25 (Bolt, flange, 6x25)

под заказ420 руб. 

Время выполнения запроса 1.1042728424072 сек.

 
 

данный сайт носит информационный характер и не является публичной офертой

склад запчастей для водомоторной техники