вконтакте

Контактный телефон: +7 (981) 121-46-93, +7 (800) 200-90-76 , Email: parts-katalog@yandex.ru, где купить

 
 

  Логин:

Пароль:

Регистрация

www.partskatalog.ru Все каталоги Запчасти Mercury Запчасти Suzuki Запчасти Tohatsu Запчасти Honda Контакты

назад Раздел:   вперёд

Модификация Вашего двигателя:   Honda BF50D EFI; SRTD
Модели с серийным номером двигателя от BEBEJ-1000001 до BEBEJ-
Модели с серийным номером рамы от BBEJ-1000001 до BBEJ-

Вернуться к выбору узлов мотора

   Трубопровод
Tubing      


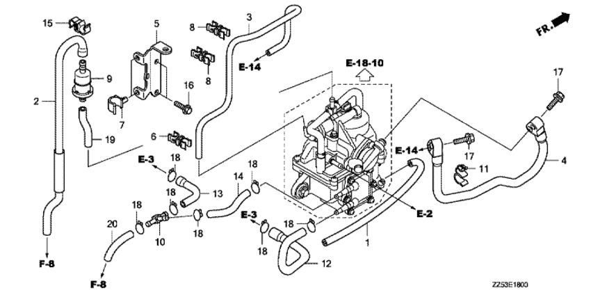
ДЕТАЛИРОВКА ДЛЯ МОДЕЛИ: HONDA BF50D

Подвесной четырёх тактный лодочный мотор BF50D - Трубопровод
Номер на
рисунке
АртикулНаименованиеКол-во
на складе
Цена
116198-ZZ5-000

Трубка, drain (Tube, drain)

под заказ0 руб. 
216199-ZZ5-000

Трубка comp., air vent (Tube comp., air vent)

под заказ0 руб. 
316748-ZZ5-000

Трубка управления регулировкой давления (Tube, pressure regulator control)

под заказпо запросу 
416755-ZZ5-003

Топливный шланг (Hose comp., fuel)

под заказ20990 руб. 
516816-ZZ5-000

Кронштейн a, Трубка Струбцина (Bracket a, tube clamp)

под заказ0 руб. 
616895-ZZ5-003

Струбцина трубки воздуховода (Clamp, air vent tube)

под заказ0 руб. 
716896-ZY9-003

Струбцина B (Clamp b)

под заказ580 руб. 
816898-ZY9-003

Зажим D топливной трубки (Clamp d, fuel tube)

под заказ1020 руб. 
916910-ZV4-015

Топливный фильтр (сетчатый) (Strainer comp., fuel)

5 шт1900 руб. 
1016960-ME9-000

Трубка соеденительного тройника (Pipe, three way joint)

под заказ2720 руб. 
1117439-PY3-A01

Струбцина (Clamp)

под заказ570 руб. 
1219255-ZZ5-000

Водяная трубка A (Tube a, water)

под заказ0 руб. 
1319256-ZZ5-000

Водяная трубка B (Tube b, water)

под заказ790 руб. 
1419257-ZZ5-000

Водяная трубка C (Tube c, water)

под заказ0 руб. 
1547585-SJ6-003

Зажим (Clip)

под заказ450 руб. 
1690011-ZW9-000

Фланцевый болт, 6x14 (ct200) (Bolt, flange, 6x14 (ct200))

под заказ370 руб. 
1790016-ZW9-000

Фланцевый болт, 6x25 (Bolt, flange, 6x25)

под заказ420 руб. 
1890603-ZV4-000

Зажим трубки (b10) (Clip, tube (b10))

под заказ270 руб. 
1995001-550-354-0

Топливный шланг, 5.3x35 (95001-55001-60m) (Tube, fuel, 5.3x35 (95001-55001-60m))

под заказ0 руб. 
2095005-500-453-0

Трубка, 5x45 (95005-50001-30m) (Tube, 5x45 (95005-50001-30m))

под заказ0 руб. 
316748-ZZ5-010

Трубка, pressure Регулятор (Tube, pressure regulator)

под заказ0 руб. 

Время выполнения запроса 0.39599800109863 сек.

 
 

данный сайт носит информационный характер и не является публичной офертой

склад запчастей для водомоторной техники