Контактный телефон: +7 (981) 121-46-93, +7 (800) 200-90-76 , Email: parts-katalog@yandex.ru, где купить |
Модификация Вашего двигателя: Honda BF75AT LHTC Вернуться к выбору узлов мотора Термостат |
|||||||||||||||||||||||||||||||||||||||||||||||||||||||||||||||||||||||||||||||||||||||||||||||||||||||||||||||||||||||||||||||||||||||||||||||||||||||||||||||||||||||||||||||
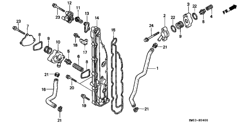
| Номер на рисунке | Артикул | Наименование | Кол-во на складе | Цена | |
| 1 | 19274-ZW1-000 | Шланг, flushing water (Hose, flushing water) | под заказ | по запросу | |
| 2 | 19277-ZW1-000ZA | Крышка сливного клапана *nh8 * (Cover, flush valve *nh8 *) | под заказ | по запросу | |
| 3 | 19278-ZW1-000ZA | Прокладка, flush Клапан *nh8 * (Spacer, flush valve *nh8 *) | под заказ | по запросу | |
| 4 | 19279-ZW1-000 | Пружина сливного клапана (Spring, flush valve) | под заказ | 520 руб. | |
| 5 | 19291-ZW1-000 | Сброс клапана (Valve, relief) | под заказ | 1340 руб. | |
| 6 | 19292-ZW1-000 | Пружина освобождения клапана (Spring, relief valve) | под заказ | 640 руб. | |
| 7 | 19295-ZW1-000 | Крышка предохранительного клапана (Cover, relief valve) | под заказ | по запросу | |
| 8 | 19296-ZW1-000 | Прокладка крышки предохранительного клапана (Packing, relief valve cover) | под заказ | 810 руб. | |
| 9 | 19297-ZW1-000 | Прокладка, relief Клапан (Packing, relief valve) | под заказ | 910 руб. | |
| 10 | 19298-ZW1-000ZA | Прокладка, relief Клапан *nh8 * (Spacer, relief valve *nh8 *) | под заказ | 18900 руб. | |
| 11 | 19300-ZV5-033 | Термостат в сборе. (Thermostat assy.) | под заказ | 4620 руб. | |
| 11 | 19300-ZV5-043 | (последний код) THERMOSTAT ASSY. | 2 шт | 6920 руб. | |
| 12 | 19315-ZV5-010ZA | Крышка термостата *nh8 * (Cover, thermostat *nh8 *) | под заказ | 6200 руб. | |
| 13 | 19351-ZV5-000 | Прокладка крышки термостата (Gasket, thermostat cover) | 4 шт | 350 руб. | |
| 14 | 19360-ZW1-000ZA | Крышка водяной рубашки *nh8 * (Cover comp., water jacket *nh8 *) | под заказ | 36310 руб. | |
| 15 | 19371-ZW1-000 | Прокладка крышки водяной рубашки (Packing, water jacket cover) | под заказ | 4460 руб. | |
| 16 | 19508-ZW1-000 | Шланг, water bypass (Hose, water bypass) | под заказ | по запросу | |
| 17 | 32761-PV0-000 | Остановка (Stay) | под заказ | по запросу | |
| 18 | 90013-ZV0-000 | Фланцевый болт, 6x12 (Bolt, flange, 6x12) | под заказ | 350 руб. | |
| 19 | 90121-ZV0-000 | Фланцевый болт, 6x25 (Bolt, flange, 6x25) | под заказ | 380 руб. | |
| 19 | 90121-ZV0-010 | (последний код) BOLT, FLANGE, 6X25 | под заказ | 380 руб. | |
| 20 | 90123-ZV0-000 | Фланцевый болт, 6x32 (Bolt, flange, 6x32) | под заказ | 420 руб. | |
| 21 | 90602-ZV3-000 | Струбцина трубки (d18.8) (Clamp, tube (d18.8)) | под заказ | по запросу | |
| 22 | 91356-SD4-953 | Уплотнительное кольцо (O-ring) | под заказ | 430 руб. | |
| 23 | 95701-060-400-2 | Фланцевый болт, 6x40 (Bolt, flange, 6x40) | под заказ | 150 руб. | |
| 24 | 95701-060-550-2 | Фланцевый болт, 6x55 (Bolt, flange, 6x55) | под заказ | по запросу | |
Время выполнения запроса 1.7992539405823 сек.
склад запчастей для водомоторной техники