вконтакте

Контактный телефон: +7 (981) 121-46-93, +7 (800) 200-90-76 , Email: parts-katalog@yandex.ru, где купить

 
 

  Логин:

Пароль:

Регистрация

www.partskatalog.ru Все каталоги Запчасти Mercury Запчасти Suzuki Запчасти Tohatsu Запчасти Honda Контакты

назад Раздел:   вперёд

Модификация Вашего двигателя:   Honda BF175A6 XU
Модели с серийным номером двигателя от BEAJJ-1100001 до BEAJJ-
Модели с серийным номером рамы от BAJJ-1200001 до BAJJ-

Вернуться к выбору узлов мотора

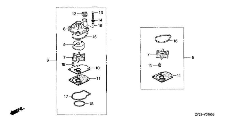
   Ремкомплекты водяного насоса (комплекты с крыльчаткой)
Water Pump Impeller Set      


ДЕТАЛИРОВКА ДЛЯ МОДЕЛИ: HONDA BF175A6

Подвесной четырёх тактный мотор HONDA BF175A6 - Water Pump Impeller Set / Ремкомплекты водяного насоса (комплекты с крыльчаткой)
Номер на
рисунке
АртикулНаименованиеКол-во
на складе
Цена
506192-ZY3-000

Ремкомплект водяной помпы (Pump kit, impeller)

3 шт12900 руб. 
5SK06192-ZY3-000

   (не оригинальный аналог) Ремкомплект помпы Standard Skipper для Honda 175-225

0 шт2035 руб.
5T-18-3285

   (не оригинальный аналог) Ремкомплект насоса охлаждения Honda 18-3285 (Sierra)

под заказ6740 руб.
5T-06192-ZY3-000

   (не оригинальный аналог) Ремкомплект насоса охлаждения Honda 06192-ZY3-000 (MIZASHI)

под заказпо запросу
606193-ZY3-000

Ремкомплект водяной помпы (Pump kit, impeller)

под заказ27940 руб. 
719210-ZY3-003

Крыльчатка водяной помпы (Impeller, pump)

2 шт9620 руб. 
7T-500391

   (не оригинальный аналог) Крыльчатка помпы охлаждения двигателя Honda 500391 (CEF)

под заказ3730 руб.
7T-18-3285

   (не оригинальный аналог) Ремкомплект насоса охлаждения Honda 18-3285 (Sierra)

под заказ6740 руб.
7T-06192-ZY3-000

   (не оригинальный аналог) Ремкомплект насоса охлаждения Honda 06192-ZY3-000 (MIZASHI)

под заказпо запросу
819221-ZY3-000

Корпус крыльчатки (Housing, impeller)

под заказ10320 руб. 
819221-ZY3-010

(последний код) HOUSING, IMPELLER

под заказ10320 руб. 
919223-ZY3-000

Гильза помпы (Liner, pump)

1 шт5960 руб. 
1019231-ZY3-000

Колпак крыльчатки (Cover, impeller)

под заказ3100 руб. 
1119234-ZY3-000

Прокладка B крыльчатки (Gasket b, impeller)

8 шт1520 руб. 
1219253-ZY3-000

Кольцо сальника водяной трубки (Ring, water tube seal)

2 шт1430 руб. 
1390116-ZY3-000

Болт под шестигранник., 8x60 (Bolt, hex., 8x60)

под заказ270 руб. 
1490514-921-000

Шайба, 8 мм (Washer, 8mm)

2 шт320 руб. 
1590752-ZY3-003

Ключ, woodruff (Key, woodruff)

под заказ2590 руб. 
1691356-ZY3-003

Уплотнительное кольцо водяной помпы (O-ring, water pump)

2 шт1580 руб. 
1791358-ZY3-003

Уплотнительное кольцо корпуса водяной помпы (O-ring, water pump housing)

1 шт1580 руб. 
1891359-ZY3-003

Уплотнительное кольцо, 69.1x2.4 (O-ring, 69.1x2.4)

3 шт1580 руб. 
1991551-ZY3-000

Промежуточный воротник (Collar, distance)

под заказ0 руб. 

Время выполнения запроса 0.92020010948181 сек.

 
 

данный сайт носит информационный характер и не является публичной офертой

склад запчастей для водомоторной техники