Контактный телефон: +7 (981) 121-46-93, +7 (800) 200-90-76 , Email: parts-katalog@yandex.ru, где купить |
Модификация Вашего двигателя: Honda BF175A6 XXCU Вернуться к выбору узлов мотора Топливные трубки / инжектор |
|||||||||||||||||||||||||||||||||||||||||||||||||||||||||||||||||||||||||||||||||||||||||||||||||||||||||||||||||||||||||||||||||||||||||||||||||||||||||||||||||||||||||||||||||||||||||||||||||||||||||||||||||||||||||
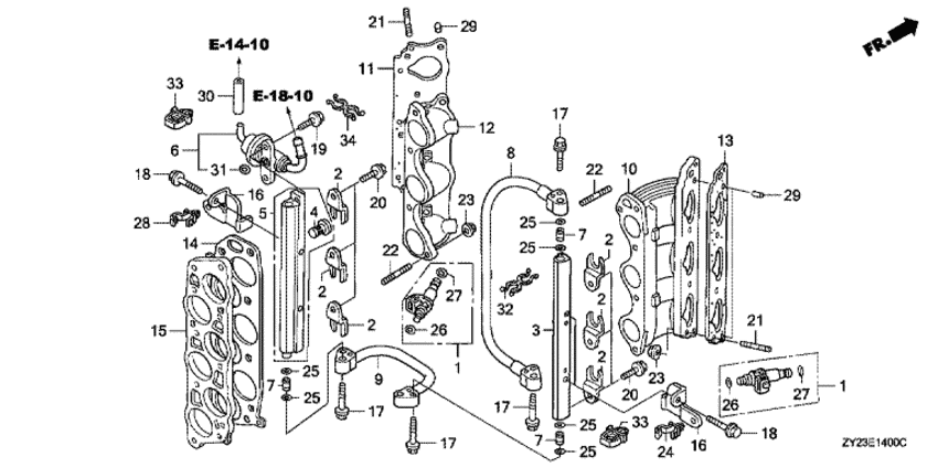
| Номер на рисунке | Артикул | Наименование | Кол-во на складе | Цена | |
| 1 | 16450-ZY6-003 | Топливный инжектор, в сборе (Injector assy., fuel) | под заказ | 31810 руб. | |
| 2 | 16451-ZY3-000 | Зажим, инжектор (Clip, injector) | под заказ | 0 руб. | |
| 3 | 16611-ZY3-A00 | Pipe, r. fuel (Pipe, r. fuel) | под заказ | 0 руб. | |
| 4 | 16614-P5G-003 | Mesh (Mesh) | под заказ | 1290 руб. | |
| 5 | 16620-ZY3-A00 | Pipe comp., l. fuel (Pipe comp., l. fuel) | под заказ | 0 руб. | |
| 6 | 16740-ZY3-A01 | Регулятор в сборе., pressure (Regulator assy., pressure) | под заказ | 18230 руб. | |
| 7 | 16752-ZY3-A00 | Соеденитель топливной трубки (Joint, fuel pipe) | 3 шт | 1320 руб. | |
| 8 | 16755-ZY3-003 | Топливный шланг (Hose comp., fuel) | под заказ | 0 руб. | |
| 9 | 16757-ZY3-003 | Соеденитель топливного шланга (Hose comp., fuel joint) | под заказ | 16880 руб. | |
| 10 | 17051-ZY3-A00 | Основание, r. инжектор (Base, r. injector) | под заказ | 0 руб. | |
| 12 | 17061-ZY3-A00 | Основание, l. инжектор (Base, l. injector) | под заказ | 0 руб. | |
| 14 | 17105-P8E-A01 | Прокладка (Gasket) | 1 шт | 13720 руб. | |
| 15 | 17108-ZY3-000 | Прокладка, Впускной коллектор (Spacer, intake manifold) | под заказ | 24440 руб. | |
| 16 | 32112-ZY3-000 | Кронштейн клипсы жгута проводов a (Bracket, harness clip a) | под заказ | 0 руб. | |
| 17 | 90016-ZW9-000 | Фланцевый болт, 6x25 (Bolt, flange, 6x25) | под заказ | 420 руб. | |
| 18 | 90019-ZW9-000 | Фланцевый болт, 6x35 (Bolt, flange, 6x35) | под заказ | 530 руб. | |
| 19 | 90021-ZY3-000 | Фланцевый болт, 6x14 (Bolt, flange, 6x14) | под заказ | 220 руб. | |
| 20 | 90042-ZY3-000 | Фланцевый болт, 6x10 (Bolt, flange, 6x10) | под заказ | 220 руб. | |
| 21 | 90043-ZY3-000 | Болт под шпильку, 8x28 (Bolt, stud, 8x28) | под заказ | 430 руб. | |
| 22 | 90044-ZY3-000 | Болт под шпильку, 8x45 (Bolt, stud, 8x45) | под заказ | 0 руб. | |
| 23 | 90205-ZY3-000 | Гайка с фланцем, 8 мм (Nut, flange, 8mm) | под заказ | 180 руб. | |
| 24 | 90650-SB2-003 | Зажим (Clip) | под заказ | 330 руб. | |
| 25 | 91301-MJ0-003 | Уплотнительное кольцо, 7.8x1.9 (arai) (O-ring, 7.8x1.9 (arai)) | под заказ | 460 руб. | |
| 26 | 91301-PLC-000 | Уплотнительное кольцо (O-ring) | под заказ | 420 руб. | |
| 27 | 91302-PNA-003 | Уплотнительное кольцо (O-ring) | под заказ | 290 руб. | |
| 28 | 91505-ZA0-601 | Зажим, Жгут проводов, 7 мм (Clip, harness, 7mm) | под заказ | по запросу | |
| 29 | 94301-10120 | Шпонка (Dowel pin) | под заказ | 270 руб. | |
| 30 | 95001-350-504-0 | Топливный шланг, 3.5x50 (95001-35001-60m) (Tube, fuel, 3.5x50 (95001-35001-60m)) | под заказ | 0 руб. | |
| 31 | 16741-PG7-005 | Уплотнительное кольцо (O-ring) | под заказ | 280 руб. | |
| 32 | 78419-SJ6-003 | Зажим d, Спидометр Кабели (Clip d, speedometer cable) | под заказ | 450 руб. | |
| 33 | 91504-750-003 | Зажим под жгут проводов (чёрный) (Clip, wire harness (black)) | под заказ | 450 руб. | |
| 11 | 17065-RCA-A01 | Прокладка (Gasket) | под заказ | 9060 руб. | |
| 13 | 17055-RCA-A01 | Прокладка (Gasket) | 1 шт | 9060 руб. | |
Время выполнения запроса 0.53233098983765 сек.
склад запчастей для водомоторной техники