вконтакте

Контактный телефон: +7 (981) 121-46-93, +7 (800) 200-90-76 , Email: parts-katalog@yandex.ru, где купить

 
 

  Логин:

Пароль:

Регистрация

www.partskatalog.ru Все каталоги Запчасти Mercury Запчасти Suzuki Запчасти Tohatsu Запчасти Honda Контакты

назад Раздел:   вперёд

Модификация Вашего двигателя:   Honda BF200A3 XC
Модели с серийным номером двигателя от BEAEJ-1000001 до BEAEJ-1099999
Модели с серийным номером рамы от BAEJ-1100001 до BAEJ-1199999

Вернуться к выбору узлов мотора

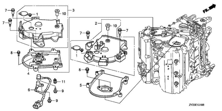
   Кожух ремня распредвала
Timing Belt Cover      


ДЕТАЛИРОВКА ДЛЯ МОДЕЛИ: HONDA BF200A3

Лодочный четырёхтактный мотор BF200A3 - Кожух ремня распредвала
Номер на
рисунке
АртикулНаименованиеКол-во
на складе
Цена
111812-P8A-A00

Пыльник (Grommet)

под заказ510 руб. 
211820-ZY3-000

Правая крышка ремня распредвала (Cover assy., r. timing belt)

под заказ9320 руб. 
211820-ZVL-000

(последний код) COVER ASSY., R. TIMING BE

под заказ13090 руб. 
311840-ZY3-000

Левая крышка ремня распредвала (Cover assy., l. timing belt)

под заказпо запросу 
411861-ZY3-000

Пластина левой крышки ремня распредвала (Plate, l. timing belt cover)

под заказ0 руб. 
511871-ZY3-000

Пластина правой крышки ремня распредвала (Plate, r. timing belt cover)

под заказ0 руб. 
635695-ZY3-003

Датчик comp., tdc1-tdc2 (Sensor comp., tdc1-tdc2)

под заказ43350 руб. 
790007-ZY3-000

Болт, Кожух ремня распредвала (Bolt, timing belt cover)

под заказ0 руб. 
890017-P8A-A01

Болт (Bolt)

под заказ790 руб. 
990018-ZY3-000

Фланцевый болт, 5x14 (Bolt, flange, 5x14)

под заказ0 руб. 
1091508-ZY3-000

Воротник, Кожух ремня распредвала (Collar, timing belt cover)

под заказ0 руб. 
1191541-S0A-003

Зажим (Clip)

под заказ380 руб. 

Время выполнения запроса 0.35991096496582 сек.

 
 

данный сайт носит информационный характер и не является публичной офертой

склад запчастей для водомоторной техники