Контактный телефон: +7 (981) 121-46-93, +7 (800) 200-90-76 , Email: parts-katalog@yandex.ru, где купить |
Модификация Вашего двигателя: Honda BF2.3D6 SCHU Вернуться к выбору узлов мотора Карбюратор |
|||||||||||||||||||||||||||||||||||||||||||||||||||||||||||||||||||||||||||||||||||||||||||||||||||||||||||||||||||||||||||||||||||||||||||||||||||||||||||||||||||||||||||||||||||||||||||||||||||||||
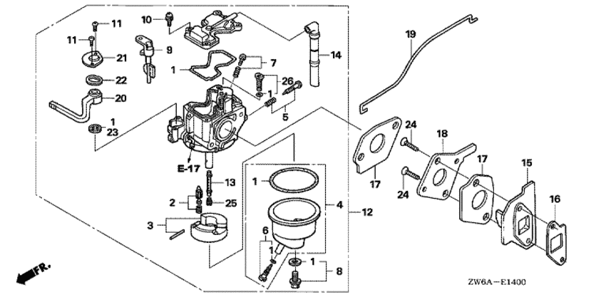
| Номер на рисунке | Артикул | Наименование | Кол-во на складе | Цена | |
| 1 | 16010-ZW6-611 | Комплект прокладок (Gasket set) | под заказ | 1520 руб. | |
| 2 | 16011-ZE0-005 | Клапан поплавка, набор (Valve set, float) | под заказ | 3560 руб. | |
| 3 | 16013-ZG0-811 | Поплавок, набор (Float set) | под заказ | 3980 руб. | |
| 4 | 16015-ZW6-611 | Поплавковая камера, набор (Chamber set, float) | под заказ | 8390 руб. | |
| 5 | 16016-ZW6-621 | Набор винтов (Screw set) | 4 шт | 1820 руб. | |
| 6 | 16024-ZB9-005 | Дренажный винт, комплект (Screw set, drain) | 1 шт | 1980 руб. | |
| 7 | 16028-ZW6-003 | Набор винтов (Screw set) | под заказ | 1680 руб. | |
| 8 | 16028-ZW6-611 | Набор винтов (Screw set) | под заказ | 1830 руб. | |
| 9 | 16044-ZV0-A01 | Рычаг дросселя (Lever set, choke) | под заказ | 4730 руб. | |
| 10 | 16081-ZV1-A00 | Винт с чашечкой (Screw, pan) | под заказ | 230 руб. | |
| 11 | 16082-ZW6-003 | Винт с чашечкой, 3x6 (Screw, pan, 3x6) | под заказ | 100 руб. | |
| 12 | 16100-ZW6-G01 | Карбюратор в сборе. (bf33g a) (Carburetor assy. (bf33g a)) | под заказ | 28780 руб. | |
| 13 | 16166-ZW6-G01 | Главная форсунка (Nozzle, main) | под заказ | 2930 руб. | |
| 14 | 16195-ZW6-000 | Вентиляционная трубка, в сборе (Tube assy., air vent) | под заказ | 1830 руб. | |
| 15 | 16211-ZN4-000 | Изолятор карбюратора (Insulator, carburetor) | под заказ | 1110 руб. | |
| 16 | 16212-ZM7-000 | Прокладка изолятора (Packing, insulator) | 6 шт | 230 руб. | |
| 17 | 16221-ZW6-000 | Прокладка карбюратора (Packing, carburetor) | под заказ | 300 руб. | |
| 17 | 16221-ZVA-000 | (последний код) PACKING, CARBURETOR | 1 шт | 300 руб. | |
| 18 | 16225-ZW6-G00 | Соеденительная пластина карбюратора (Plate, carburetor joint) | под заказ | 1700 руб. | |
| 18 | 16225-ZVA-000 | (последний код) PLATE, CARBURETOR JOINT | под заказ | 1700 руб. | |
| 19 | 16674-ZW6-000 | Тяга дросселя (Rod, choke) | 1 шт | 1140 руб. | |
| 19 | 16674-ZVA-000 | (последний код) ROD, CHOKE | под заказ | 1140 руб. | |
| 20 | 16953-ZW6-003 | Рычаг взвода (Lever, cock) | 1 шт | 1110 руб. | |
| 21 | 16954-ZW6-003 | Пластина для установки рычага (Plate, lever setting) | под заказ | 870 руб. | |
| 22 | 16956-ZE1-811 | Пружина рычага взвода (Spring, cock lever) | под заказ | 260 руб. | |
| 23 | 16957-ZE1-812 | Прокладка топливного крана (Packing, fuel cock) | под заказ | 590 руб. | |
| 24 | 90183-ZW4-000 | Плоский винт, 5x20 (Screw, flat, 5x20) | под заказ | 150 руб. | |
| 24 | 90012-ZVA-000 | (последний код) SCREW, FLAT, 5X20 | под заказ | 150 руб. | |
| 25 | 99101-ZG0-0620 | Главная форсунка, #62 (Jet, main, #62) | под заказ | 1080 руб. | |
| 26 | 99204-ZE0-035-0 | Контрольная форсунка, комплект, #35 (Jet set, pilot, #35) | 2 шт | 1470 руб. | |
Время выполнения запроса 0.56090497970581 сек.
склад запчастей для водомоторной техники