Контактный телефон: +7 (981) 121-46-93, +7 (800) 200-90-76 , Email: parts-katalog@yandex.ru, где купить |
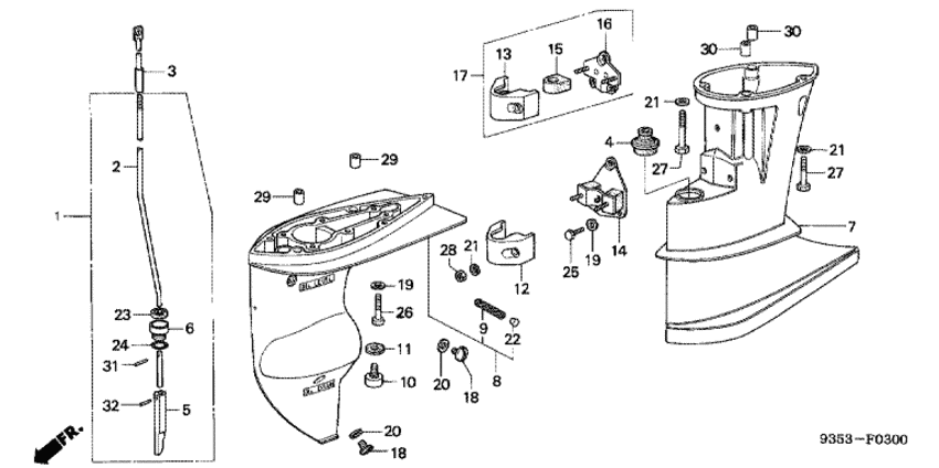
Модификация Вашего двигателя: Honda B75K2 BSD Вернуться к выбору узлов мотора Картер коробки передач / Удлинение корпуса / Переключающая тяга |
|||||||||||||||||||||||||||||||||||||||||||||||||||||||||||||||||||||||||||||||||||||||||||||||||||||||||||||||||||||||||||||||||||||||||||||||||||||||||||||||||||||||||||||||||||||||||||||||||||||||||||||||||||||||||||||||||||||||||||||||||||||||||||||||||||||||||
| Номер на рисунке | Артикул | Наименование | Кол-во на складе | Цена | |
| 1 | 24310-935-000 | Переключающая тяга (Rod comp., shift) | под заказ | по запросу | |
| 2 | 24311-935-300 | Rod, shift (Rod, shift) | под заказ | по запросу | |
| 3 | 24312-921-020 | Joint, change rod (Joint, change rod) | под заказ | по запросу | |
| 4 | 24313-921-003 | Пыльник тяги (arai) (Grommet, rod (arai)) | под заказ | 1200 руб. | |
| 5 | 24341-935-300 | Тяга толкателя (Rod, push) | под заказ | по запросу | |
| 6 | 24343-921-300 | Держатель сальника (Holder, seal) | под заказ | по запросу | |
| 7 | 40201-935-000-N | Удлинитель копуса (Case, extension) | под заказ | по запросу | |
| 7 | 40201-935-000XK | Удлинитель копуса (Case, extension) | под заказ | по запросу | |
| 8 | 41100-935-010-N | Корпус "ноги" (Case comp., gear) | под заказ | по запросу | |
| 8 | 41100-935-010XK | Корпус "ноги" (Case comp., gear) | под заказ | по запросу | |
| 8 | 41100-935-020-N | Корпус "ноги" (Case comp., gear) | под заказ | по запросу | |
| 8 | 41100-935-020XK | Корпус "ноги" (Case comp., gear) | под заказ | по запросу | |
| 9 | 41104-921-320 | Водяной экран (Screen, water) | под заказ | по запросу | |
| 10 | 41106-935-000 | Металлический анод (Metal comp., anode) | под заказ | по запросу | |
| 11 | 41107-935-000 | Rubber, insulate (Rubber, insulate) | под заказ | по запросу | |
| 12 | 50121-921-050-N | Кожух, установленный снизу (Housing, lower mounting) | под заказ | по запросу | |
| 12 | 50121-921-050XK | Кожух, установленный снизу (Housing, lower mounting) | под заказ | по запросу | |
| 13 | 50121-935-000-N | Кожух, установленный снизу (Housing, lower mounting) | под заказ | по запросу | |
| 13 | 50121-935-000XK | Кожух, установленный снизу (Housing, lower mounting) | под заказ | по запросу | |
| 14 | 50150-935-003 | Резинка, смонтированная снизу (Rubber, lower mount) | под заказ | по запросу | |
| 15 | 50151-935-000 | Резинка, смонтированная снизу (Rubber, lower mount) | под заказ | по запросу | |
| 16 | 50152-935-000 | Пластина comp., lower mount (Plate comp., lower mount) | под заказ | по запросу | |
| 17 | 50160-935-305-N | Mount set, lower (Mount set, lower) | под заказ | по запросу | |
| 17 | 50160-935-305XK | Mount set, lower (Mount set, lower) | под заказ | по запросу | |
| 18 | 90105-921-000 | Болт контроля уровня масла (Bolt, oil check) | под заказ | 570 руб. | |
| 19 | 90504-921-010 | Плоская шайба, 6 мм (Washer, plain, 6mm) | 6 шт | 330 руб. | |
| 20 | 90507-921-000 | Нейлоновая шайба, 8 мм (Washer, nylon, 8mm) | 26 шт | 120 руб. | |
| 21 | 90518-921-000 | Плоская шайба, 8 мм (Washer, plain, 8mm) | под заказ | 150 руб. | |
| 22 | 90855-921-300 | Заглушка, Сальникing, 10 мм (Plug, sealing, 10mm) | под заказ | 100 руб. | |
| 23 | 91253-921-003 | Гидрозатвор, 6 мм (Water seal, 6mm) | под заказ | 1050 руб. | |
| 24 | 91312-700-000 | Уплотнительное кольцо, 9.4x2.4 (O-ring, 9.4x2.4) | под заказ | по запросу | |
| 24 | 91304-107-000 | Уплотнительное кольцо (9.4x2.4) (O-ring (9.4x2.4)) | под заказ | 220 руб. | |
| 24 | 91304-KK3-830 | (последний код) O-RING, 9.4X2.4 | под заказ | 220 руб. | |
| 25 | 92000-06012-49 | Болт под шестигранник., 6x12 (Bolt, hex., 6x12) | под заказ | по запросу | |
| 26 | 92000-06040-49 | Болт под шестигранник., 6x40 (Bolt, hex., 6x40) | под заказ | по запросу | |
| 27 | 92000-08050-4J | Болт под шестигранник., 8x50 (Bolt, hex., 8x50) | под заказ | по запросу | |
| 28 | 94002-084-900-S | Шестигранная гайка, 8 мм (Nut, hex., 8mm) | под заказ | 230 руб. | |
| 29 | 94301-08100 | Шпонка (Dowel pin) | под заказ | 240 руб. | |
| 30 | 94301-10140 | Штифт a (Pin a) | под заказ | 270 руб. | |
| 31 | 94305-25122 | Штифт (Pin) | под заказ | 150 руб. | |
| 32 | 96220-25118 | Ролик, 2.5x11.8 (Roller, 2.5x11.8) | под заказ | 50 руб. | |
Время выполнения запроса 1.9125990867615 сек.
склад запчастей для водомоторной техники