вконтакте

Контактный телефон: +7 (981) 121-46-93, +7 (800) 200-90-76 , Email: parts-katalog@yandex.ru, где купить

 
 

  Логин:

Пароль:

Регистрация

www.partskatalog.ru Все каталоги Запчасти Mercury Запчасти Suzuki Запчасти Tohatsu Запчасти Honda Контакты



УВАЖАЕМЫЕ КЛИЕНТЫ!
C 19 ДЕКАБРЯ 2025 ПО 02 МАРТА 2026 ГОДА ОТДЕЛ ЗАПЧАСТЕЙ И СЕРВИС РАБОТАТЬ НЕ БУДУТ
ПРОДАЖА ЛОДОЧНЫХ МОТОРОВ В ШТАТНОМ РЕЖИМЕ
ОБ ИЗМЕНЕНИЯХ В ГРАФИКЕ РАБОТЫ ЧИТАЙТЕ НА САЙТА



назад Раздел:   вперёд

Модификация Вашего двигателя:   Honda B75K2 BSA
Модели с серийным номером двигателя от B75-3000001 до B75-3018220
Модели с серийным номером рамы от B75-3000001 до B75-3018220

Вернуться к выбору узлов мотора

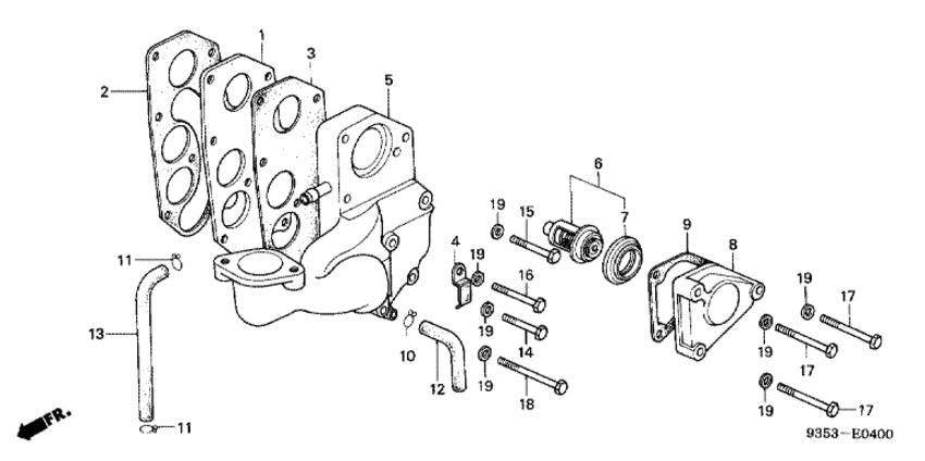
   Термостат / Впускной трубопровод
Thermostat / Inlet Manifold      


ДЕТАЛИРОВКА ДЛЯ МОДЕЛИ: HONDA B75K2

Подвесной четырёхтактный лодочный двигатель B75K2 - Thermostat / Inlet Manifold / Термостат / Впускной трубопровод
Номер на
рисунке
АртикулНаименованиеКол-во
на складе
Цена
112515-921-030

Пластина выхлопной камеры (Plate, ex. chamber)

под заказпо запросу 
212516-921-030

Прокладка выхлопной камеры (Gasket, ex. chamber)

под заказпо запросу 
312517-921-030

Прокладка, ex. chamber (Packing, ex. chamber)

под заказпо запросу 
416731-921-000

Струбцинаer, Топливные трубки (Clamper, fuel tube)

под заказпо запросу 
517100-921-030KA

Впускной коллектор (Manifold comp., intake)

под заказпо запросу 
619300-921-003

Термостат в сборе. (Thermostat assy.)

под заказ4190 руб. 
719302-921-003

Резинка термостата (Rubber, thermostat)

1 шт1010 руб. 
819311-921-010KA

Крышка термостата (Cover, thermostat)

под заказпо запросу 
919312-921-000

Прокладка крышки термостата (Packing, thermostat cover)

под заказпо запросу 
1090602-921-000

Зажим трубки (b8) (Clip, tube (b8))

под заказ270 руб. 
1190604-921-000

Зажим трубки (c11) (Clip, tube (c11))

под заказпо запросу 
1290806-921-020

Трубка контроля воды (Tube, water check)

под заказпо запросу 
1390807-921-000

Трубка, bypass (Tube, bypass)

под заказпо запросу 
1492000-06028-02

Болт под шестигранник., 6x28 (Bolt, hex., 6x28)

под заказпо запросу 
1592000-06032-02

Болт под шестигранник., 6x32 (Bolt, hex., 6x32)

под заказпо запросу 
1692000-06035-02

Болт под шестигранник., 6x35 (Bolt, hex., 6x35)

под заказпо запросу 
1792000-06045-02

Болт под шестигранник., 6x45 (Bolt, hex., 6x45)

под заказпо запросу 
1792201-06045-0B

Болт под шестигранник. (6x45) (Bolt, hex. (6x45))

под заказпо запросу 
1892000-06050-02

Болт под шестигранник., 6x50 (Bolt, hex., 6x50)

под заказпо запросу 
19 9410106200

Плоская шайба, 6 мм (Washer, plain, 6mm)

под заказ90 руб. 

Время выполнения запроса 1.5522730350494 сек.

 
 

данный сайт носит информационный характер и не является публичной офертой

склад запчастей для водомоторной техники