вконтакте

Контактный телефон: +7 (981) 121-46-93, +7 (800) 200-90-76 , Email: parts-katalog@yandex.ru, где купить

 
 

  Логин:

Пароль:

Регистрация

www.partskatalog.ru Все каталоги Запчасти Mercury Запчасти Suzuki Запчасти Tohatsu Запчасти Honda Контакты

назад Раздел:   вперёд

Модификация Вашего двигателя:   Honda B75K3 BSD
Модели с серийным номером двигателя от B75-4000001 до B75-4099999
Модели с серийным номером рамы от B75-4000001 до B75-4099999

Вернуться к выбору узлов мотора

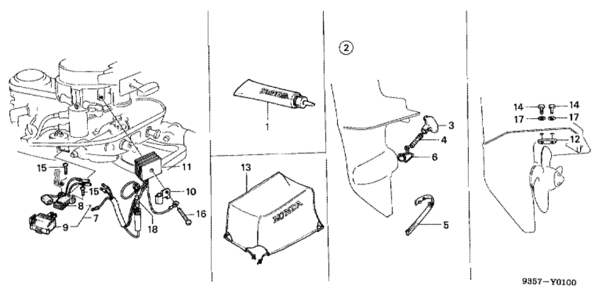
   Чехол двигателя / Монтажный комплект, водяной
Body Cover / Water Mouth      


ДЕТАЛИРОВКА ДЛЯ МОДЕЛИ: HONDA B75K3

Подвесной лодочный четырёх-тактный двигатель B75K3 - Чехол двигателя / Монтажный комплект, водяной - Body Cover / Water Mouth
Номер на
рисунке
АртикулНаименованиеКол-во
на складе
Цена
108207-92160

Трубка, Трансмиссионное масло (Tube, gear oil)

под заказпо запросу 
219010-935-810

Монтажный комплект, водяной (Mouth set, water)

под заказ3940 руб. 
319262-921-810

Mouth, water (Mouth, water)

под заказпо запросу 
419263-921-810

Joint, Шланг (Joint, hose)

под заказпо запросу 
519264-935-810

Заглушка, Шайба (Plug, washer)

под заказпо запросу 
619265-921-810

Зажим, Монтажный комплект, водяной (Clip, water mouth)

под заказпо запросу 
731650-935-004

Согласующее устройство в сборе., lamp (Consent assy., lamp)

под заказпо запросу 
831651-935-004

Согласующее устройство (Consent)

под заказпо запросу 
931652-935-004

Заглушка (Plug)

под заказпо запросу 
1032211-935-000

Держатель коннектора предохранителя (Holder, fuse connecting)

под заказпо запросу 
1137100-935-005

Выпрямитель comp., silicon (Rectifier comp., silicon)

под заказпо запросу 
1241106-935-810

Металлический анод (Metal comp., anode)

под заказпо запросу 
1363311-935-810

Чехол двигателя (Cover, body)

под заказпо запросу 
1492000-06016-0B

Болт под шестигранник., 6x16 (Bolt, hex., 6x16)

под заказпо запросу 
1492101-06016-0B

Болт под шестигранник., 6x16 (Bolt, hex., 6x16)

под заказ170 руб. 
1593500-050220B

Винт с чашечкой, 5x22 (Screw, pan, 5x22)

под заказ120 руб. 
1693500-06035

Винт с чашечкой, 6x35 (Screw, pan, 6x35)

под заказпо запросу 
1693500-060350A

Винт с чашечкой, 6x35 (Screw, pan, 6x35)

под заказ110 руб. 
17 9410106200

Плоская шайба, 6 мм (Washer, plain, 6mm)

под заказ90 руб. 
1898200-10500

Предохранитель A (Fuse a)

под заказ70 руб. 

Время выполнения запроса 2.0994448661804 сек.

 
 

данный сайт носит информационный характер и не является публичной офертой

склад запчастей для водомоторной техники