вконтакте

Контактный телефон: +7 (981) 121-46-93, +7 (800) 200-90-76 , Email: parts-katalog@yandex.ru, где купить

 
 

  Логин:

Пароль:

Регистрация

www.partskatalog.ru Все каталоги Запчасти Mercury Запчасти Suzuki Запчасти Tohatsu Запчасти Honda Контакты



УВАЖАЕМЫЕ КЛИЕНТЫ!
C 19 ДЕКАБРЯ 2025 ПО 02 МАРТА 2026 ГОДА ОТДЕЛ ЗАПЧАСТЕЙ И СЕРВИС РАБОТАТЬ НЕ БУДУТ
ПРОДАЖА ЛОДОЧНЫХ МОТОРОВ В ШТАТНОМ РЕЖИМЕ
ОБ ИЗМЕНЕНИЯХ В ГРАФИКЕ РАБОТЫ ЧИТАЙТЕ НА САЙТА



назад Раздел:   вперёд

Модификация Вашего двигателя:   Honda BF75F SD
Модели с серийным номером двигателя от BF75S-1700001 до BF75S-1799999
Модели с серийным номером рамы от BF75S-1700001 до BF75S-1799999

Вернуться к выбору узлов мотора

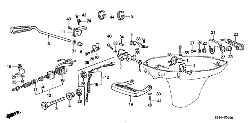
   Переключающий вал / Ручка для переноски / Крышка рычага блокировки
Shift Shaft / Carrying Handle / Cover Lock Lever      


ДЕТАЛИРОВКА ДЛЯ МОДЕЛИ: HONDA BF75F

Подвесной fourstroke мотор Honda BF75F - Shift Shaft / Carrying Handle / Cover Lock Lever / Переключающий вал / Ручка для переноски / Крышка рычага блокировки
Номер на
рисунке
АртикулНаименованиеКол-во
на складе
Цена
117710-881-000ZC

Топливный коннектор *b107 * (Connector, fuel *b107 *)

под заказпо запросу 
217711-881-000

Колпачок топливного коннектора (Cap, fuel joint)

под заказпо запросу 
317951-921-030

Регулятор дросселя (Knob, choke)

под заказ1520 руб. 
417953-921-010

Рукоятка регулятора дросселя (Guide, choke knob)

под заказпо запросу 
524210-921-000

Нажимная пружина (Spring, click)

под заказпо запросу 
624610-881-010

Переключающий вал (Shaft comp., shift)

под заказ5320 руб. 
724612-881-020

Рычаг переключения передач (Arm, gearshift)

под заказпо запросу 
824621-921-010

Втулка вала (Bush, shaft)

под заказ760 руб. 
1035110-881-000

Пластина щита переключателя (Plate, switch shield)

под заказпо запросу 
1135120-881-000

Пластина настройки переключателя (Plate comp., switch setting)

под заказпо запросу 
1950281-921-000ZC

Ручка для переноски *b107 * (Handle, carrying *b107 *)

под заказпо запросу 
2063201-935-000ZC

Рычаг блокировки капота двигателя *b107 * (Lever, cover lock *b107 *)

под заказпо запросу 
2163202-881-000

Крюк блокировки капота (Hook, cover lock)

под заказпо запросу 
2263203-935-000

Шайба блокировки крышки (Washer, cover lock)

под заказпо запросу 
2363205-920-000

Втулка блокировки капота (Bush, cover lock)

под заказ690 руб. 
2490016-920-000

Фланцевый болт, 6x12 (Bolt, flange, 6x12)

под заказ430 руб. 
2690302-921-000

Шестигранная гайка, 16 мм (Nut, hex., 16mm)

2 шт570 руб. 
2790455-881-000

Пружина рычага (Spring, lever)

под заказ510 руб. 
2890504-921-010

Плоская шайба, 6 мм (Washer, plain, 6mm)

6 шт330 руб. 
3090518-921-000

Плоская шайба, 8 мм (Washer, plain, 8mm)

под заказ150 руб. 
3190511-921-000

Плоская шайба, 10 мм (Washer, plain, 10mm)

1 шт180 руб. 
3290512-921-010

Шайба, 6 мм (Washer, 6mm)

6 шт380 руб. 
3490754-921-010

Штифт, 5x17 (Pin, 5x17)

под заказ790 руб. 
3590756-921-000

Стопорный шплинт, 1.6 мм (Pin, split, 1.6mm)

под заказ130 руб. 
3692000-06012-0B

Болт под шестигранник., 6x12 (Bolt, hex., 6x12)

под заказпо запросу 
3692101-06012-0B

Болт под шестигранник., 6x12 (Bolt, hex., 6x12)

под заказпо запросу 
3792000-06016-0B

Болт под шестигранник., 6x16 (Bolt, hex., 6x16)

под заказпо запросу 
3792101-06016-0B

Болт под шестигранник., 6x16 (Bolt, hex., 6x16)

под заказ170 руб. 
3892000-06020-4J

Болт под шестигранник., 6x20 (Bolt, hex., 6x20)

под заказпо запросу 
3892101-06020-4J

Болт под шестигранник., 6x20 (Bolt, hex., 6x20)

под заказ240 руб. 
3992000-06028-4J

Болт под шестигранник., 6x28 (Bolt, hex., 6x28)

под заказпо запросу 
4092000-08028-4J

Болт под шестигранник., 8x28 (Bolt, hex., 8x28)

под заказпо запросу 
4192000-08032-4J

Болт под шестигранник., 8x32 (Bolt, hex., 8x32)

под заказпо запросу 
4393500-050-204-J

Винт (Screw)

под заказ110 руб. 
44 9501462100

Ремешок провода B1 (Band b1, wire)

под заказ310 руб. 

Время выполнения запроса 0.6843090057373 сек.

 
 

данный сайт носит информационный характер и не является публичной офертой

склад запчастей для водомоторной техники