вконтакте

Контактный телефон: +7 (981) 121-46-93, +7 (800) 200-90-76 , Email: parts-katalog@yandex.ru, где купить

 
 

  Логин:

Пароль:

Регистрация

www.partskatalog.ru Все каталоги Запчасти Mercury Запчасти Suzuki Запчасти Tohatsu Запчасти Honda Контакты



УВАЖАЕМЫЕ КЛИЕНТЫ!
C 19 ДЕКАБРЯ 2025 ПО 02 МАРТА 2026 ГОДА ОТДЕЛ ЗАПЧАСТЕЙ И СЕРВИС РАБОТАТЬ НЕ БУДУТ
ПРОДАЖА ЛОДОЧНЫХ МОТОРОВ В ШТАТНОМ РЕЖИМЕ
ОБ ИЗМЕНЕНИЯХ В ГРАФИКЕ РАБОТЫ ЧИТАЙТЕ НА САЙТА



назад Раздел:   вперёд

Модификация Вашего двигателя:   Honda BF75F LC
Модели с серийным номером двигателя от BF75L-1700001 до BF75L-1799999
Модели с серийным номером рамы от BF75L-1700001 до BF75L-1799999

Вернуться к выбору узлов мотора

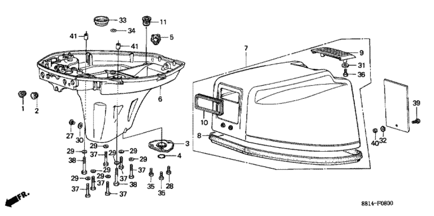
   Масляный картер / Крышка двигателя (капот) (1)
Oil Case / Engine Cover (1)      


ДЕТАЛИРОВКА ДЛЯ МОДЕЛИ: HONDA BF75F

Двигатель Хонда BF75F - Масляный картер / Крышка двигателя (капот) (1)
Номер на
рисунке
АртикулНаименованиеКол-во
на складе
Цена
117914-881-300

Пыльник a, Провод (Grommet a, wire)

под заказпо запросу 
217918-881-000

Пыльник C масляного картера (Grommet c, oil case)

под заказпо запросу 
318221-881-000

Пластина, ex (Plate, ex)

под заказ2730 руб. 
418222-881-000

Ремешок внутреннего сальника (Band, ex. seal)

под заказ690 руб. 
519262-921-000

Manifold, Трубка (Manifold, tube)

под заказ1060 руб. 
640101-881-740ZA

Масляный кожух *b107 * (Case, oil *b107 *)

под заказпо запросу 
763100-881-740ZA

Копот двигателя, комплект *nh24 * (Cover comp., engine *nh24 *)

под заказпо запросу 
863102-881-300

Сальник капота двигателя (Seal, engine cover)

под заказпо запросу 
963105-881-740ZA

Рукоятка наклона *nh105 * (Handle, tilt *nh105 *)

под заказпо запросу 
1063109-881-310

Уплотнение стартера (Seal, recoil)

под заказпо запросу 
1182873-881-010

Пыльник контроля воды (Grommet, water check)

под заказ760 руб. 
2790105-921-000

Болт контроля уровня масла (Bolt, oil check)

под заказ570 руб. 
2890106-881-000

Болт под шестигранник., 6x12 (Bolt, hex., 6x12)

под заказпо запросу 
2990504-921-010

Плоская шайба, 6 мм (Washer, plain, 6mm)

6 шт330 руб. 
3090507-921-000

Нейлоновая шайба, 8 мм (Washer, nylon, 8mm)

12 шт120 руб. 
3190512-921-010

Шайба, 6 мм (Washer, 6mm)

6 шт380 руб. 
3290519-921-000

Шайба с блокировкой, 4 мм (Washer, lock, 4mm)

под заказпо запросу 
3391255-881-003

Соеденитель сальника, 25x40x22 (arai) (Seal, coupling, 25x40x22 (arai))

под заказ890 руб. 
3391255-881-004

Соеденитель сальника, 25x40x22 (nok) (Seal, coupling, 25x40x22 (nok))

1 шт1660 руб. 
3491301-812-000

Уплотнительное кольцо, 10 мм (O-ring, 10mm)

под заказ350 руб. 
3491305-PE2-003

(последний код) O-RING, 9.8X1.9

под заказ300 руб. 
3592000-06012-4J

Болт под шестигранник., 6x12 (Bolt, hex., 6x12)

под заказпо запросу 
3692000-06016-4J

Болт под шестигранник., 6x16 (Bolt, hex., 6x16)

под заказпо запросу 
3692101-06016-4J

Болт под шестигранник., 6x16 (Bolt, hex., 6x16)

под заказ240 руб. 
3792000-06032-4J

Болт под шестигранник., 6x32 (Bolt, hex., 6x32)

под заказпо запросу 
3892000-06040-4J

Болт под шестигранник., 6x40 (Bolt, hex., 6x40)

под заказ210 руб. 
3892101-06040-4J

Болт,hex,6x40 (Bolt,hex,6x40)

под заказпо запросу 
3993500-040100G

Винт с чашечкой, 4x10 (Screw, pan, 4x10)

под заказ90 руб. 
4094001-043-900-S

Шестигранная гайка, 4 мм (Nut, hex., 4mm)

под заказ110 руб. 
4194301-08140

Шпонка (Dowel pin)

4 шт150 руб. 

Время выполнения запроса 0.64319181442261 сек.

 
 

данный сайт носит информационный характер и не является публичной офертой

склад запчастей для водомоторной техники