вконтакте

Контактный телефон: +7 (981) 121-46-93, +7 (800) 200-90-76 , Email: parts-katalog@yandex.ru, где купить

 
 

  Логин:

Пароль:

Регистрация

www.partskatalog.ru Все каталоги Запчасти Mercury Запчасти Suzuki Запчасти Tohatsu Запчасти Honda Контакты

назад Раздел:   вперёд

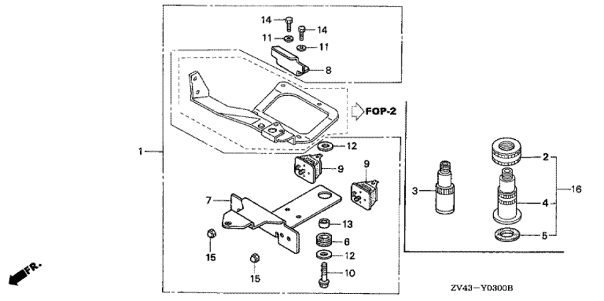
Модификация Вашего двигателя:   Honda BF9.9AM SCS
Модели с серийным номером двигателя от BABE-1200001 до BABE-1299999
Модели с серийным номером рамы от BABS-1200001 до BABS-1299999

Вернуться к выбору узлов мотора

   Комплект кронштейнов дистанционного управления
Remote Control Bracket Kit      


ДЕТАЛИРОВКА ДЛЯ МОДЕЛИ: HONDA BF9.9AM

Подвесной лодочный  двигатель BF9.9AM - Remote Control Bracket Kit - Комплект кронштейнов дистанционного управления
Номер на
рисунке
АртикулНаименованиеКол-во
на складе
Цена
106530-ZV4-910

Комплект кронштейнов, Дистанционное управление (Bracket kit, remote control)

под заказ52440 руб. 
219270-881-812

Гайка, ввод воды (Nut, water mouth)

под заказ2440 руб. 
419271-ZV1-810

Соеденитель водяной трубки (Joint, water hose)

под заказ1560 руб. 
519272-881-810

Гнездо, ввод воды (Seat, water mouth)

под заказ440 руб. 
650329-HA7-670

Rubber, battery box mounting (Rubber, battery box mounting)

под заказ350 руб. 
753234-ZV4-910

Пластина рулевого управления (Plate, steering)

под заказ100450 руб. 
853235-ZV4-910

Пластина стопора кронштейна (Plate, bracket stop)

под заказпо запросу 
968326-ZA8-000

Rubber, mounting (Rubber, mounting)

под заказпо запросу 
1090105-ZV0-000

Фланцевый болт, 8x40 (Bolt, flange, 8x40)

под заказ430 руб. 
1190504-921-010

Плоская шайба, 6 мм (Washer, plain, 6mm)

6 шт330 руб. 
1290508-ZV4-000

Плоская шайба, 8 мм (Washer, plain, 8mm)

под заказпо запросу 
1391553-ZV4-000

Воротник, steeКольцо (Collar, steering)

под заказпо запросу 
1492101-06016-4J

Болт под шестигранник., 6x16 (Bolt, hex., 6x16)

под заказ240 руб. 
1594021-060-200-S

Гайка (Nut)

под заказ150 руб. 
15 9402106020

Гайка с колпачком (6 мм) (Nut, cap (6mm))

под заказпо запросу 

Время выполнения запроса 0.65730500221252 сек.

 
 

данный сайт носит информационный характер и не является публичной офертой

склад запчастей для водомоторной техники