вконтакте

Контактный телефон: +7 (981) 121-46-93, +7 (800) 200-90-76 , Email: parts-katalog@yandex.ru, где купить

 
 

  Логин:

Пароль:

Регистрация

www.partskatalog.ru Все каталоги Запчасти Mercury Запчасти Suzuki Запчасти Tohatsu Запчасти Honda Контакты


Вернуться к выбору модели двигателя


   Выберите раздел каталога

найти расходники на лодочные моторы Suzuki

Control Unit And Bracket (Управление Unit и Кронштейн)

Control Unit And Bracket (Управление Unit и Кронштейн)

Power Steering Components (sterndrive) (Power Рулевая система Components (sterndrive))

Power Steering Components (sterndrive) (Power Рулевая система Components (sterndrive))

Shift Bracket (Переключатель Кронштейн)

Shift Bracket (Переключатель Кронштейн)

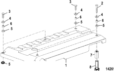
Engine Cover (Крышка двигателя (капот))

Engine Cover (Крышка двигателя (капот))

Coolant Recovery (Coolant ReКрышкаy)

Coolant Recovery (Coolant ReКрышкаy)

Flywheel Housing (inboard) (Маховик Корпус (inboard))

Flywheel Housing (inboard) (Маховик Корпус (inboard))

Turbocharger And Exhaust Elbow (Turbocharger и Выхлоп Elbow)

Turbocharger And Exhaust Elbow (Turbocharger и Выхлоп Elbow)

Injection Pump, Nozzle And Lines (Injection Помпа, Nozzle и Lines)

Injection Pump, Nozzle And Lines (Injection Помпа, Nozzle и Lines)

Oil Filter And Oil Hoses (Масляный фильтр и Oil Шлангs)

Oil Filter And Oil Hoses (Масляный фильтр и Oil Шлангs)

Oil Pan (Масляный поддон)

Oil Pan (Масляный поддон)

Exhaust Manifold (Выхлопной патрубок)

Exhaust Manifold (Выхлопной патрубок)

Fuel Filter (Топливный фильтр)

Fuel Filter (Топливный фильтр)

Heat Exchanger And Hoses (Heat ExcПодвеска и Шлангs)

Heat Exchanger And Hoses (Heat ExcПодвеска и Шлангs)

Thermostat Assembly And Hoses (Термостат Assembly и Шлангs)

Thermostat Assembly And Hoses (Термостат Assembly и Шлангs)

Seawater Filter (Seawater Фильтр)

Seawater Filter (Seawater Фильтр)

Seawater Pump (2.8l) (SeaВодяной насос (2.8l))

Seawater Pump (2.8l) (SeaВодяной насос (2.8l))

Seawater Pump (4.2l) (SeaВодяной насос (4.2l))

Seawater Pump (4.2l) (SeaВодяной насос (4.2l))

Manifold Strip (Коллектор Strip)

Manifold Strip (Коллектор Strip)

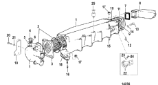
Starter Motor (Двигатель стартера)

Starter Motor (Двигатель стартера)

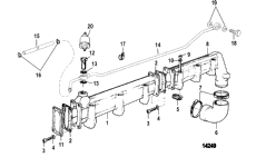
Water Pump (Водяной насос)

Water Pump (Водяной насос)

Alternator And Mounting Hardware (Альтернатор и Креплениеing Hardware)

Alternator And Mounting Hardware (Альтернатор и Креплениеing Hardware)

Alternator (mando) (Альтернатор (mando))

Alternator (mando) (Альтернатор (mando))

Mercathode (sterndrive) (Mercathode (sterndrive))

Mercathode (sterndrive) (Mercathode (sterndrive))

Engine Harness (Двигатель Жгут проводов)

Engine Harness (Двигатель Жгут проводов)

Edi Harness (Edi Жгут проводов)

Edi Harness (Edi Жгут проводов)

Electrical Box And Components (Электрика Box и Components)

Electrical Box And Components (Электрика Box и Components)

Service And Support Material (Сервис и Вспомогательные материалы)

Service And Support Material (Сервис и Вспомогательные материалы)

Engine And Cylinder Block (Двигатель и Блок цилиндра)

Engine And Cylinder Block (Двигатель и Блок цилиндра)

Rocker Cover (Rocker Крышка)

Rocker Cover (Rocker Крышка)

Rocker Arm And Lifters (Коромысло и Подъёмникs)

Rocker Arm And Lifters (Коромысло и Подъёмникs)

Cylinder Head (Головка блока цилиндра)

Cylinder Head (Головка блока цилиндра)

Camshaft (Распределительный вал)

Camshaft (Распределительный вал)

Connecting Rod And Piston (Шатун и Поршень)

Connecting Rod And Piston (Шатун и Поршень)

Flywheel Housing (sterndrive) (Маховик Корпус (sterndrive))

Flywheel Housing (sterndrive) (Маховик Корпус (sterndrive))

Crankshaft (Коленвал)

Crankshaft (Коленвал)

Front Cover (Передняя крышка)

Front Cover (Передняя крышка)

Air Cooler (Air Cooler)

Air Cooler (Air Cooler)

Primary Station Instrumentation (Primary Station Instrumentation)

Primary Station Instrumentation (Primary Station Instrumentation)

Secondary Station Instrumentation (Secondary Station Instrumentation)

Secondary Station Instrumentation (Secondary Station Instrumentation)

Oil Reservoir Components (sterndrive) (Oil Резервуар Components (sterndrive))

Oil Reservoir Components (sterndrive) (Oil Резервуар Components (sterndrive))

Jackshaft Components (JackВал Components)

Jackshaft Components (JackВал Components)

Transmission And Related Parts (inboard) (Трансмиссия и Related Parts (inboard))

Transmission And Related Parts (inboard) (Трансмиссия и Related Parts (inboard))

Transmission (down Angle) (inboard) (Трансмиссия (down Angle) (inboard))

Transmission (down Angle) (inboard) (Трансмиссия (down Angle) (inboard))

Transmission (down Angle) (inboard) (Трансмиссия (down Angle) (inboard))

Transmission (down Angle) (inboard) (Трансмиссия (down Angle) (inboard))

Transmission (v-drive) (inboard) (Трансмиссия (v-drive) (inboard))

Transmission (v-drive) (inboard) (Трансмиссия (v-drive) (inboard))

Transmission (v-drive) (inboard) (Трансмиссия (v-drive) (inboard))

Transmission (v-drive) (inboard) (Трансмиссия (v-drive) (inboard))

Transmission Mounting (inboard) (Трансмиссия Креплениеing (inboard))

Transmission Mounting (inboard) (Трансмиссия Креплениеing (inboard))

Air Cleaner (Воздушный фильтр)

Air Cleaner (Воздушный фильтр)

Gimbal Housing Cover (sterndrive) (Gimbal Корпус Крышка (sterndrive))

Gimbal Housing Cover (sterndrive) (Gimbal Корпус Крышка (sterndrive))

DOC_INDEX_NBR=10109


Время выполнения запроса 0.066203832626343 сек.

 
 

данный сайт носит информационный характер и не является публичной офертой

склад запчастей для водомоторной техники