вконтакте

Контактный телефон: +7 (981) 121-46-93, +7 (800) 200-90-76 , Email: parts-katalog@yandex.ru, где купить

 
 

  Логин:

Пароль:

Регистрация

www.partskatalog.ru Все каталоги Запчасти Mercury Запчасти Suzuki Запчасти Tohatsu Запчасти Honda Контакты


запчастиsuzuki

Узнать наличие и цену запчасти:

Вернуться к началу выбора

Поиск модели по серийному номеру


РЕЖИМЫ ПРОСМОТРА

Все узлы и детали

Двигатель

Трансмиссия

Электрика

Внешние части

Тип двигателя: 4x - тактный

Модель двигателя: Suzuki DF50

Модификация Вашего двигателя:   Suzuki DF-50 ATS / ATL (E01)
Двигатели с серийным номером после 05003F-810001
Код модели двигателя: DF50A TS/TL FROM 05003F-810001~ (E01)
Год выпуска двигателя: 2018
Регион: Регион E01 (Россия, Европа)


Поиск запчастей по коду или названию


   Выберите раздел

найти расходники на лодочные моторы Suzuki

Начните вводить запрос

111A  - Cylinder  Head  (Df40A)(Df40Aqh)(Df40Ath) (111A - Головка блока цилиндра (Df40A) (Df40Aqh) (Df40Ath))

111A - Cylinder Head (Df40A)(Df40Aqh)(Df40Ath) (111A - Головка блока цилиндра (Df40A) (Df40Aqh) (Df40Ath))

113A  - Cylinder  Block (113A - Блок цилиндра)

113A - Cylinder Block (113A - Блок цилиндра)

116A  - Crankshaft (116A - Коленвал)

116A - Crankshaft (116A - Коленвал)

119A  - Timing  Chain (119A - Распределяющая цепь)

119A - Timing Chain (119A - Распределяющая цепь)

121A  - Camshaft (121A - Распределительный вал)

121A - Camshaft (121A - Распределительный вал)

124C  - Intake  Manifold/silencer/exhaust  Cover  (Df50A)(Df50Ath) (124C - Впускной коллектор / Глушитель / Кожух выхлопной трубы (Df50A) (Df50Ath))

124C - Intake Manifold/silencer/exhaust Cover (Df50A)(Df50Ath) (124C - Впускной коллектор / Глушитель / Кожух выхлопной трубы (Df50A) (Df50Ath))

136A  - Ring Gear  Cover (136A - Крышка механизма маховика)

136A - Ring Gear Cover (136A - Крышка механизма маховика)

143A  - Fuel Vapor  Separator  (E01)(E34) (143A - Отделитель паров топлива (E01) (E34))

143A - Fuel Vapor Separator (E01)(E34) (143A - Отделитель паров топлива (E01) (E34))

144A  - Fuel Injector  (E01)(E34) (144A - Топливный инжектор (E01) (E34))

144A - Fuel Injector (E01)(E34) (144A - Топливный инжектор (E01) (E34))

146A  - Fuel Pump (146A - Топливный насос)

146A - Fuel Pump (146A - Топливный насос)

160A  - Water Pump  (Df40A  E01)(Df40Ast  E34)(Df50A  E01) (160A - Водяной насос (Df40A E01) (Df40Ast E34) (Df50A E01))

160A - Water Pump (Df40A E01)(Df40Ast E34)(Df50A E01) (160A - Водяной насос (Df40A E01) (Df40Ast E34) (Df50A E01))

162A  - Thermostat  (Df40A)(Df40Ast)(Df50A)(Df60A) (162A - Термостат (Df40A) (Df40Ast) (Df50A) (Df60A))

162A - Thermostat (Df40A)(Df40Ast)(Df50A)(Df60A) (162A - Термостат (Df40A) (Df40Ast) (Df50A) (Df60A))

163A  - Throttle  Body  (Df40A)(Df50A)(Df60A)(Df50Avt)(Df60Avt) (163A - Дроссель газа (Df40A) (Df50A) (Df60A) (Df50Avt) (Df60Avt))

163A - Throttle Body (Df40A)(Df50A)(Df60A)(Df50Avt)(Df60Avt) (163A - Дроссель газа (Df40A) (Df50A) (Df60A) (Df50Avt) (Df60Avt))

175A  - Oil Pump (175A - Масляный насос)

175A - Oil Pump (175A - Масляный насос)

180A  - Oil Pan (Df40A)(Df40Ast)(Df50A)(Df60A) (180A - Масляный поддон (Df40A) (Df40Ast) (Df50A) (Df60A))

180A - Oil Pan (Df40A)(Df40Ast)(Df50A)(Df60A) (180A - Масляный поддон (Df40A) (Df40Ast) (Df50A) (Df60A))

204A - Clutch  Shaft  (Df40A  E01)(Df40Ast  E34)(Df50A  E01) (204A - Сцепление Вал (Df40A E01) (Df40Ast E34) (Df50A E01))

204A - Clutch Shaft (Df40A E01)(Df40Ast E34)(Df50A E01) (204A - Сцепление Вал (Df40A E01) (Df40Ast E34) (Df50A E01))

206A - Clutch  Rod  (Df40A  E01)(Df40Ast  E34)(Df50A  E01) (206A - Тяга сцепления (Df40A E01) (Df40Ast E34) (Df50A E01))

206A - Clutch Rod (Df40A E01)(Df40Ast E34)(Df50A E01) (206A - Тяга сцепления (Df40A E01) (Df40Ast E34) (Df50A E01))

220A - Transmission  (Df40A  E01)(Df50A  E01) (220A - Трансмиссия (Df40A E01) (Df50A E01))

220A - Transmission (Df40A E01)(Df50A E01) (220A - Трансмиссия (Df40A E01) (Df50A E01))

301A - Starting  Motor (301A - Двигатель электростартера)

301A - Starting Motor (301A - Двигатель электростартера)

303A - Magneto (303A - Магнето)

303A - Magneto (303A - Магнето)

310A - Rectifier/ignition  Coil (310A - Выпрямитель / Катушка зажигания)

310A - Rectifier/ignition Coil (310A - Выпрямитель / Катушка зажигания)

315A - Sensor  (Df40A)(Df40Ath)(Df50A)(Df50Ath) (315A - Датчик (Df40A) (Df40Ath) (Df50A) (Df50Ath))

315A - Sensor (Df40A)(Df40Ath)(Df50A)(Df50Ath) (315A - Датчик (Df40A) (Df40Ath) (Df50A) (Df50Ath))

322A - Harness  (Df40A)(Df40Ath)(Df50A)(Df50Ath) (322A - Жгут проводов (Df40A) (Df40Ath) (Df50A) (Df50Ath))

322A - Harness (Df40A)(Df40Ath)(Df50A)(Df50Ath) (322A - Жгут проводов (Df40A) (Df40Ath) (Df50A) (Df50Ath))

326D - Ptt  Switch/engine  Control  Unit  (Df50A  E01)(Df50Ath  E01) (326D - Переключатель гидроподъёма / Блок управления двигателем (Df50A E01) (Df50Ath E01))

326D - Ptt Switch/engine Control Unit (Df50A E01)(Df50Ath E01) (326D - Переключатель гидроподъёма / Блок управления двигателем (Df50A E01) (Df50Ath E01))

335A  - Clamp  Bracket  (Df40A)(Df50A) (335A - Кронштейн транца (Df40A) (Df50A))

335A - Clamp Bracket (Df40A)(Df50A) (335A - Кронштейн транца (Df40A) (Df50A))

336A  - Swivel Bracket  (Df40A  E01)(Df50A  E01) (336A - Поворотный кронштейн (Df40A E01) (Df50A E01))

336A - Swivel Bracket (Df40A E01)(Df50A E01) (336A - Поворотный кронштейн (Df40A E01) (Df50A E01))

337A  - Trim Cylinder  (Df40A)(Df40Ath)(Df50A)(Df50Ath) (337A - Цилиндр трима (Df40A) (Df40Ath) (Df50A) (Df50Ath))

337A - Trim Cylinder (Df40A)(Df40Ath)(Df50A)(Df50Ath) (337A - Цилиндр трима (Df40A) (Df40Ath) (Df50A) (Df50Ath))

340A - Ptt  Motor  (Df40A)(Df40Ath)(Df40Ast)(Df50A)(Df50Ath)(Df60A)(Df60Ath) (340A - Двигатель гидроподъёма (Df40A) (Df40Ath) (Df40Ast) (Df50A) (Df50Ath) (Df60A) (Df60Ath))

340A - Ptt Motor (Df40A)(Df40Ath)(Df40Ast)(Df50A)(Df50Ath)(Df60A)(Df60Ath) (340A - Двигатель гидроподъёма (Df40A) (Df40Ath) (Df40Ast) (Df50A) (Df50Ath) (Df60A) (Df60Ath))

401A  - Engine  Holder  (Df40A)(Df40Ast)(Df50A)(Df60A) (401A - Основание двигателя (Df40A) (Df40Ast) (Df50A) (Df60A))

401A - Engine Holder (Df40A)(Df40Ast)(Df50A)(Df60A) (401A - Основание двигателя (Df40A) (Df40Ast) (Df50A) (Df60A))

405A  - Drive Shaft  Housing  (Df40A  E01)(Df40Ast  E34)(Df50A  E01) (405A - Корпус вала передачи (Df40A E01) (Df40Ast E34) (Df50A E01))

405A - Drive Shaft Housing (Df40A E01)(Df40Ast E34)(Df50A E01) (405A - Корпус вала передачи (Df40A E01) (Df40Ast E34) (Df50A E01))

407A - Gear  Case  (Df40A  E01)(Df40Ast  E34)(Df50A  E01) (407A - Картер коробки передач (Df40A E01) (Df40Ast E34) (Df50A E01))

407A - Gear Case (Df40A E01)(Df40Ast E34)(Df50A E01) (407A - Картер коробки передач (Df40A E01) (Df40Ast E34) (Df50A E01))

410A  - Side Cover  (Df40A  E01)(Df40Ast  E34)(Df50A  E01) (410A - Боковая крышка (Df40A E01) (Df40Ast E34) (Df50A E01))

410A - Side Cover (Df40A E01)(Df40Ast E34)(Df50A E01) (410A - Боковая крышка (Df40A E01) (Df40Ast E34) (Df50A E01))

420D  - Engine  Cover  (Df50A  E01) (420D - Крышка двигателя (капот) (Df50A E01))

420D - Engine Cover (Df50A E01) (420D - Крышка двигателя (капот) (Df50A E01))

432A  - Fuel  Tank (432A - Топливный бак)

432A - Fuel Tank (432A - Топливный бак)

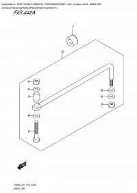
442A  - Drag  Link  (Df40A)(Df40Ast)(Df50A)(Df60A)(Df50Avt)(Df60Avt) (442A - Переключающая тяга (Df40A) (Df40Ast) (Df50A) (Df60A) (Df50Avt) (Df60Avt))

442A - Drag Link (Df40A)(Df40Ast)(Df50A)(Df60A)(Df50Avt)(Df60Avt) (442A - Переключающая тяга (Df40A) (Df40Ast) (Df50A) (Df60A) (Df50Avt) (Df60Avt))

501A - Opt:meter (Df40A)(Df40Ast)(Df50A)(Df60A)(Df50Avt)(Df60Avt) (501A - Опции: приборы (Df40A) (Df40Ast) (Df50A) (Df60A) (Df50Avt) (Df60Avt))

501A - Opt:meter (Df40A)(Df40Ast)(Df50A)(Df60A)(Df50Avt)(Df60Avt) (501A - Опции: приборы (Df40A) (Df40Ast) (Df50A) (Df60A) (Df50Avt) (Df60Avt))

507A - Opt:water  Pressure  Gauge  Sub  Kit (507A - Опции: Комплект прибора изменения давления воды)

507A - Opt:water Pressure Gauge Sub Kit (507A - Опции: Комплект прибора изменения давления воды)

508A  - Opt:remote  Control  (Df40A)(Df40Ast)(Df50A)(Df60A)(Df50Avt)(Df60Avt) (508A - Опции: дистанционное управление (Df40A) (Df40Ast) (Df50A) (Df60A) (Df50Avt) (Df60Avt))

508A - Opt:remote Control (Df40A)(Df40Ast)(Df50A)(Df60A)(Df50Avt)(Df60Avt) (508A - Опции: дистанционное управление (Df40A) (Df40Ast) (Df50A) (Df60A) (Df50Avt) (Df60Avt))

521A - Opt:harness  (Df40A)(Df40Ast)(Df50A)(Df60A)(Df50Avt)(Df60Avt) (521A - Опции: жгут проводов (Df40A) (Df40Ast) (Df50A) (Df60A) (Df50Avt) (Df60Avt))

521A - Opt:harness (Df40A)(Df40Ast)(Df50A)(Df60A)(Df50Avt)(Df60Avt) (521A - Опции: жгут проводов (Df40A) (Df40Ast) (Df50A) (Df60A) (Df50Avt) (Df60Avt))

530A - Opt:switch  (Df40A)(Df40Ast)(Df50A)(Df60A)(Df50Avt)(Df60Avt) (530A - Опции: переключатели (Df40A) (Df40Ast) (Df50A) (Df60A) (Df50Avt) (Df60Avt))

530A - Opt:switch (Df40A)(Df40Ast)(Df50A)(Df60A)(Df50Avt)(Df60Avt) (530A - Опции: переключатели (Df40A) (Df40Ast) (Df50A) (Df60A) (Df50Avt) (Df60Avt))

544A  - Opt:remote  Control  Assy  Single  (1) (544A - Дистанционное управление в сборе, одинарное (1))

544A - Opt:remote Control Assy Single (1) (544A - Дистанционное управление в сборе, одинарное (1))

545A  - Opt:remote  Control  Assy  Single  (2) (545A - Дистанционное управление в сборе, одинарное (2))

545A - Opt:remote Control Assy Single (2) (545A - Дистанционное управление в сборе, одинарное (2))

570A  - Opt:tiller  Handle  (Df40A)(Df50A) (570A - Опции: Румпель (Df40A) (Df50A))

570A - Opt:tiller Handle (Df40A)(Df50A) (570A - Опции: Румпель (Df40A) (Df50A))

585A  - Opt:gasket Set (585A - Опции: комплект прокладок)

585A - Opt:gasket Set (585A - Опции: комплект прокладок)

600A - Opt:multi  Function  Gauge  (Df40A)(Df40Ast)(Df50A) (600A - Опции: multi Function Gauge (Df40A) (Df40Ast) (Df50A))

600A - Opt:multi Function Gauge (Df40A)(Df40Ast)(Df50A) (600A - Опции: multi Function Gauge (Df40A) (Df40Ast) (Df50A))




 
 

данный сайт носит информационный характер и не является публичной офертой

склад запчастей для водомоторной техники