вконтакте

Контактный телефон: +7 (981) 121-46-93, +7 (800) 200-90-76 , Email: parts-katalog@yandex.ru, где купить

 
 

  Логин:

Пароль:

Регистрация

www.partskatalog.ru Все каталоги Запчасти Mercury Запчасти Suzuki Запчасти Tohatsu Запчасти Honda Контакты

назад Раздел:   вперёд

Вернуться к выбору узлов мотора

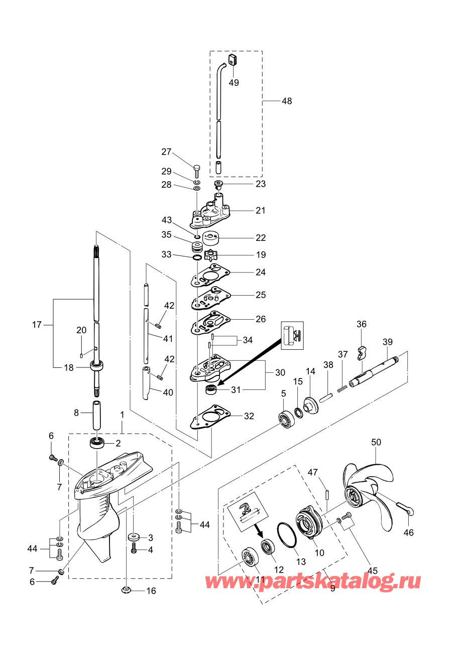
   Fig.07 Gear Case (m3.5b2)
Fig.07 Картер коробки передач (m3.5b2)      


ДЕТАЛИРОВКА ДЛЯ МОДЕЛИ: TOHATSU M2.5A2 (002-21040-0AF)

Подвесной двухтактный лодочный мотор M2.5A2 (002-21040-0AF) - Fig.07 Картер коробки передач (m3.5b2) / Fig.07 Gear Case (m3.5b2)
Номер на
рисунке
АртикулНаименованиеQTYКол-во
на складе
Цена
7-29601-0-6000

* Шариковый подшипник 6000 (* Ball Bearing 6000)

13 шт1650 руб.
7-2SC-BR467

   (не оригинальный аналог) Подшипник гребного вала Tohatsu / Mercury SC-BR467

1под заказпо запросу
7-3338-60218-2

* Анод (* Anode)

11 шт760 руб.
7-4910103-0616

* Болт (* Bolt)

1под заказ170 руб.
7-6332-60005-2

Заглушка (Plug)

26 шт900 руб.
7-6332-60005-3

    (актуальный код замены) Пробка для слива масла - Oil Plug Water Plug

2под заказ900 руб.
7-7332-60006-0

Прокладка (Gasket)

2под заказ160 руб.
7-7332-60006-1

    (актуальный код замены) Прокладка 8.1-15-1 - Gasket 8.1-15-1

2под заказ240 руб.
7-7RTT-332-60006-0

   (не оригинальный аналог) Прокладка RTT-332-60006-0 (уплотнительное кольцо) пробки редуктора

2444 шт70 руб.
7-7T-332-60006-0

   (не оригинальный аналог) Прокладка (уплотнительное кольцо) пробки редуктора Tohatsu 332-60006-0

28 шт120 руб.
7-7SC-FT658

   (не оригинальный аналог) Прокладка (уплотнительное кольцо) пробки редуктора Tohatsu SC-FT658

2142 шт100 руб.
7-7SK332-60006-0_10

   (не оригинальный аналог) Сливная пробка редуктора Skipper для Tohatsu/Mercury Модели техники: 2.5-115, 8.1х15х1.0; комплект 10 шт.

219 шт422 руб.
7-459101E3-5620

Болт (Bolt)

22 шт240 руб.
7-46951503-0435

Шплинт (Split Pin)

128 шт210 руб.
7-47309-64126-1

Срезная шпилька (Shear Pin)

122 шт670 руб.
7-49309-65031-1

* Пыльник 10.6-10.4-4 (* Grommet 10.6-10.4-4)

14 шт460 руб.
7-50314-64103-0

Гребной винт в сборе (Propeller Assy) Plastic OPT 3 x 188 x 110 / пластиковый Опции 3 x 188 x 110

1под заказ4180 руб.
7-50309-64106-0

Гребной винт в сборе (Propeller Assy) Plastic STD A2 3 x 188 x 145 / пластиковый STD A2 3 x 188 x 145

15 шт7440 руб.
7-50SK1000-074-59

   (не оригинальный аналог) Винт гребной Skipper для Tohatsu 2,5-3.5HP композитный, диаметр - 7 1/4", шаг 6"

10 шт1532 руб.
7-503F0B64512-0

Гребной винт в сборе (6") (Propeller Assy (6")) Aluminum W/Rubber Hub OPT 3 x 188 x 145 / Aluminum W / Rubber Hub Опции 3 x 188 x 145

12 шт17320 руб.

Время выполнения запроса 2.7549932003021 сек.

 
 

данный сайт носит информационный характер и не является публичной офертой

склад запчастей для водомоторной техники