Контактный телефон: +7 (981) 121-46-93, +7 (800) 200-90-76 , Email: parts-katalog@yandex.ru, где купить |
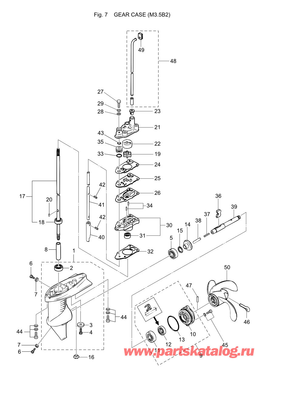
Вернуться к выбору узлов мотора Fig.07 Gear Case (m3.5b2) | ||||||||||||||||||||||||||||||||||||||||||||||||||||||||||||||||||||||||||||||||||||||||||||||||||||||||||||||||||||||||||||||||||||||||||||||||||||||||||||||||
| Номер на рисунке | Артикул | Наименование | QTY | Кол-во на складе | Цена | |
| 7-2 | 9601-0-6000 | * Шариковый подшипник 6000 (* Ball Bearing 6000) | 1 | 3 шт | 1650 руб. | |
| 7-2 | SC-BR467 | (не оригинальный аналог) Подшипник гребного вала Tohatsu / Mercury SC-BR467 | 1 | под заказ | по запросу | |
| 7-3 | 338-60218-2 | * Анод (* Anode) | 1 | 1 шт | 760 руб. | |
| 7-4 | 910103-0616 | * Болт (* Bolt) | 1 | под заказ | 170 руб. | |
| 7-6 | 332-60005-2 | Заглушка 8-8 (Plug 8-8) | 2 | 6 шт | 900 руб. | |
| 7-6 | 332-60005-3 | (актуальный код замены) Пробка для слива масла - Oil Plug Water Plug | 2 | под заказ | 900 руб. | |
| 7-7 | 332-60006-0 | Прокладка 8.1-15-1 (Gasket 8.1-15-1) | 2 | под заказ | 160 руб. | |
| 7-7 | 332-60006-1 | (актуальный код замены) Прокладка 8.1-15-1 - Gasket 8.1-15-1 | 2 | под заказ | 240 руб. | |
| 7-7 | RTT-332-60006-0 | (не оригинальный аналог) Прокладка RTT-332-60006-0 (уплотнительное кольцо) пробки редуктора | 2 | 444 шт | 70 руб. | |
| 7-7 | T-332-60006-0 | (не оригинальный аналог) Прокладка (уплотнительное кольцо) пробки редуктора Tohatsu 332-60006-0 | 2 | 8 шт | 120 руб. | |
| 7-7 | SC-FT658 | (не оригинальный аналог) Прокладка (уплотнительное кольцо) пробки редуктора Tohatsu SC-FT658 | 2 | 142 шт | 100 руб. | |
| 7-7 | SK332-60006-0_10 | (не оригинальный аналог) Сливная пробка редуктора Skipper для Tohatsu/Mercury Модели техники: 2.5-115, 8.1х15х1.0; комплект 10 шт. | 2 | 19 шт | 422 руб. | |
| 7-45 | 9101E3-5620 | Болт (Bolt) | 2 | 2 шт | 240 руб. | |
| 7-46 | 951503-0435 | Шплинт 4-35 (Split Pin 4-35) | 1 | 28 шт | 210 руб. | |
| 7-47 | 309-64126-1 | Срезная шпилька 4-24 (Shear Pin 4-24) | 1 | 22 шт | 670 руб. | |
| 7-49 | 309-65031-1 | * Пыльник (* Grommet) | 1 | 4 шт | 460 руб. | |
| 7-50 | 314-64103-0 | Гребной винт в сборе (4.5") (Propeller Assy (4.5")) Plastic OPT 3 x 188 x 110 / пластиковый Опции 3 x 188 x 110 | 1 | под заказ | 4180 руб. | |
| 7-50 | 309-64106-0 | Гребной винт в сборе (6") (Propeller Assy (6")) Plastic M2.5/3.5A2 STD A2 3 x 188 x 145 / пластиковый M2.5 / 3.5A2 STD A2 3 x 188 x 145 | 1 | 5 шт | 7440 руб. | |
| 7-50 | SK1000-074-59 | (не оригинальный аналог) Винт гребной Skipper для Tohatsu 2,5-3.5HP композитный, диаметр - 7 1/4", шаг 6" | 1 | 0 шт | 1532 руб. | |
| 7-50 | 3F0B64512-0 | Гребной винт в сборе (6") (Propeller Assy (6")) Aluminum W/Rubber Hub OPT 3 x 188 x 145 / Aluminum W / Rubber Hub Опции 3 x 188 x 145 | 1 | 2 шт | 17320 руб. | |
Время выполнения запроса 2.7699830532074 сек.
склад запчастей для водомоторной техники