Контактный телефон: +7 (981) 121-46-93, +7 (800) 200-90-76 , Email: parts-katalog@yandex.ru, где купить |
Вернуться к выбору узлов мотора Electric Starter | ||||||||||||||||||||||||||||||||||||||||||||||||||||||||||||||||||||||||||||||||||||||||||||||||||||||||||||||||||||||||||||||||||||||||||||||||||||||||||||||||||||||||||||||||||||||||||||||||||||||||||||||||||||||||||||||||||||||||||||||||||||||||||||||||||||||||||||||||||||||||||||||||||||||||||||||||||||||
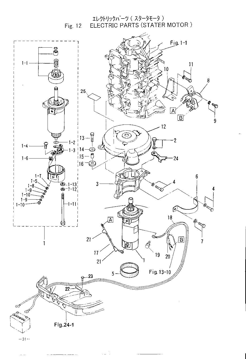
| Номер на рисунке | Артикул | Наименование | QTY | Кол-во на складе | Цена | |
| 01 | 3C8-76010-1 | Двигатель стартера в сборе (Starter Motor Assy) | под заказ | 69770 руб. | ||
| 01 | 3RS-76010-0 | (актуальный код замены) Двигатель стартера в сборе - Starter Motor Assy | под заказ | 48140 руб. | ||
| 01 | PH130-0006 | (не оригинальный аналог) Электростартер двигателя Suzuki / Tohatsu / Nissan / Mercury / Mariner PH130-0006 | под заказ | 23260 руб. | ||
| 01 | SC-OT838 | (не оригинальный аналог) Электростартер двигателя Suzuki / Tohatsu / Nissan / Mercury / Mariner SC-OT838 | под заказ | 15140 руб. | ||
| 01-01 | 3C8-76015-0 | Комплект шестерёнок (Pinion Assy) | под заказ | 21810 руб. | ||
| 01-02 | 3C8-75015-0 | Шайба (Washer) | под заказ | 610 руб. | ||
| 01-03 | 3C8-75014-0 | Держатель втулки в сборе (Brush Holder Assy) | под заказ | 5950 руб. | ||
| 01-04 | 921521-6408 | Винт (Screw) | под заказ | 130 руб. | ||
| 01-05 | 3C8-75016-0 | Втулка 1 (Bushing 1) | под заказ | 380 руб. | ||
| 01-06 | 3C8-75017-0 | Втулка 2 (Bushing 2) | под заказ | 380 руб. | ||
| 01-07 | 3C8-75018-0 | Уплотнительное кольцо (O-ring) | под заказ | 260 руб. | ||
| 01-08 | 940103-0600 | Шайба - замена 940113-0600 (Washer - замена 940113-0600) | под заказ | 130 руб. | ||
| 01-08 | 940113-0600 | Шайба - (Washer - ) | 2 шт | 90 руб. | ||
| 01-09 | 941303-0600 | Пружинная шайба (Spring Washer) | 4 шт | 150 руб. | ||
| 01-10 | 930203-0600 | Гайка (Nut) | под заказ | 130 руб. | ||
| 01-11 | 3C8-75019-0 | Болт (Bolt) | под заказ | 950 руб. | ||
| 02 | 910103-5825 | Болт (Bolt) | под заказ | 280 руб. | ||
| 03 | 3C8B05101-0 | Bracket Двигатель стартера (Bracket Starter Motor) | под заказ | 5040 руб. | ||
| 05 | 3C8-76007-0 | Rubber Двигатель стартера (Rubber Starter Motor) | под заказ | 380 руб. | ||
| 06 | 3C8-76009-0 | Ремешок Двигатель стартера (Band Starter Motor) | под заказ | 780 руб. | ||
| 07 | 910103-5820 | Болт (Bolt) | под заказ | 280 руб. | ||
| 08 | 346-76040-0 | Соленоид стартера (Starter Solenoid) | под заказ | 9400 руб. | ||
| 09 | 910103-6616 | Болт (Bolt) | 9 шт | 210 руб. | ||
| 10 | 3C8-71035-0 | Plate Топливный фильтр (Plate Fuel Filter) | под заказ | 1090 руб. | ||
| 11 | 910103-6614 | Болт (Bolt) | под заказ | 190 руб. | ||
| 12 | 3C8-06301-0 | Крышка или колпачок Ring Gear (Cover Ring Gear) | под заказ | 2910 руб. | ||
| 13 | 910103-0625 | Болт (Bolt) | 2 шт | 170 руб. | ||
| 14 | 3C8-66308-0 | Шайба 6-16-1.5 (Washer 6-16-1.5) | под заказ | 170 руб. | ||
| 15 | 353-76079-0 | Воротник 6.2-9-9.3 (Collar 6.2-9-9.3) | под заказ | 300 руб. | ||
| 16 | 3B7-06305-0 | Крепёжная резинка 9-16-4.3 (Mount Rubber 9-16-4.3) | под заказ | 130 руб. | ||
| 17 | 3C8-76141-0 | Стартер Cord (Starter Cord) | под заказ | 1520 руб. | ||
| 18 | 3B7-76120-0 | Провод аккумулятора (Battery Cord) | под заказ | 15280 руб. | ||
| 18 | 3B7-76120-2 | (актуальный код замены) Кабель аккумулятора - Battery Cable | под заказ | 15280 руб. | ||
| 19 | 910103-6612 | Болт (Bolt) | 2 шт | 190 руб. | ||
| 20 | 3B7-76145-0 | Колпачок (Terminal Cap) | под заказ | 360 руб. | ||
| 21 | 3A3-76145-0 | Cap Стартер Terminal (Cap Starter Terminal) | под заказ | 360 руб. | ||
| 22 | 309-06972-0 | Струбцина (Clamp) | под заказ | 240 руб. | ||
| 22 | 3PR-06972-0 | (актуальный код замены) Струбцина - Clamp | под заказ | 210 руб. | ||
| 23 | 910103-0610 | Болт (Bolt) | под заказ | 130 руб. | ||
| 24 | 3C8-06105-0 | Стопор пластины катушки (Stopper Coil Plate) | под заказ | 510 руб. | ||
| 25 | 3C7-72182-2 | Предупреждающая этикетка (ce-c) (Caution Label (ce-c)) | под заказ | 260 руб. | ||
Время выполнения запроса 8.4142019748688 сек.
склад запчастей для водомоторной техники