вконтакте

Контактный телефон: +7 (981) 121-46-93, +7 (800) 200-90-76 , Email: parts-katalog@yandex.ru, где купить

 
 

  Логин:

Пароль:

Регистрация

www.partskatalog.ru Все каталоги Запчасти Mercury Запчасти Suzuki Запчасти Tohatsu Запчасти Honda Контакты



УВАЖАЕМЫЕ КЛИЕНТЫ!
C 19 ДЕКАБРЯ 2025 ПО 02 МАРТА 2026 ГОДА ОТДЕЛ ЗАПЧАСТЕЙ И СЕРВИС РАБОТАТЬ НЕ БУДУТ
ПРОДАЖА ЛОДОЧНЫХ МОТОРОВ В ШТАТНОМ РЕЖИМЕ
ОБ ИЗМЕНЕНИЯХ В ГРАФИКЕ РАБОТЫ ЧИТАЙТЕ НА САЙТА



назад Раздел:   вперёд

Вернуться к выбору узлов мотора

   Tiller Handle
Румпель      


ДЕТАЛИРОВКА ДЛЯ МОДЕЛИ: TOHATSU MFS2B 0221052-6

Двигатель 
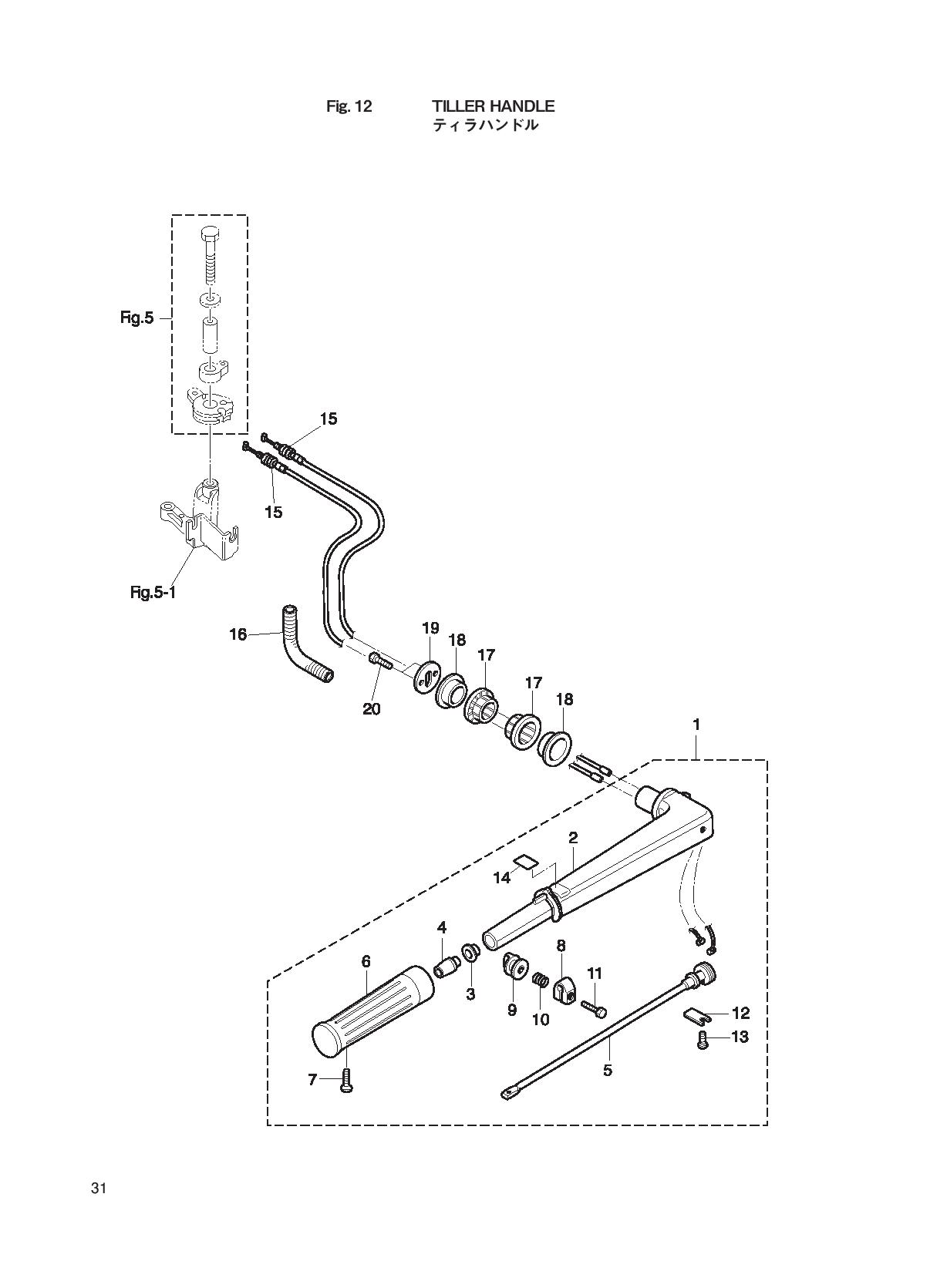
 MFS2B 0221052-6 - Tiller Handle
Номер на
рисунке
АртикулНаименованиеQTYКол-во
на складе
Цена
013GTQ63003-0

Румпель в сборе (Tiller Handle Assy)

под заказ13710 руб.
023V1Q63011-3

Румпель (Tiller Handle)

под заказнет сведений
033H6-63510-0

Втулка 14-15.8-7 (Bushing 14-15.8-7)

под заказ210 руб.
043H6-63048-0

Резинка вала дросселя (Rubber Shrottle Shaft)

под заказ210 руб.
053V1-63041-0

Вал дросселя (Throttle Shaft)

под заказ1880 руб.
063R3-63012-0

Рукоятка (Grip)

под заказ2280 руб.
07920803-0518

Винт (Screw)

под заказ170 руб.
083V1-63035-1

Фрикционная деталь (Friction Picece)

4 шт560 руб.
093V1-63077-0

Регулировочная гайка (Adjusting Nut)

под заказ650 руб.
103V1-63036-0

Пружина (Spring)

под заказ270 руб.
11910103-0625

Болт (Bolt)

2 шт170 руб.
123B2-63063-0

Поддержка вала дросселя (Supporter Throttle Shaft)

под заказ260 руб.
13921503-0612

Винт (Screw)

под заказ170 руб.
153V1-63600-0

Тросик дросселя (Throttle Wire)

под заказ2750 руб.
163H9-70313-0

Protector Fuel Pipe (Protector Fuel Pipe)

под заказ380 руб.
173AB-63102-0

Врулка румпеля (Bushing Handle)

под заказ470 руб.
183BR-63102-1

Врулка румпеля (Bushing Handle)

под заказ550 руб.
193AB-63107-0

Крышка или колпачок (Cover)

под заказ570 руб.
20910103-0616

Болт (Bolt)

под заказ170 руб.

Время выполнения запроса 2.2899651527405 сек.

 
 

данный сайт носит информационный характер и не является публичной офертой

склад запчастей для водомоторной техники