вконтакте

Контактный телефон: +7 (981) 121-46-93, +7 (800) 200-90-76 , Email: parts-katalog@yandex.ru, где купить

 
 

  Логин:

Пароль:

Регистрация

www.partskatalog.ru Все каталоги Запчасти Mercury Запчасти Suzuki Запчасти Tohatsu Запчасти Honda Контакты

Раздел:   вперёд

Вернуться к выбору узлов мотора

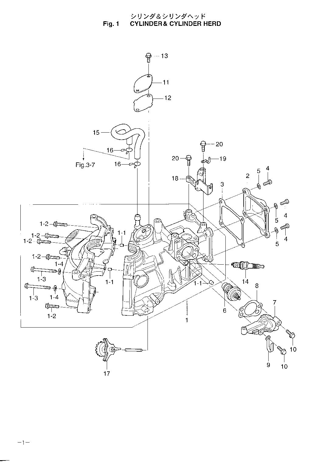
   Cylinder, Cylinder Head
Цилиндр, Головка блока цилиндра      


ДЕТАЛИРОВКА ДЛЯ МОДЕЛИ: TOHATSU MFS2A 00221052-0

Подвесной четырёхтактный лодочный двигатель 
 MFS2A 00221052-0 - Cylinder, Cylinder Head / Цилиндр, Головка блока цилиндра
Номер на
рисунке
АртикулНаименованиеQTYКол-во
на складе
Цена
01345-01111-0

Шпонка 6-12 (Dowel Pin 6-12)

под заказ210 руб.
013ABB01100-0

Cylinder Crank Cace (Cylinder Crank Cace)

под заказнет сведений
023ABB01021-0

Головка блока цилиндра Крышка или колпачок (Cylinder Head Cover)

под заказ5270 руб.
033AB-01024-0

Головка блока цилиндра Крышка или колпачок - замена 3ab-01024-1 (Cylinder Head Cover - замена 3ab-01024-1)

под заказ550 руб.
033AB-01024-1

    (актуальный код замены) Крышка головки цилиндра - Cylinder Head Cover

2 шт950 руб.
04910121-0616

Болт (Bolt)

под заказ210 руб.
04940113-0600

Шайба (Washer)

2 шт90 руб.
053C8-66308-0

Шайба 6-16-1.5 (Washer 6-16-1.5)

под заказ170 руб.
063H6-01030-0

Термостат (Thermostat)

5 шт5690 руб.
073ABB01031-0

Колпачок термостата (Thermostat Cap)

под заказ5120 руб.
083AB-01032-0

Колпачок термостата Прокладка (Thermostat Cap Gasket)

5 шт420 руб.
09398-06972-0

Струбцина 6.5-67p (Clamp 6.5-67p)

под заказ260 руб.
113AB-07431-0

Крышка камеры сапуна (Breather Chamber Cover)

под заказ470 руб.
123AB-07432-0

Прокладка Крышка камеры сапуна (Gasket Breather Chamber Cover)

под заказ400 руб.
153AB-07435-0

Breather Шланг (Breather Hose)

под заказ1220 руб.
163C7-02215-0

Зажим (Clip)

под заказ170 руб.
173AB-07640-0

Slinger (Slinger)

3 шт850 руб.
183AB-63508-0

Дроссель Cable Brack - замена 3abb63508-0 (Throttle Cable Brack - замена 3abb63508-0)

под заказ470 руб.
183ABB63508-0

    (актуальный код замены) Тросик дросселя Кронштейн - Throttle Cable Bracket

под заказ2380 руб.

Время выполнения запроса 3.4852888584137 сек.

 
 

данный сайт носит информационный характер и не является публичной офертой

склад запчастей для водомоторной техники