Контактный телефон: +7 (981) 121-46-93, +7 (800) 200-90-76 , Email: parts-katalog@yandex.ru, где купить |
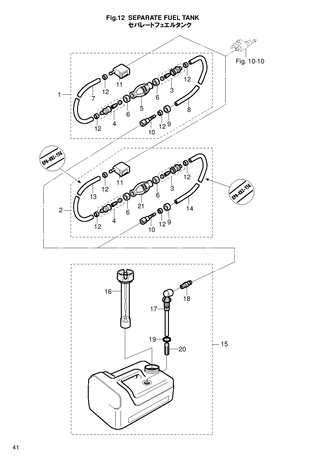
Вернуться к выбору узлов мотора Separate Fuel Tank | |||||||||||||||||||||||||||||||||||||||||||||||||||||||||||||||||||||||||||||||||||||||||||||||||||||||||||||||||||||||||||||||||||||||||||||||||||||||||||||||||||||||||||||||||||||||||||||||||||||||||||||||||||||||||||||||||||||||||
| Номер на рисунке | Артикул | Наименование | QTY | Кол-во на складе | Цена | |
| 01 | 3H6-70200-1 | Primer Bulb в сборе замена 3h6-70200-2 (Primer Bulb Assy замена 3h6-70200-2) | под заказ | 11010 руб. | ||
| 01 | 3H6-70200-2 | (актуальный код замены) Топливный шланг с грушей и коннекторами - Primer Bulb Assy | 4 шт | 11670 руб. | ||
| 02 | 3AC-70200-3 | Primer Bulb Ass (Primer Bulb Ass) | под заказ | 10120 руб. | ||
| 02 | 3AD-70200-2 | (актуальный код замены) Топливный шланг с грушей и коннекторами - Primer Bulb Assy | под заказ | 19450 руб. | ||
| 03 | 3C7-70220-1 | Joint A в сборе In (Joint A Assy In) | под заказ | 1050 руб. | ||
| 04 | 3C7-70224-1 | Joint A в сборе Out (Joint A Assy Out) | под заказ | 1050 руб. | ||
| 05 | 3C7-70211-1 | Primer Bulb (Primer Bulb) | под заказ | 2240 руб. | ||
| 06 | 3C7-70217-0 | Струбцина (Clamp) | под заказ | 360 руб. | ||
| 07 | 98AB-70-700 | Резиновая трубка (Rubber Pipe) | под заказ | 940 руб. | ||
| 07 | 98AB-701000 | (актуальный код замены) Резиновая трубка - Rubber Pipe | под заказ | 1680 руб. | ||
| 09 | 3B7-70280-1 | Mark Топливный коннектор (Mark Fuel Connector) | под заказ | 240 руб. | ||
| 10 | 3GF-70281-0 | Топливный коннектор (3b2-70281-0) (Fuel Connector (3b2-70281-0)) | под заказ | 3670 руб. | ||
| 10 | 3B2-70281-0 | Топливный коннектор (Fuel Connector) | под заказ | 3350 руб. | ||
| 11 | 394-70250-0 | Топливный коннектор замена 3gr-70250-0 (Fuel Connector замена 3gr-70250-0) | под заказ | 2670 руб. | ||
| 11 | 3GR-70250-0 | (актуальный код замены) Топливный коннектор - Fuel Connector | 4 шт | 3250 руб. | ||
| 12 | 332-70201-0 | Струбцина (Clamp) | под заказ | 340 руб. | ||
| 13 | 3GF-70241-0 | Шланг (Hose) | под заказ | 3890 руб. | ||
| 13 | 3GF-70241-1 | (актуальный код замены) Шланг с низкой проницаемостью - Low Permeation Hose | под заказ | 3890 руб. | ||
| 14 | 3GF-70240-0 | Шланг (Hose) | под заказ | 7780 руб. | ||
| 14 | 3GF-70240-1 | (актуальный код замены) Шланг с низкой проницаемостью - Low Permeation Hose | под заказ | 7780 руб. | ||
| 15 | 3B2-70167-0 | Топливный бак в сборе (12l) (Fuel Tank Assy (12l)) | под заказ | 21120 руб. | ||
| 15 | 3B2-70167-1 | (актуальный код замены) Топливный бак Ass~y (12L) - Fuel Tank Ass~y (12l) | под заказ | 22120 руб. | ||
| 15 | 3E0-70270-0 | Male Quick Connect (Male Quick Connect) | под заказ | 3590 руб. | ||
| 15 | SF80211-3 | (не оригинальный аналог) Адаптер топливный SUNFINE тип Suzuki, Mercury, Tohatsu 3E0-70270-0 | 1 шт | 1270 руб. | ||
| 16 | 3B2-70050-1 | Fuel Gauge Vented Cap в сборе (Fuel Gauge Vented Cap Assy) | под заказ | 4400 руб. | ||
| 16 | 3C7-70199-0 | Уплотнительное кольцо (O-ring) | под заказ | 180 руб. | ||
| 17 | 3B2-70155-0 | Fuel Pickвыше (Fuel Pickup) | под заказ | 1840 руб. | ||
| 17 | 3C7-70113-0 | Фильтр (Filter) | 2 шт | 470 руб. | ||
| 18 | 3GF-70211-0 | Primer Bulb (Primer Bulb) | под заказ | 7120 руб. | ||
| 18 | 3GF-70211-1 | (актуальный код замены) Топливная груша - Primer Bulb | под заказ | 7660 руб. | ||
Время выполнения запроса 2.2812881469727 сек.
склад запчастей для водомоторной техники